Est. March 2001  ·  10,246 Listings on File

Padlock Patent — Keyed

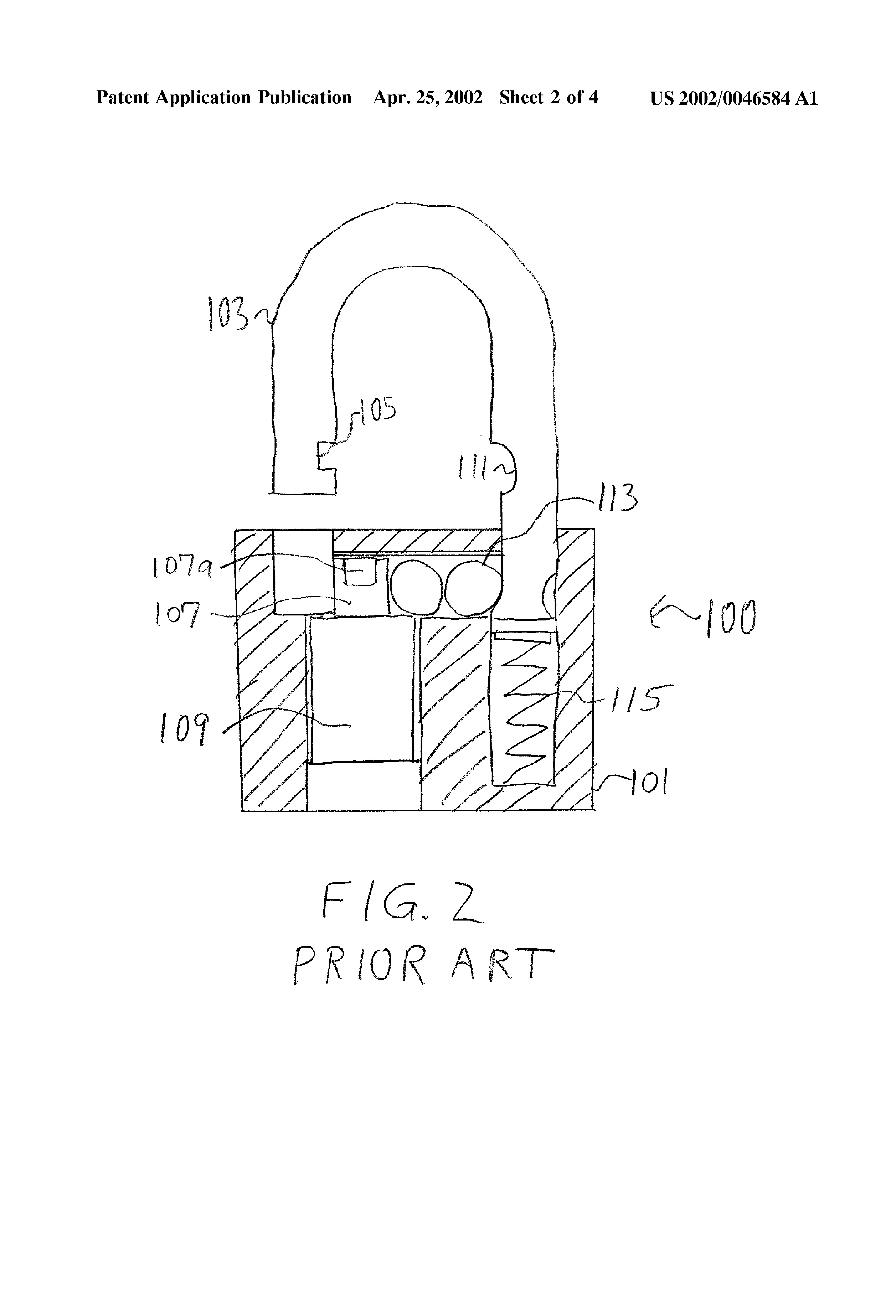
Patent 20020046584

Inventor: Jerry Lumpkin

View on USPTO / Google Patents ↗
Patent # 20020046584
Issue Date 2001-10-23
Inventor Jerry Lumpkin
Assigned To Assa Abloy High Security Group Inc
Type Keyed

Patent Drawings

Patent Details

Patent Number 20020046584
Issue Date 2001-10-23
Inventor Jerry Lumpkin
Assigned To Assa Abloy High Security Group Inc
Patent Type Keyed
External Link https://patents.google.com/patent/US20020046584/en ↗
↑ Back to Patent Database