Est. March 2001 ·
10,246
Listings on File
Antique Padlocks
A Virtual Repository · James Brady
Home
›
Patent Database
›
Patent 20020078720
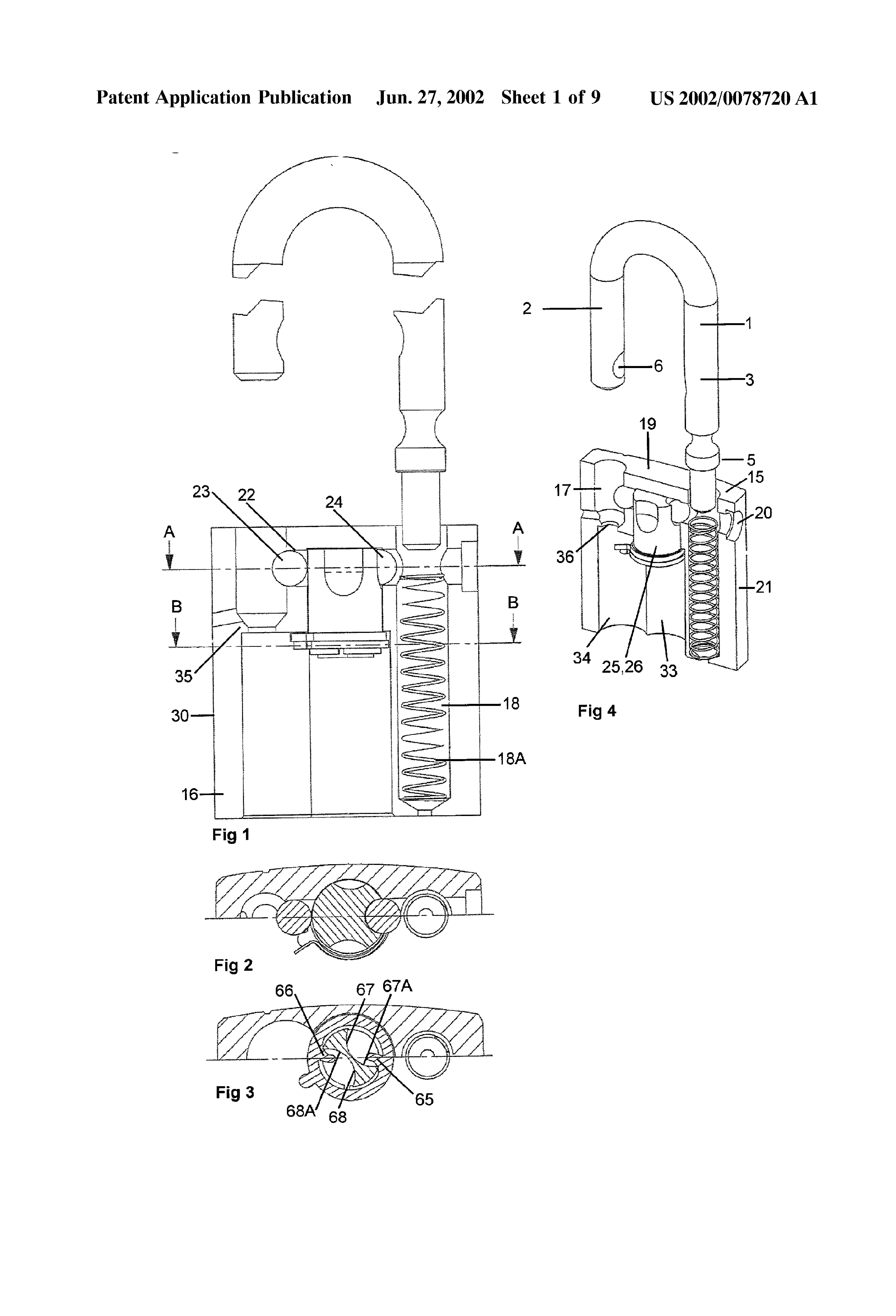
Padlock Patent — Keyed
Patent 20020078720
Inventor:
John Watts
View on USPTO / Google Patents ↗
Patent #
20020078720
Issue Date
2001-10-01
Inventor
John Watts
Assigned To
Yarra Ridge Pty Ltd
Type
Keyed
Patent Drawings
Drawing 1
Drawing 2
Drawing 3
Patent Details
Patent Number
20020078720
Issue Date
2001-10-01
Inventor
John Watts
Assigned To
Yarra Ridge Pty Ltd
Patent Type
Keyed
External Link
https://patents.google.com/patent/US20020078720/en ↗
← 20020088256
↑ Back to Patent Database
20020088256 →