Est. March 2001 ·
10,246
Listings on File
Antique Padlocks
A Virtual Repository · James Brady
Home
›
Patent Database
›
Patent 6675614
Padlock Patent — Combo
Patent 6675614
Inventor:
Eric Lai
View on USPTO / Google Patents ↗
Patent #
6675614
Issue Date
2002-02-13
Inventor
Eric Lai
Assigned To
SUN LOCK COMPANY
Type
Combo
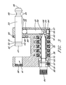
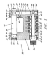
Patent Drawings
Drawing 1
Drawing 2
Drawing 3
Drawing 4
Drawing 5
Drawing 6
Drawing 7
Drawing 8
Patent Details
Patent Number
6675614
Issue Date
2002-02-13
Inventor
Eric Lai
Assigned To
SUN LOCK COMPANY
Patent Type
Combo
External Link
https://patents.google.com/patent/US6675614/en ↗
← 6708534
↑ Back to Patent Database
6708534 →