Est. March 2001 ·
10,247
Listings on File
Antique Padlocks
A Virtual Repository · James Brady
Home
›
Patent Database
›
Patent 6408660
Padlock Patent — Combo
Patent 6408660
Inventor:
Eric Lai
View on USPTO / Google Patents ↗
Patent #
6408660
Issue Date
2000-12-29
Inventor
Eric Lai
Assigned To
Sun Lock Co Ltd
Type
Combo
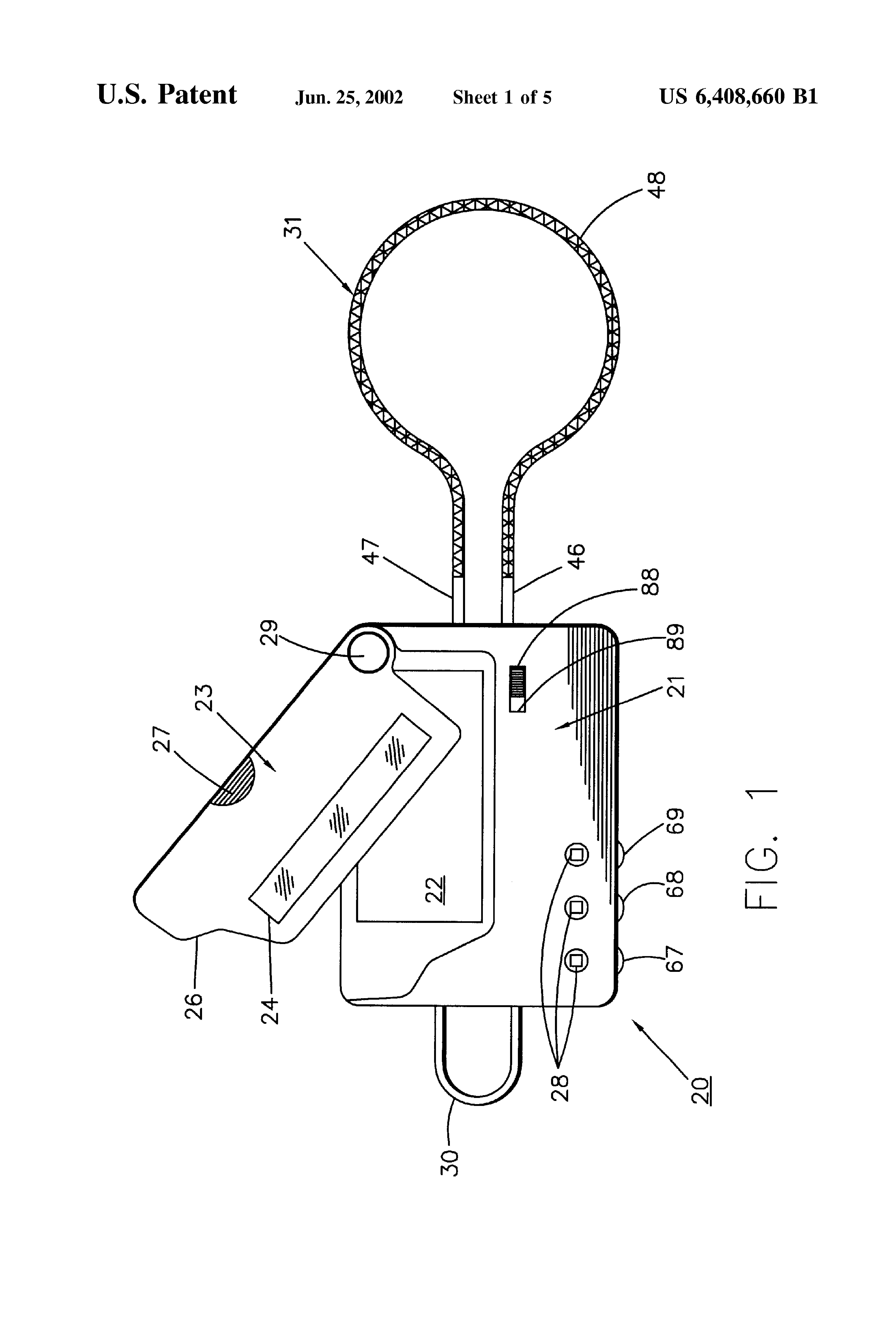
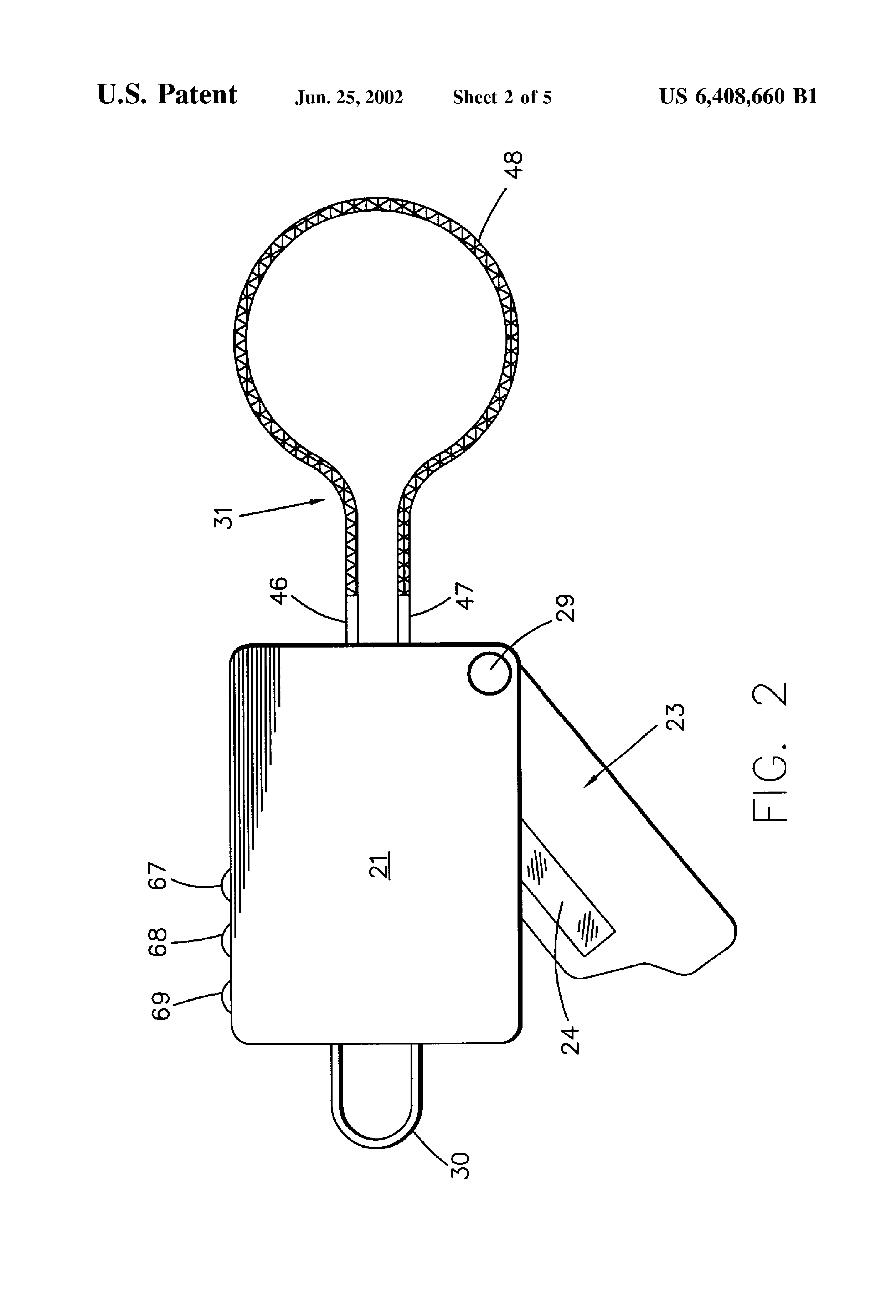
Patent Drawings
Drawing 1
Drawing 2
Drawing 3
Patent Details
Patent Number
6408660
Issue Date
2000-12-29
Inventor
Eric Lai
Assigned To
Sun Lock Co Ltd
Patent Type
Combo
External Link
https://patents.google.com/patent/US6408660/en ↗
← 6439006
↑ Back to Patent Database
6439006 →