Est. March 2001 ·
10,247
Listings on File
Antique Padlocks
A Virtual Repository · James Brady
Home
›
Patent Database
›
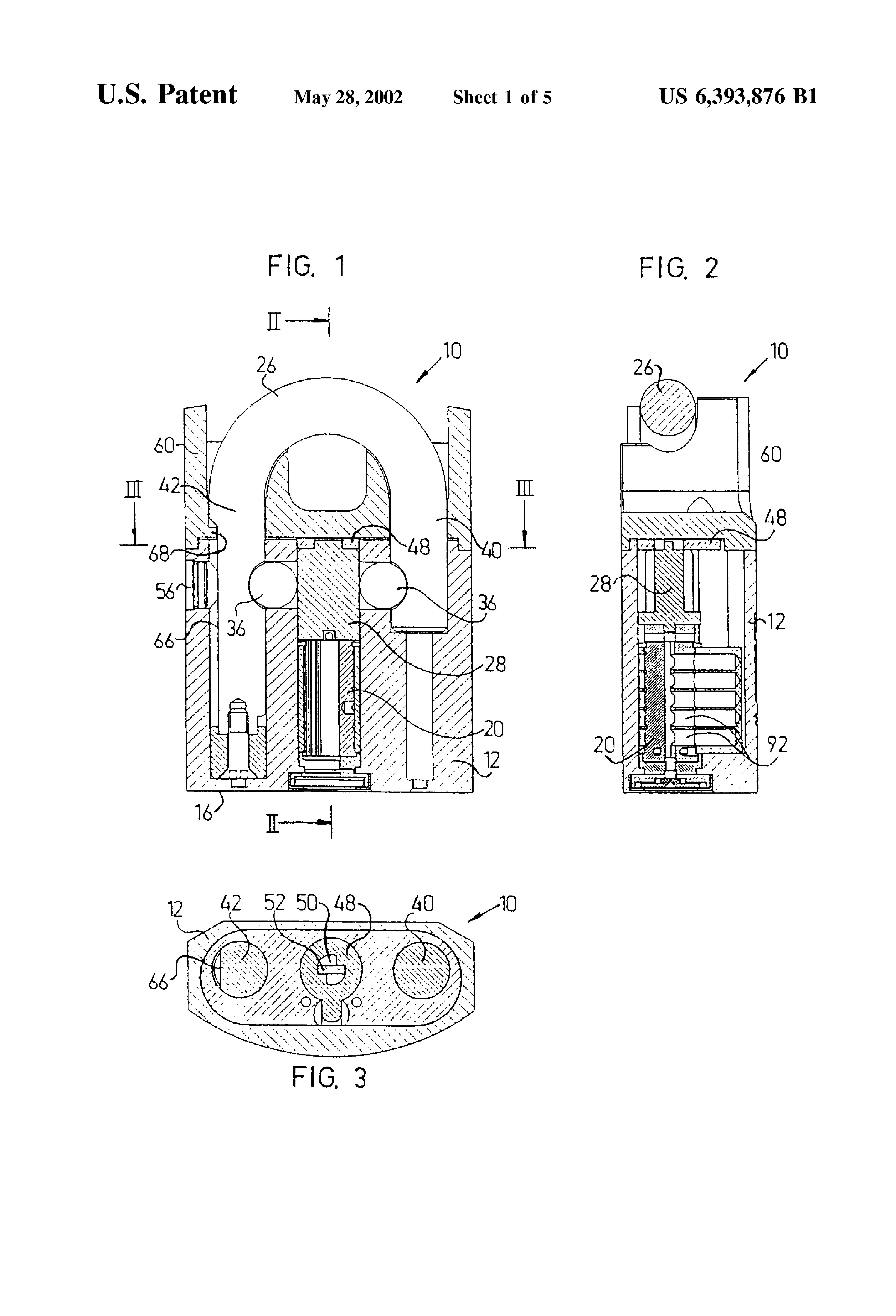
Patent 6393876
Padlock Patent — Keyed
Patent 6393876
Inventor:
Adalbert Matyko
View on USPTO / Google Patents ↗
Patent #
6393876
Issue Date
1998-11-16
Inventor
Adalbert Matyko
Assigned To
Mul T Lock Technologies Ltd
Type
Keyed
Patent Drawings
Drawing 1
Drawing 2
Drawing 3
Patent Details
Patent Number
6393876
Issue Date
1998-11-16
Inventor
Adalbert Matyko
Assigned To
Mul T Lock Technologies Ltd
Patent Type
Keyed
External Link
https://patents.google.com/patent/US6393876/en ↗
← 6401501
↑ Back to Patent Database
6401501 →