Est. March 2001 ·
10,247
Listings on File
Antique Padlocks
A Virtual Repository · James Brady
Home
›
Patent Database
›
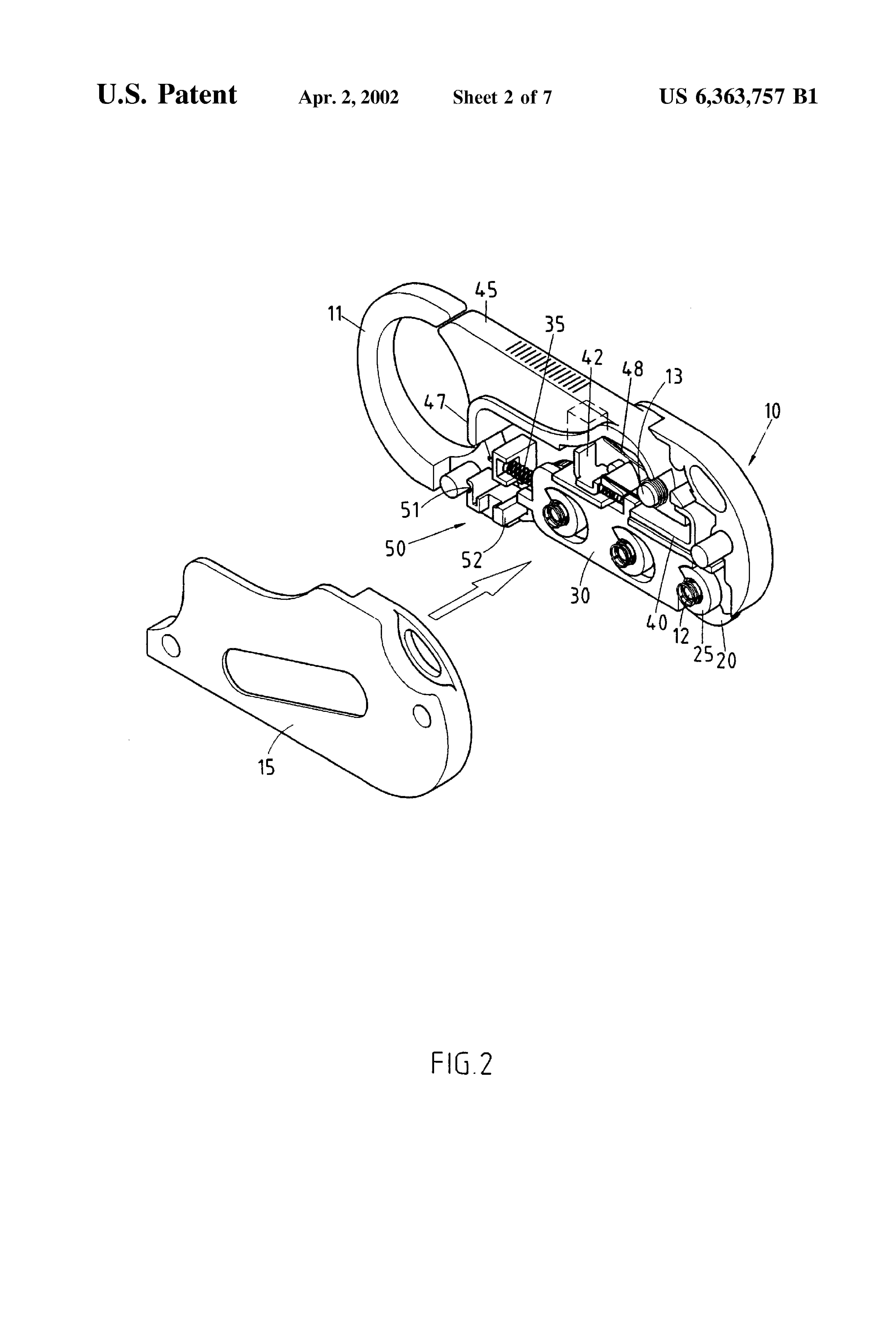
Patent 6363757
Padlock Patent — Combo
Patent 6363757
Inventor:
Chun-Te Yu
View on USPTO / Google Patents ↗
Patent #
6363757
Issue Date
2001-02-01
Inventor
Chun-Te Yu
Type
Combo
Patent Drawings
Drawing 1
Drawing 2
Drawing 3
Patent Details
Patent Number
6363757
Issue Date
2001-02-01
Inventor
Chun-Te Yu
Patent Type
Combo
External Link
https://patents.google.com/patent/US6363757/en ↗
← 6374645
↑ Back to Patent Database
6374645 →