Est. March 2001 ·
10,247
Listings on File
Antique Padlocks
A Virtual Repository · James Brady
Home
›
Patent Database
›
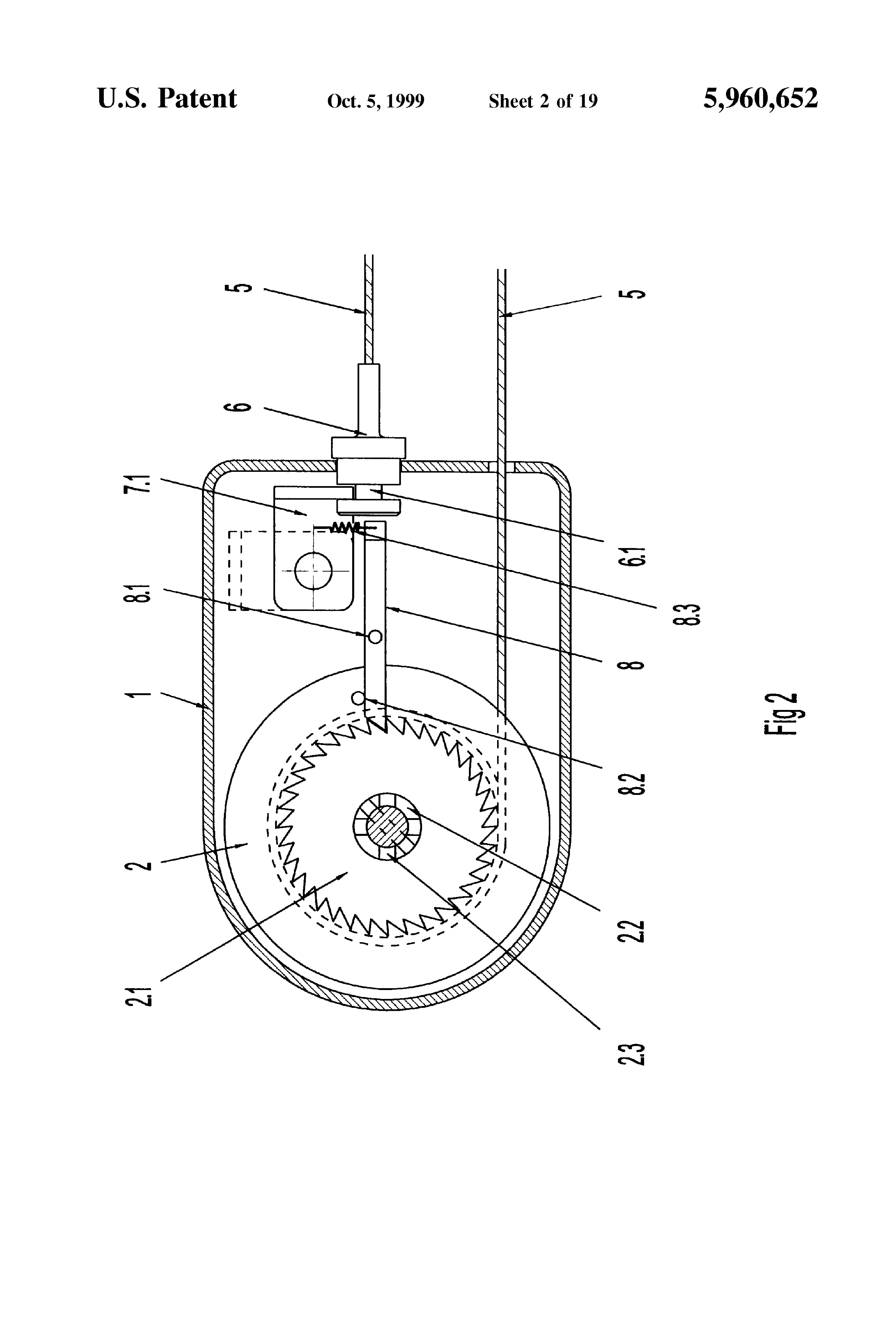
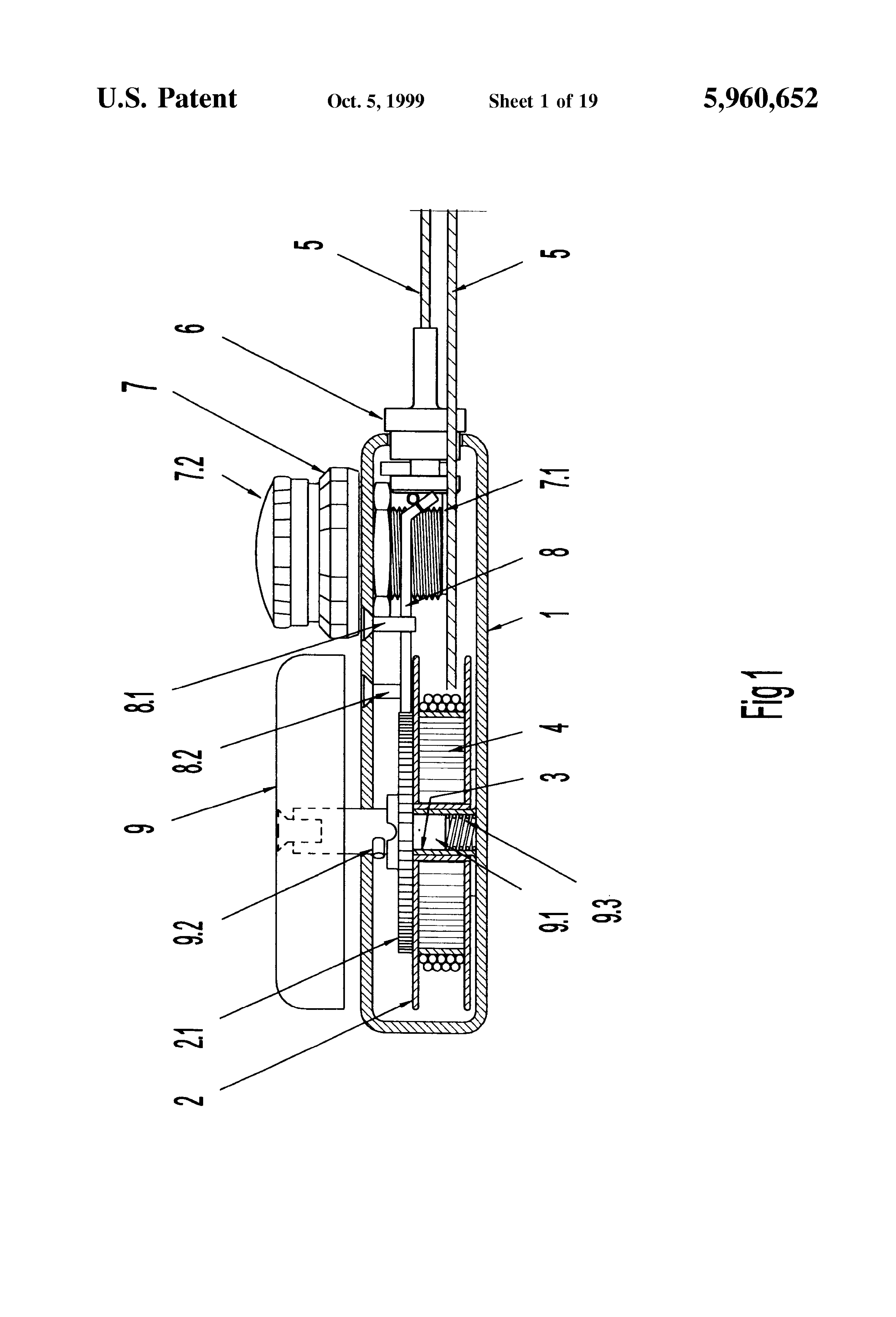
Patent 5960652
Padlock Patent — Keyed
Patent 5960652
Inventor:
Jan Marmstad
View on USPTO / Google Patents ↗
Patent #
5960652
Issue Date
1998-07-24
Inventor
Jan Marmstad
Type
Keyed
Patent Drawings
Drawing 1
Drawing 2
Drawing 3
Patent Details
Patent Number
5960652
Issue Date
1998-07-24
Inventor
Jan Marmstad
Patent Type
Keyed
External Link
https://patents.google.com/patent/US5960652/en ↗
← 5964107
↑ Back to Patent Database
5964107 →