Est. March 2001 ·
10,247
Listings on File
Antique Padlocks
A Virtual Repository · James Brady
Home
›
Patent Database
›
Patent 5924313
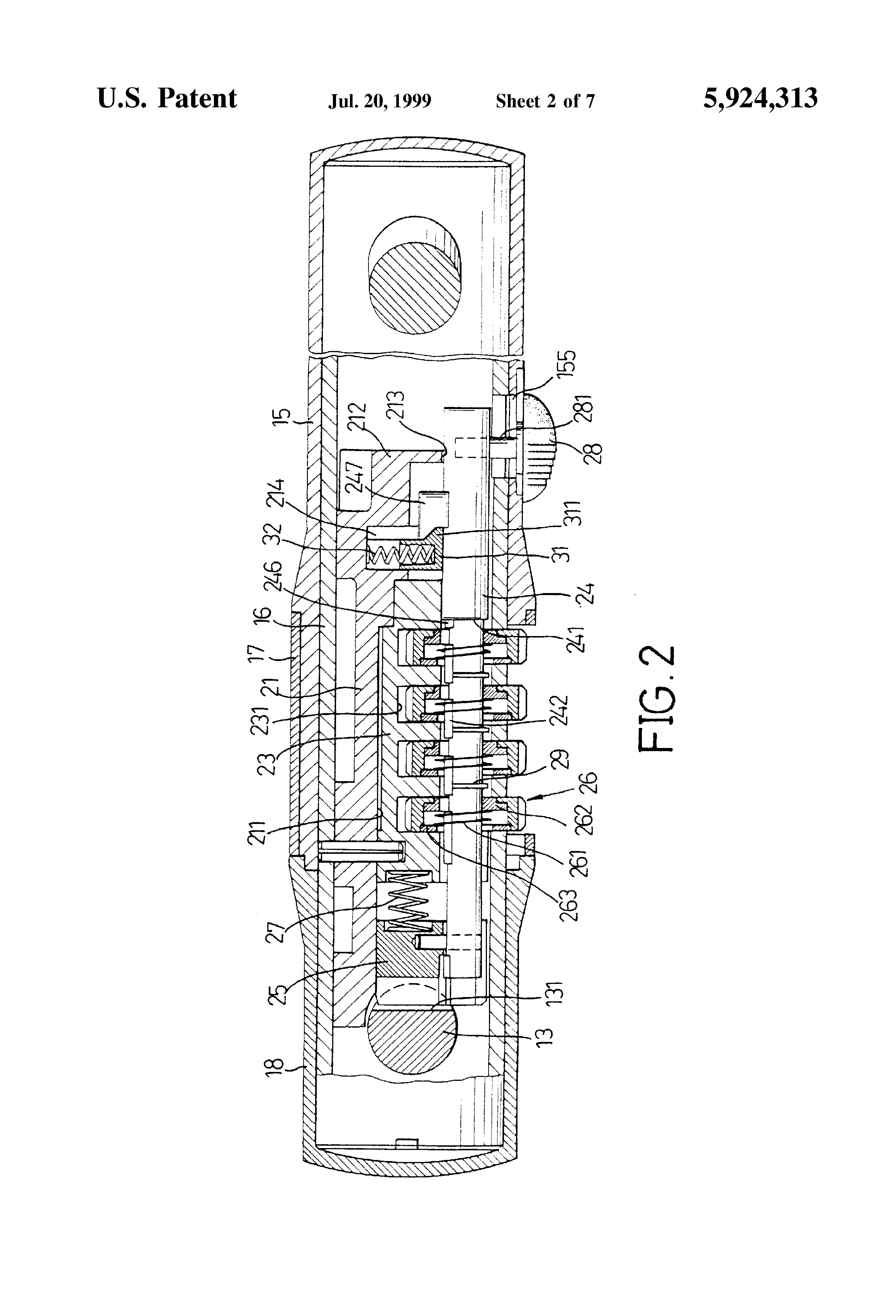
Padlock Patent — Combo
Patent 5924313
Inventor:
Lambert Kuo
View on USPTO / Google Patents ↗
Patent #
5924313
Issue Date
1998-09-09
Inventor
Lambert Kuo
Type
Combo
Patent Drawings
Drawing 1
Drawing 2
Drawing 3
Patent Details
Patent Number
5924313
Issue Date
1998-09-09
Inventor
Lambert Kuo
Patent Type
Combo
External Link
https://patents.google.com/patent/US5924313/en ↗
← 5931030
↑ Back to Patent Database
5931030 →