Est. March 2001 ·
10,247
Listings on File
Antique Padlocks
A Virtual Repository · James Brady
Home
›
Patent Database
›
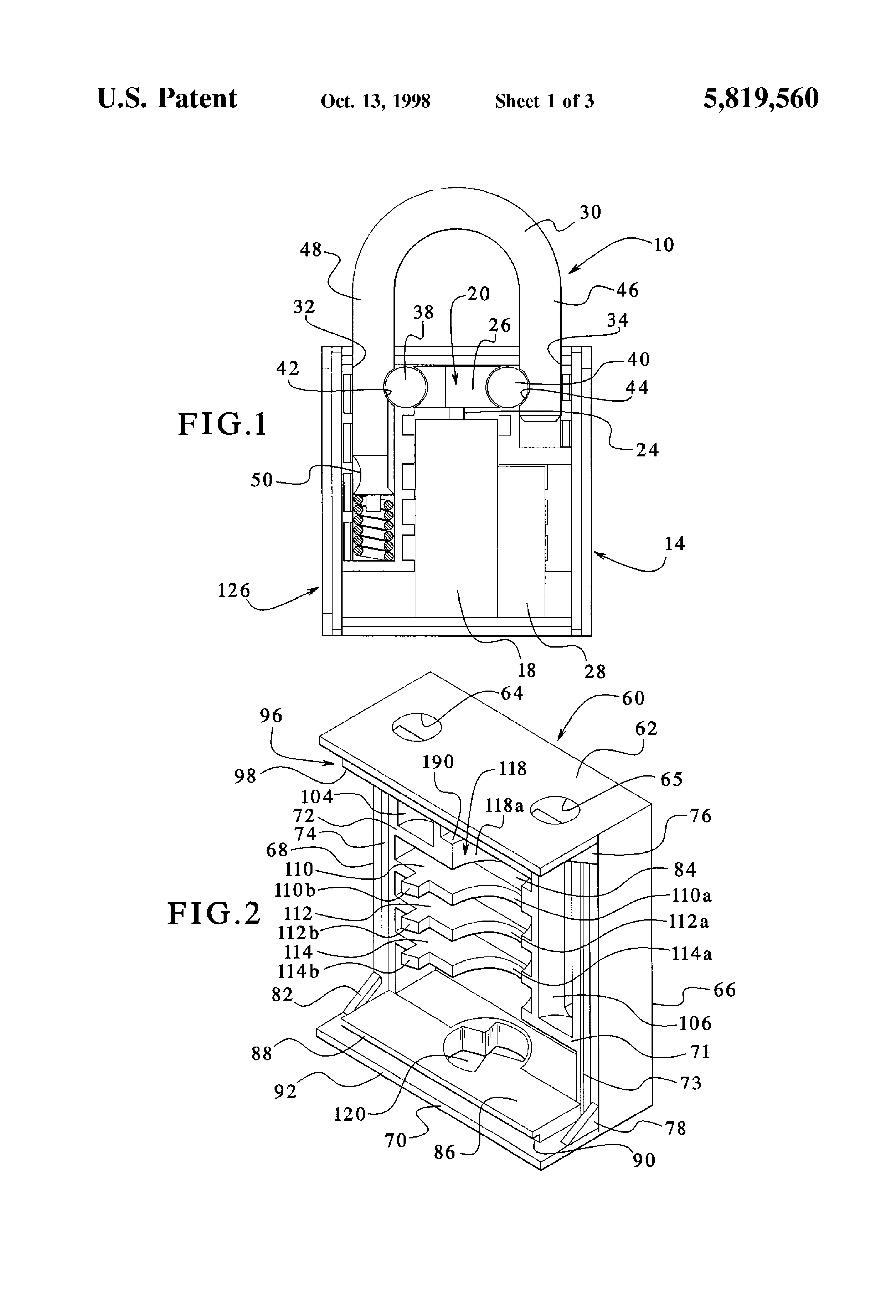
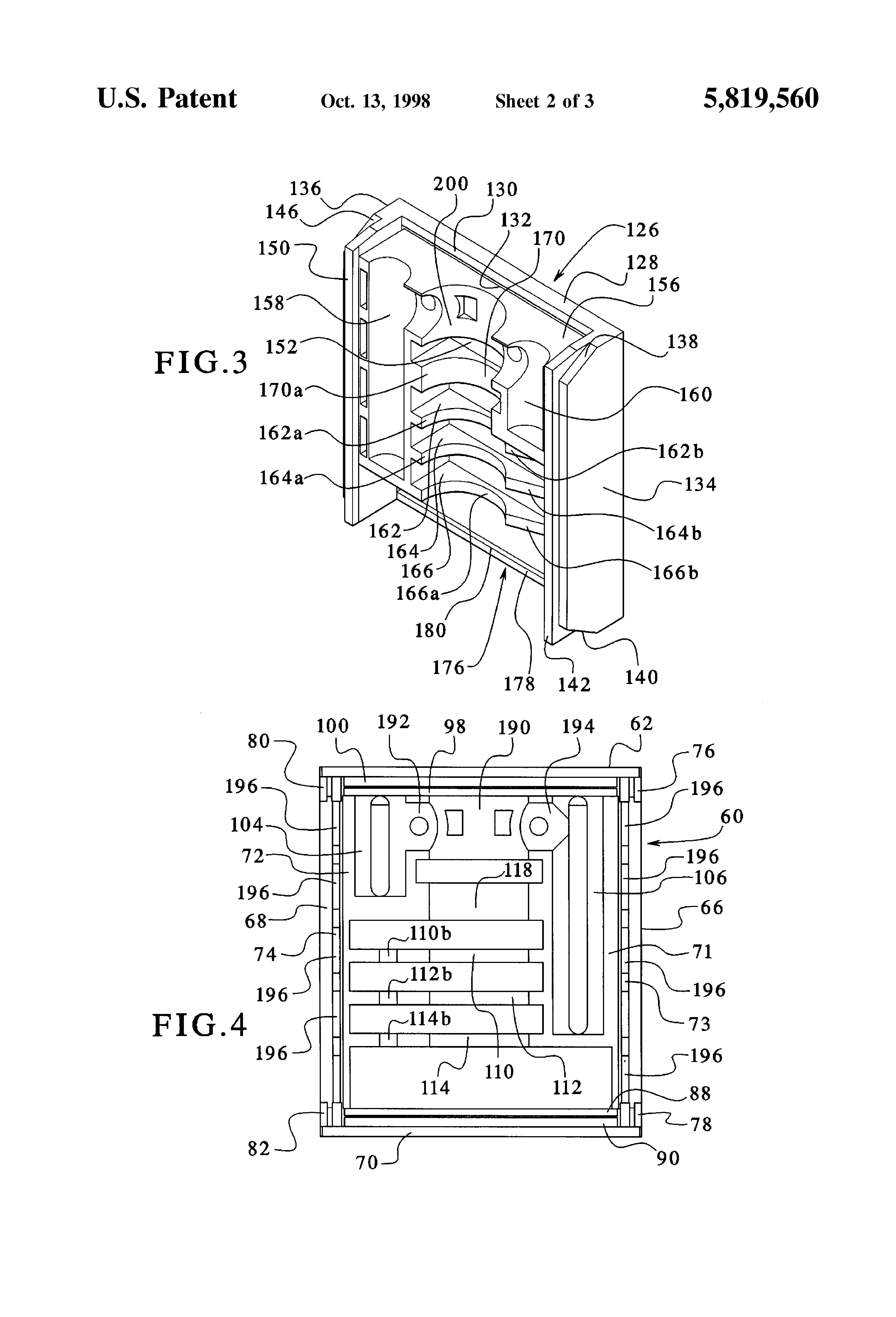
Patent 5819560
Padlock Patent — Keyed
Patent 5819560
Inventor:
Duane B. Grahovec
View on USPTO / Google Patents ↗
Patent #
5819560
Issue Date
1996-05-02
Inventor
Duane B. Grahovec
Assigned To
Master Lock Co LLC
Type
Keyed
Patent Drawings
Drawing 1
Drawing 2
Drawing 3
Patent Details
Patent Number
5819560
Issue Date
1996-05-02
Inventor
Duane B. Grahovec
Assigned To
Master Lock Co LLC
Patent Type
Keyed
External Link
https://patents.google.com/patent/US5819560/en ↗
← 5823021
↑ Back to Patent Database
5823021 →