Est. March 2001 ·
10,247
Listings on File
Antique Padlocks
A Virtual Repository · James Brady
Home
›
Patent Database
›
Patent 5755121
Padlock Patent — Keyed
Patent 5755121
Inventor:
Bruce Allen Crass
View on USPTO / Google Patents ↗
Patent #
5755121
Issue Date
1996-07-23
Inventor
Bruce Allen Crass
Assigned To
Master Lock Co LLC
Type
Keyed
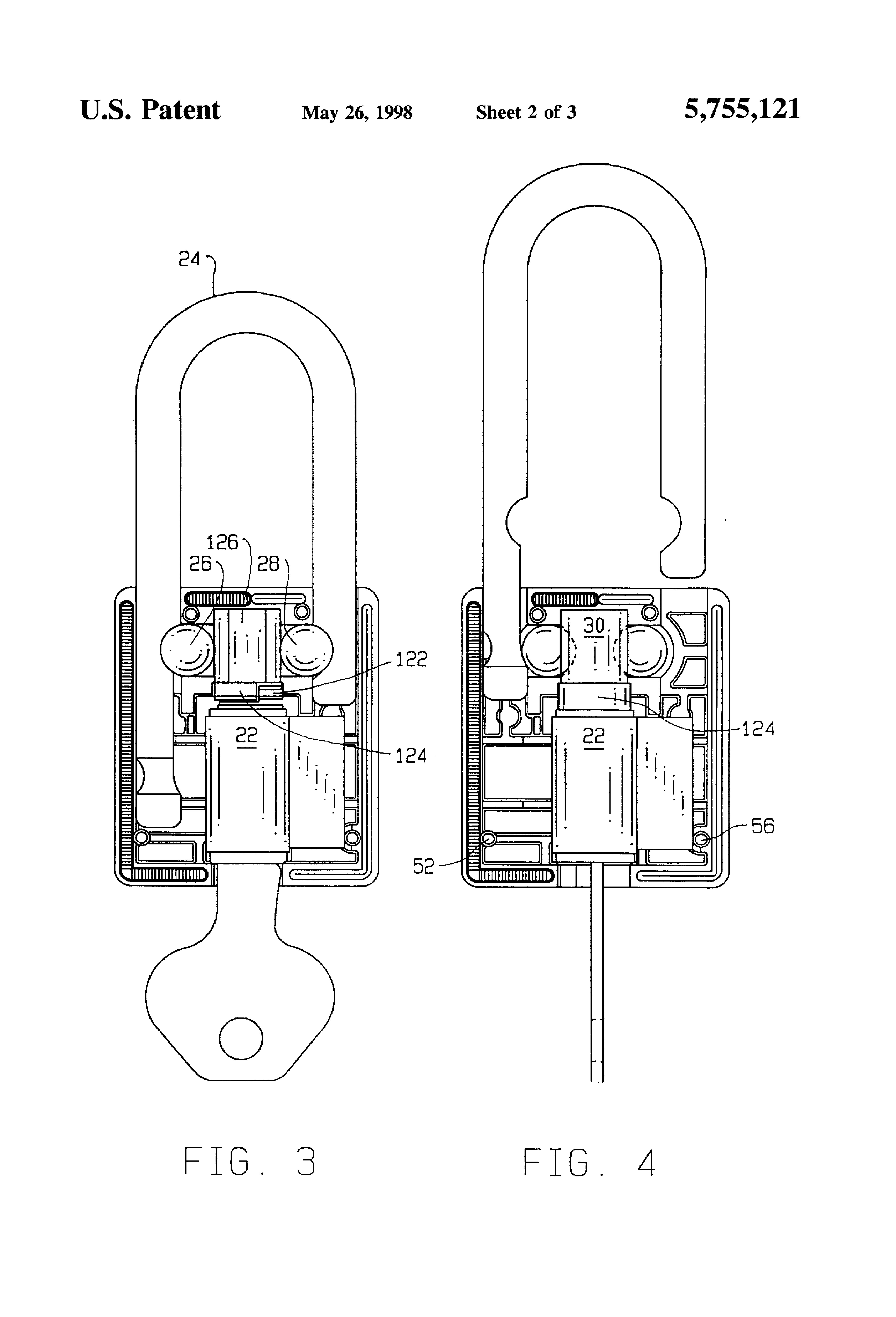
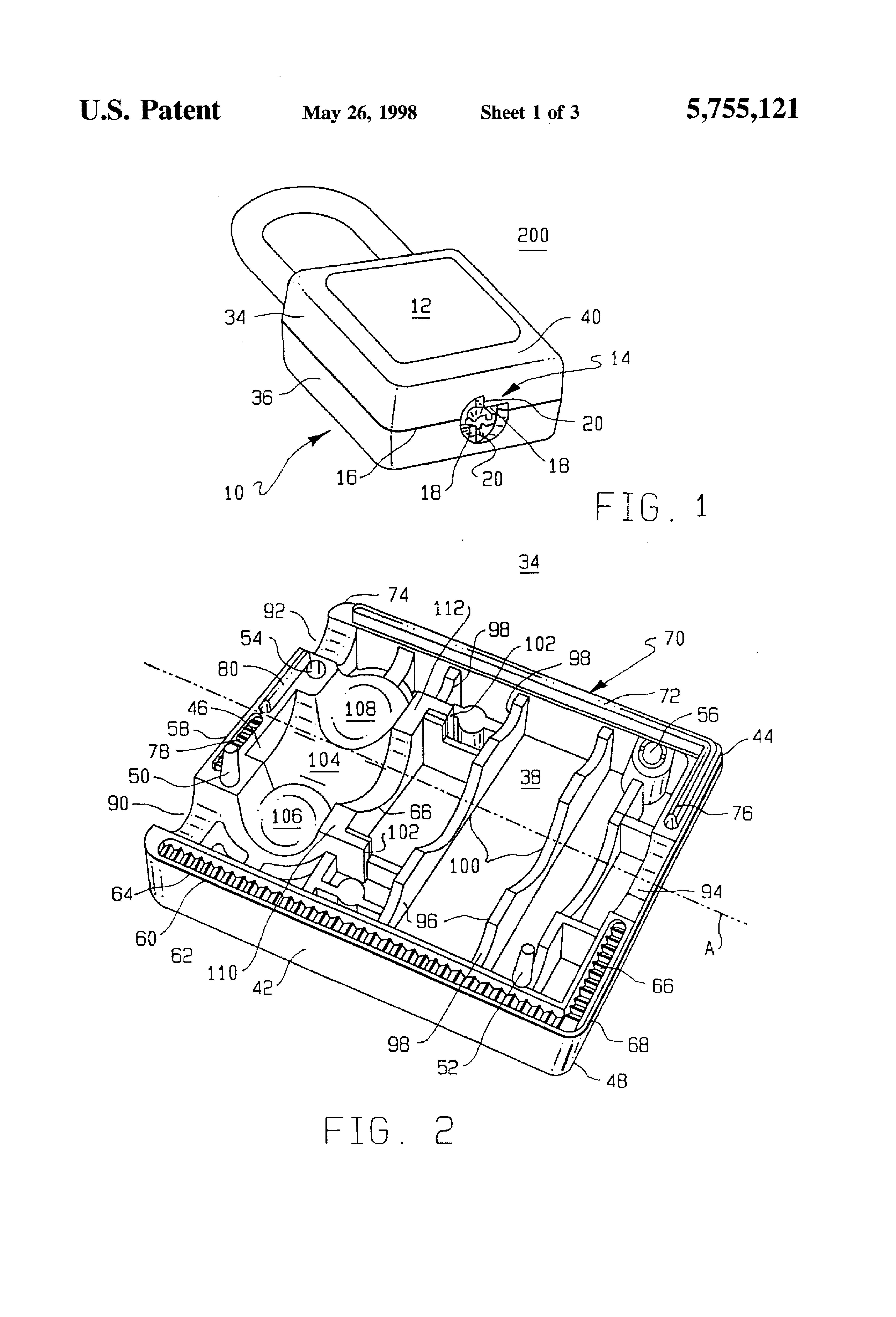
Patent Drawings
Drawing 1
Drawing 2
Drawing 3
Patent Details
Patent Number
5755121
Issue Date
1996-07-23
Inventor
Bruce Allen Crass
Assigned To
Master Lock Co LLC
Patent Type
Keyed
External Link
https://patents.google.com/patent/US5755121/en ↗
← 5761934
↑ Back to Patent Database
5761934 →