Est. March 2001 ·
10,247
Listings on File
Antique Padlocks
A Virtual Repository · James Brady
Home
›
Patent Database
›
Patent 5715709
Padlock Patent — Combo
Patent 5715709
Inventor:
Eric Lai
View on USPTO / Google Patents ↗
Patent #
5715709
Issue Date
1996-01-11
Inventor
Eric Lai
Assigned To
Sunrich Co
Type
Combo
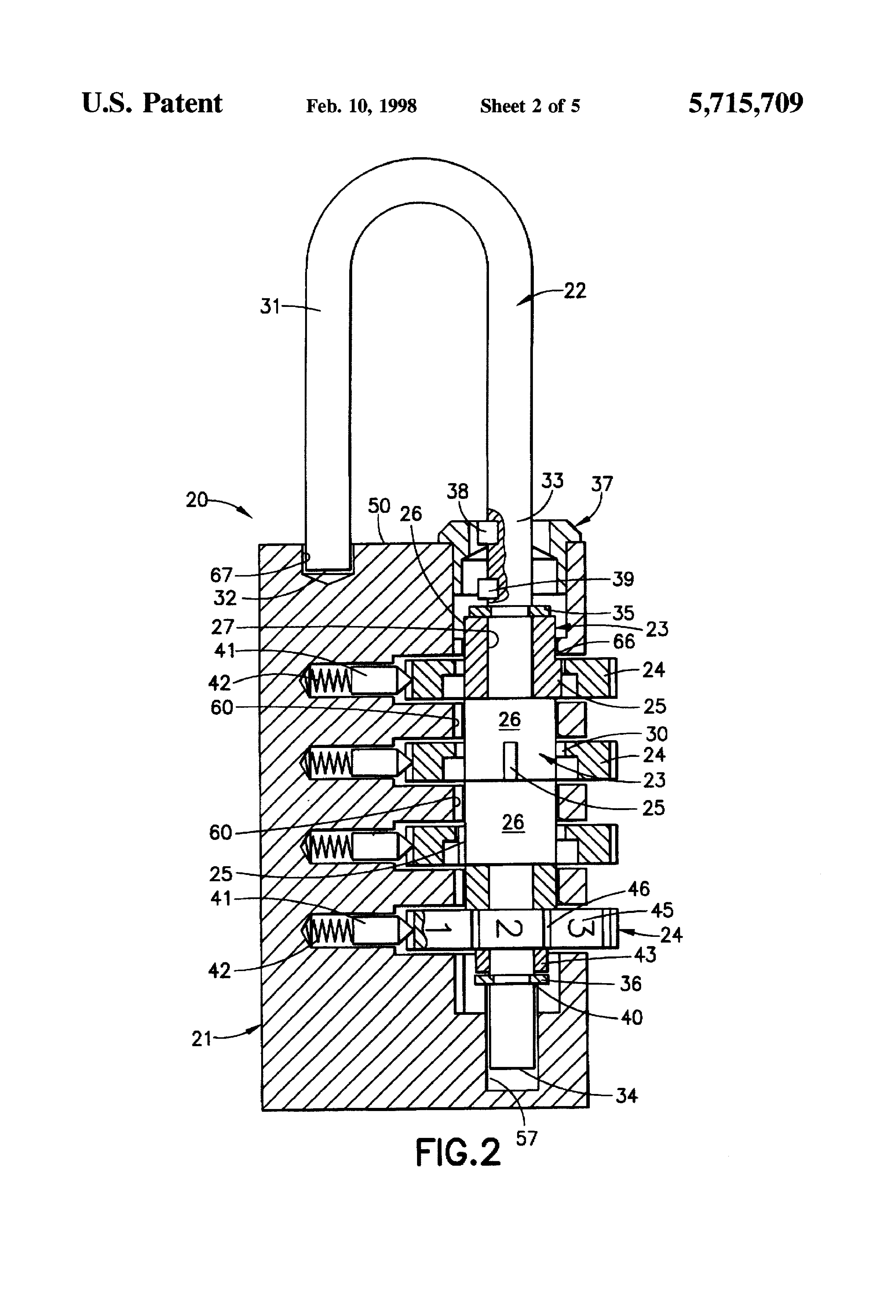
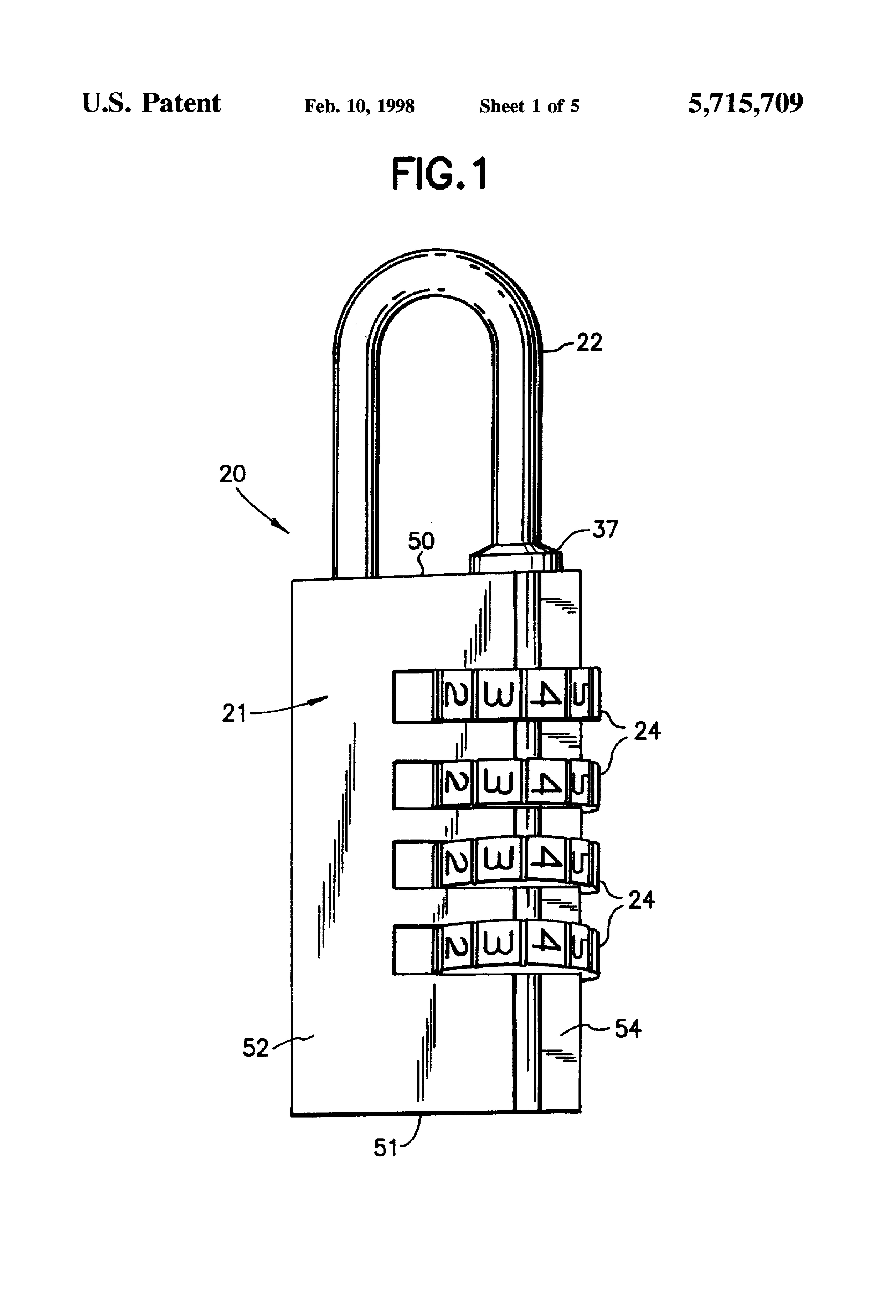
Patent Drawings
Drawing 1
Drawing 2
Drawing 3
Patent Details
Patent Number
5715709
Issue Date
1996-01-11
Inventor
Eric Lai
Assigned To
Sunrich Co
Patent Type
Combo
External Link
https://patents.google.com/patent/US5715709/en ↗
← 5720191
↑ Back to Patent Database
5720191 →