Est. March 2001 ·
10,247
Listings on File
Antique Padlocks
A Virtual Repository · James Brady
Home
›
Patent Database
›
Patent 5442941
Padlock Patent — Keyed
Patent 5442941
Inventor:
Hannu Kahonen
View on USPTO / Google Patents ↗
Patent #
5442941
Issue Date
1993-12-28
Inventor
Hannu Kahonen
Assigned To
Abloy Oy
Type
Keyed
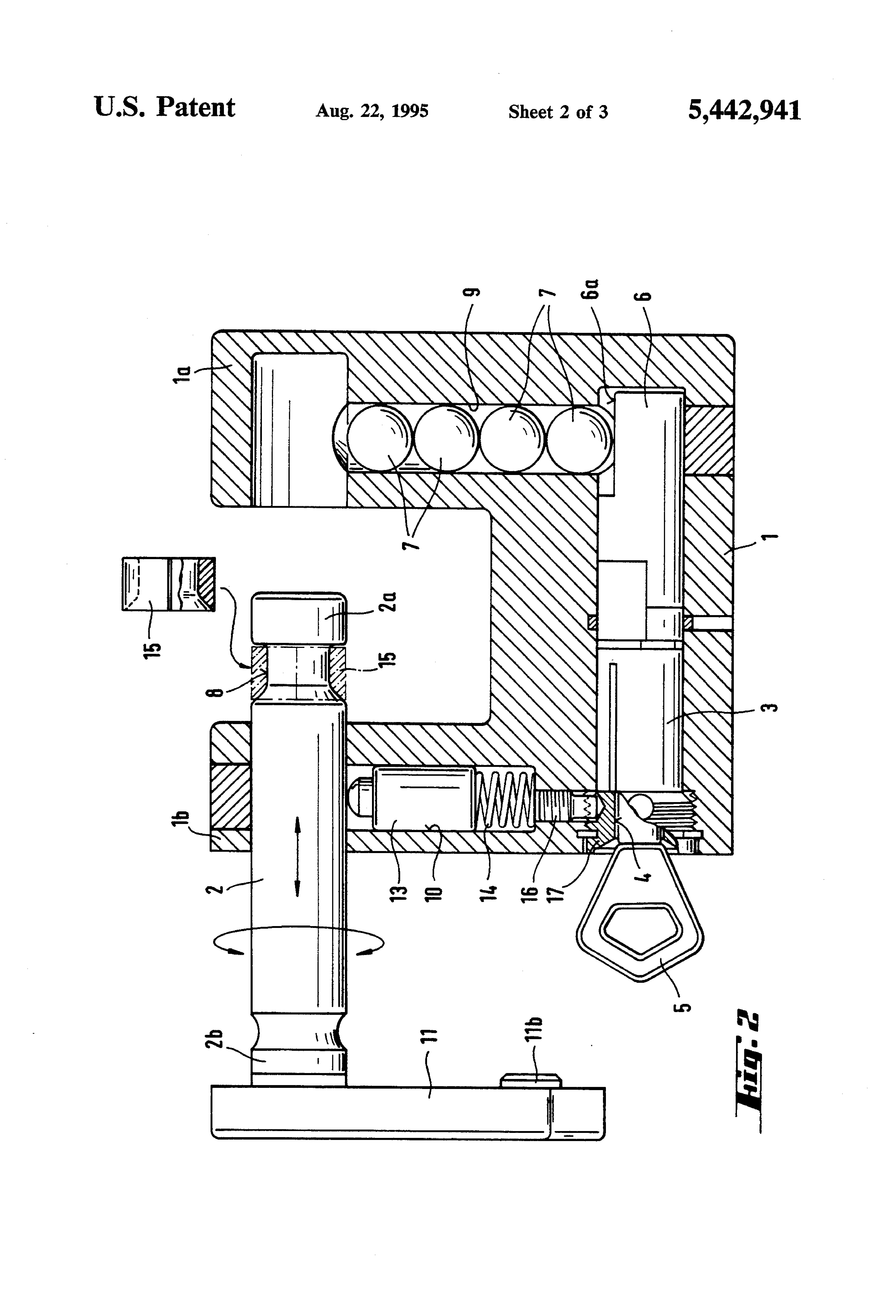
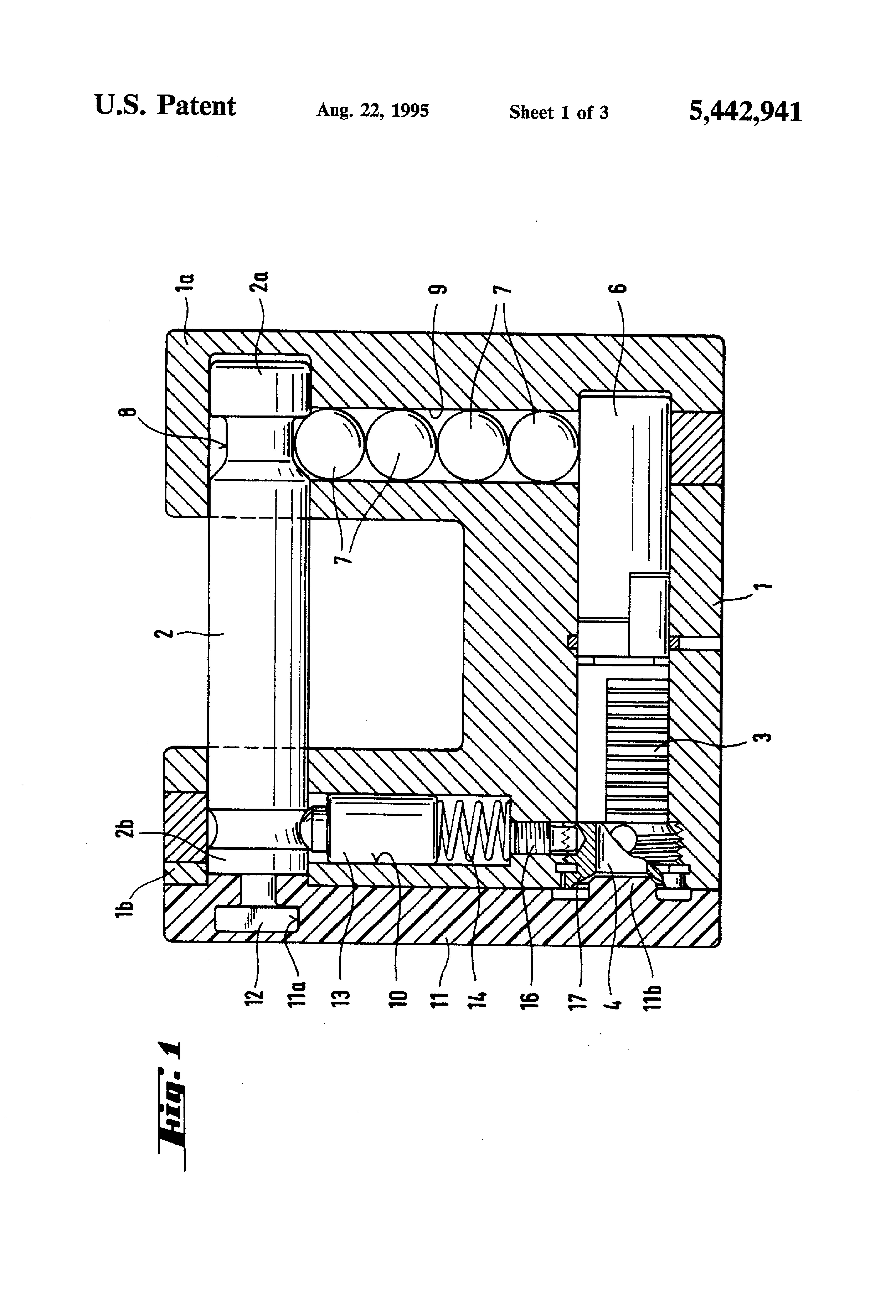
Patent Drawings
Drawing 1
Drawing 2
Drawing 3
Patent Details
Patent Number
5442941
Issue Date
1993-12-28
Inventor
Hannu Kahonen
Assigned To
Abloy Oy
Patent Type
Keyed
External Link
https://patents.google.com/patent/US5442941/en ↗
← 5447043
↑ Back to Patent Database
5447043 →