Est. March 2001 ·
10,247
Listings on File
Antique Padlocks
A Virtual Repository · James Brady
Home
›
Patent Database
›
Patent 5230231
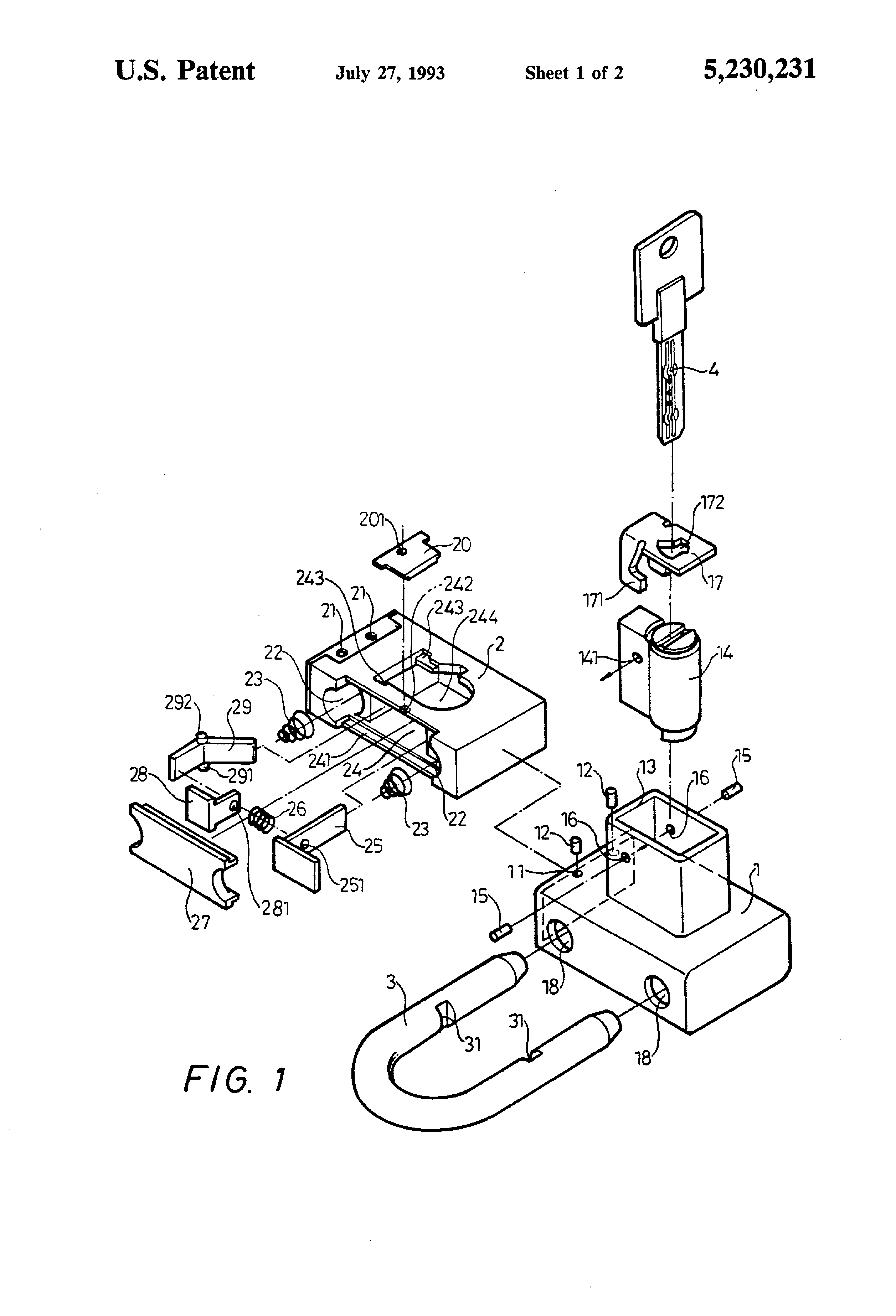
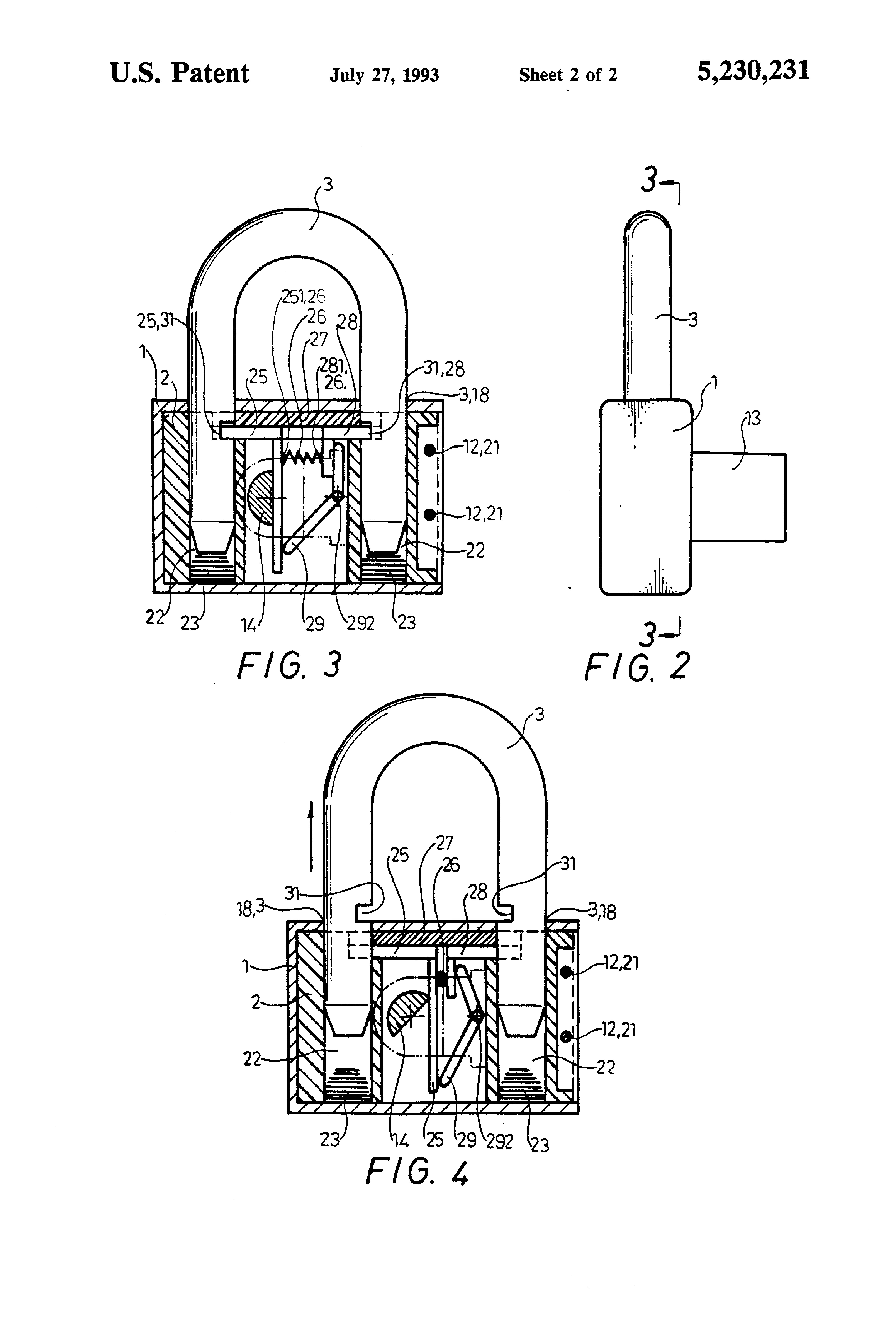
Padlock Patent — Keyed
Patent 5230231
Inventor:
Gaieter Liou
View on USPTO / Google Patents ↗
Patent #
5230231
Issue Date
1992-07-30
Inventor
Gaieter Liou
Type
Keyed
Patent Drawings
Drawing 1
Drawing 2
Drawing 3
Patent Details
Patent Number
5230231
Issue Date
1992-07-30
Inventor
Gaieter Liou
Patent Type
Keyed
External Link
https://patents.google.com/patent/US5230231/en ↗
← 5251464
↑ Back to Patent Database
5251464 →