Est. March 2001 ·
10,247
Listings on File
Antique Padlocks
A Virtual Repository · James Brady
Home
›
Patent Database
›
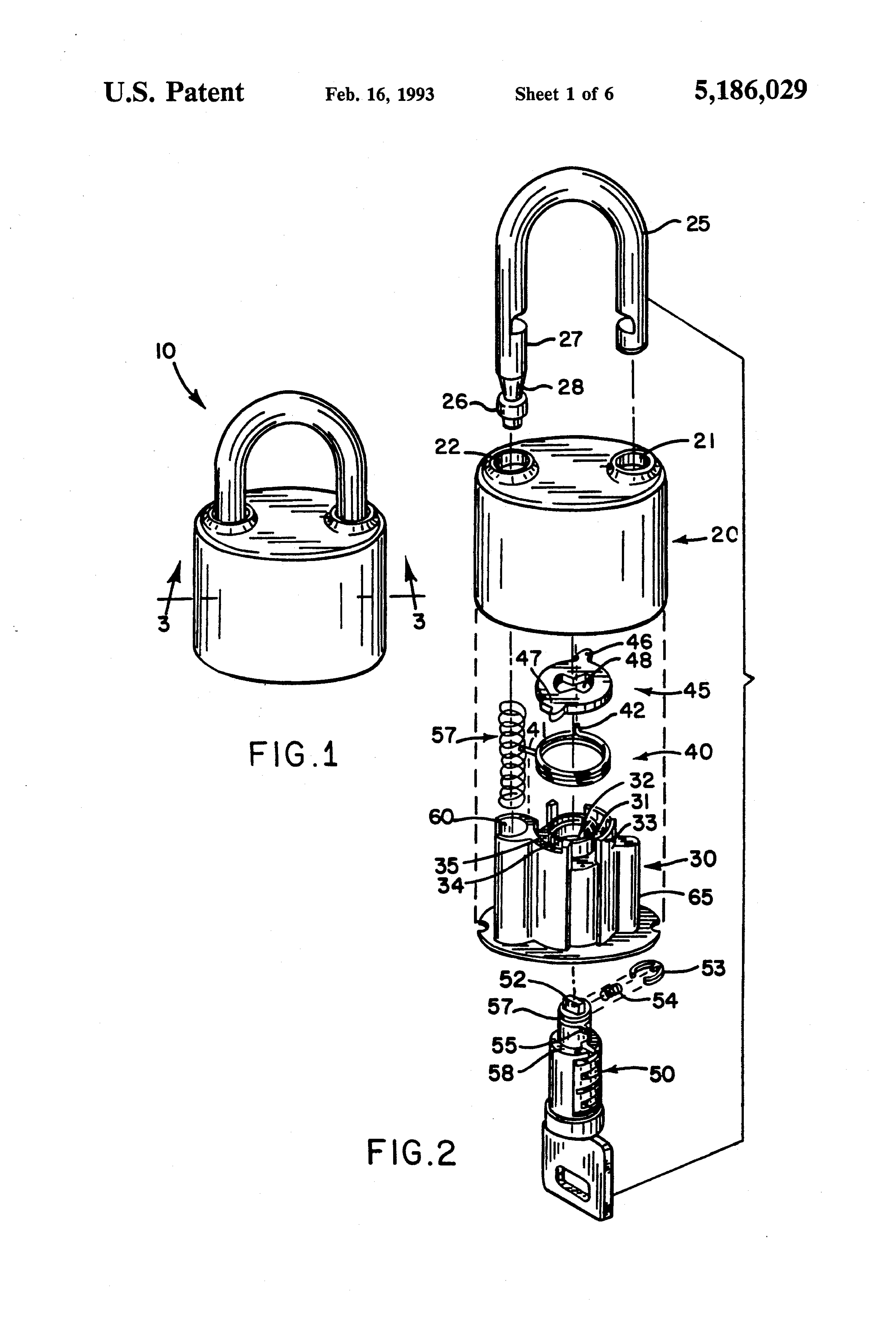
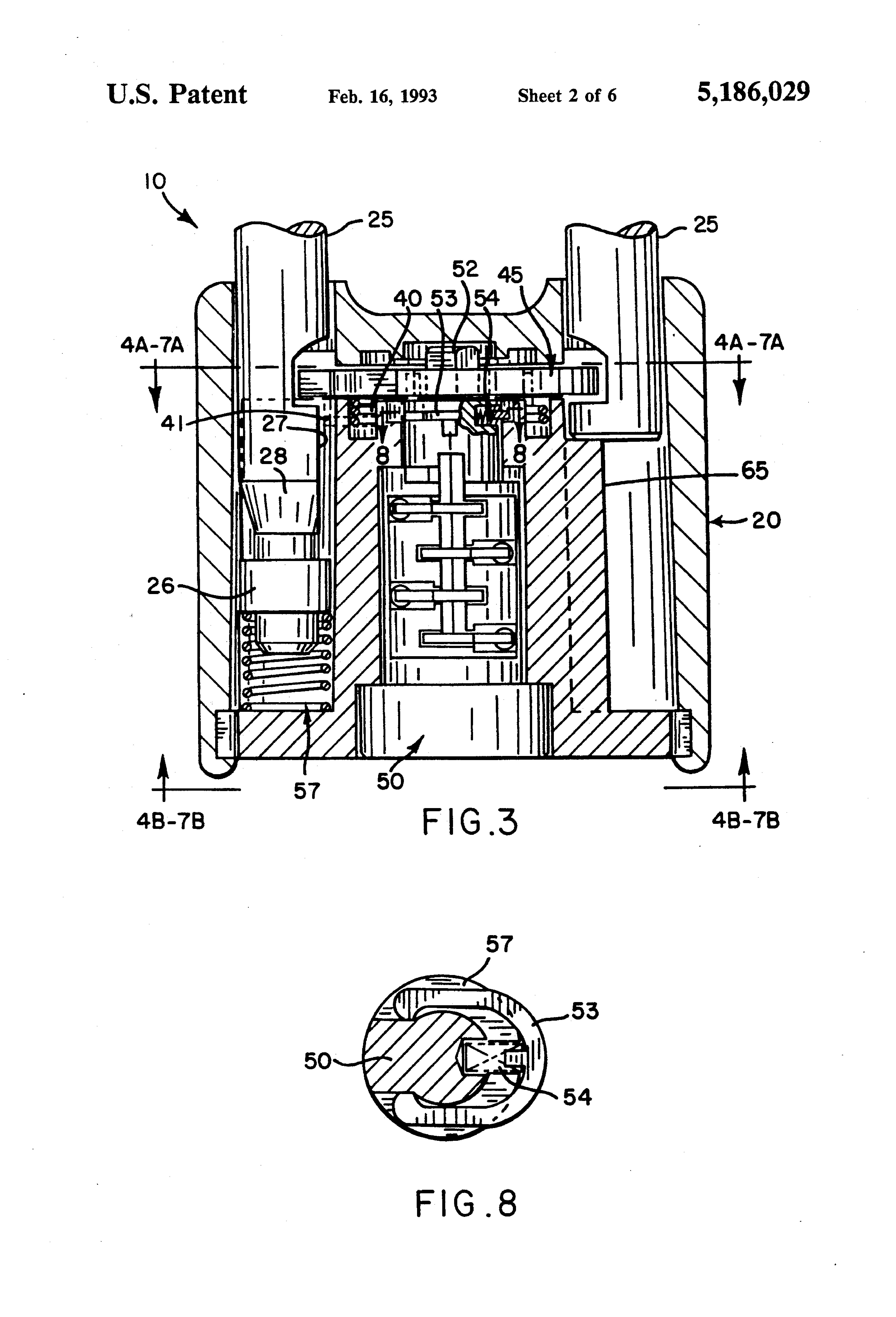
Patent 5186029
Padlock Patent — Keyed
Patent 5186029
Inventor:
Gary L. Myers
View on USPTO / Google Patents ↗
Patent #
5186029
Issue Date
1991-09-27
Inventor
Gary L. Myers
Assigned To
Tri Mark Corp
Type
Keyed
Patent Drawings
Drawing 1
Drawing 2
Drawing 3
Patent Details
Patent Number
5186029
Issue Date
1991-09-27
Inventor
Gary L. Myers
Assigned To
Tri Mark Corp
Patent Type
Keyed
External Link
https://patents.google.com/patent/US5186029/en ↗
← 5189893
↑ Back to Patent Database
5189893 →