Est. March 2001 ·
10,247
Listings on File
Antique Padlocks
A Virtual Repository · James Brady
Home
›
Patent Database
›
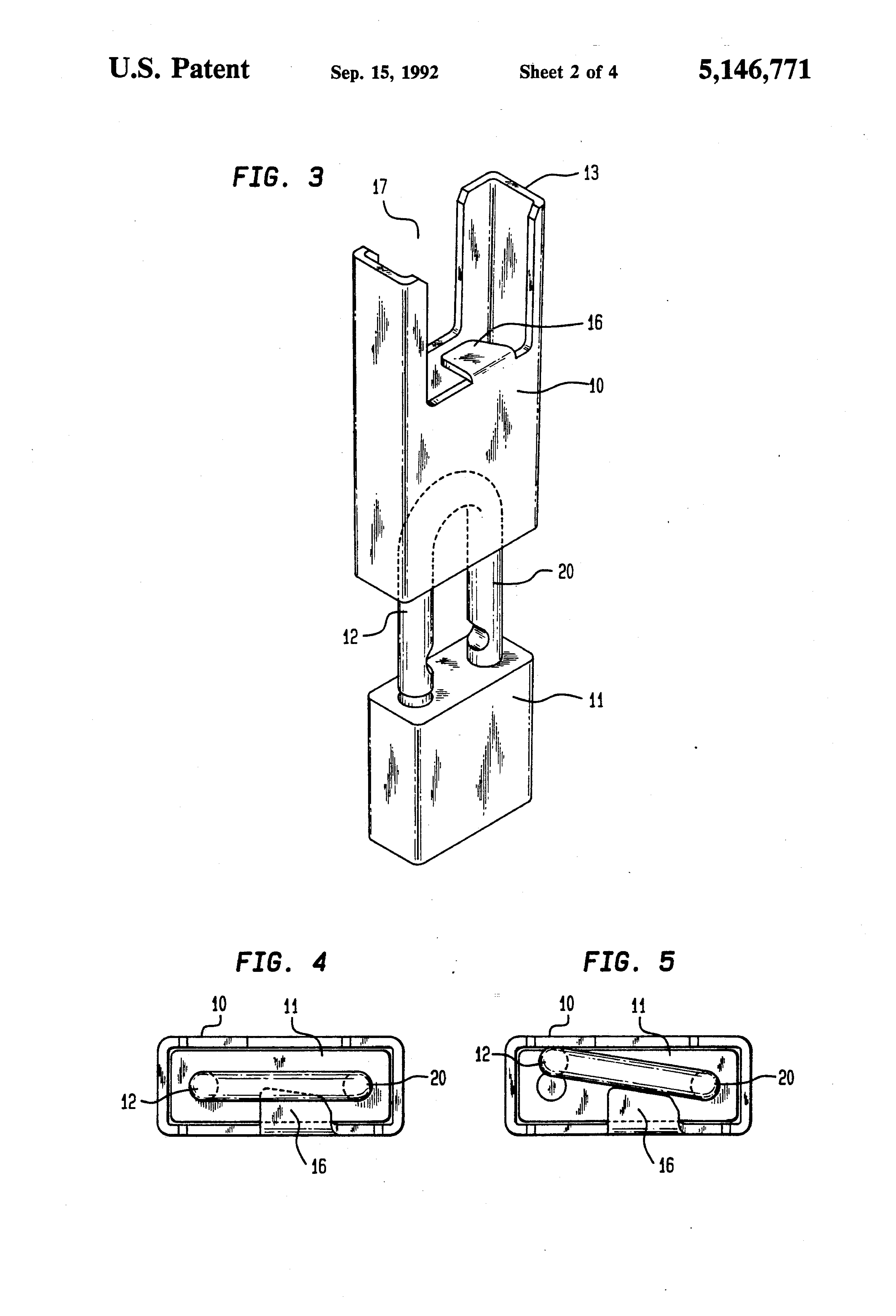
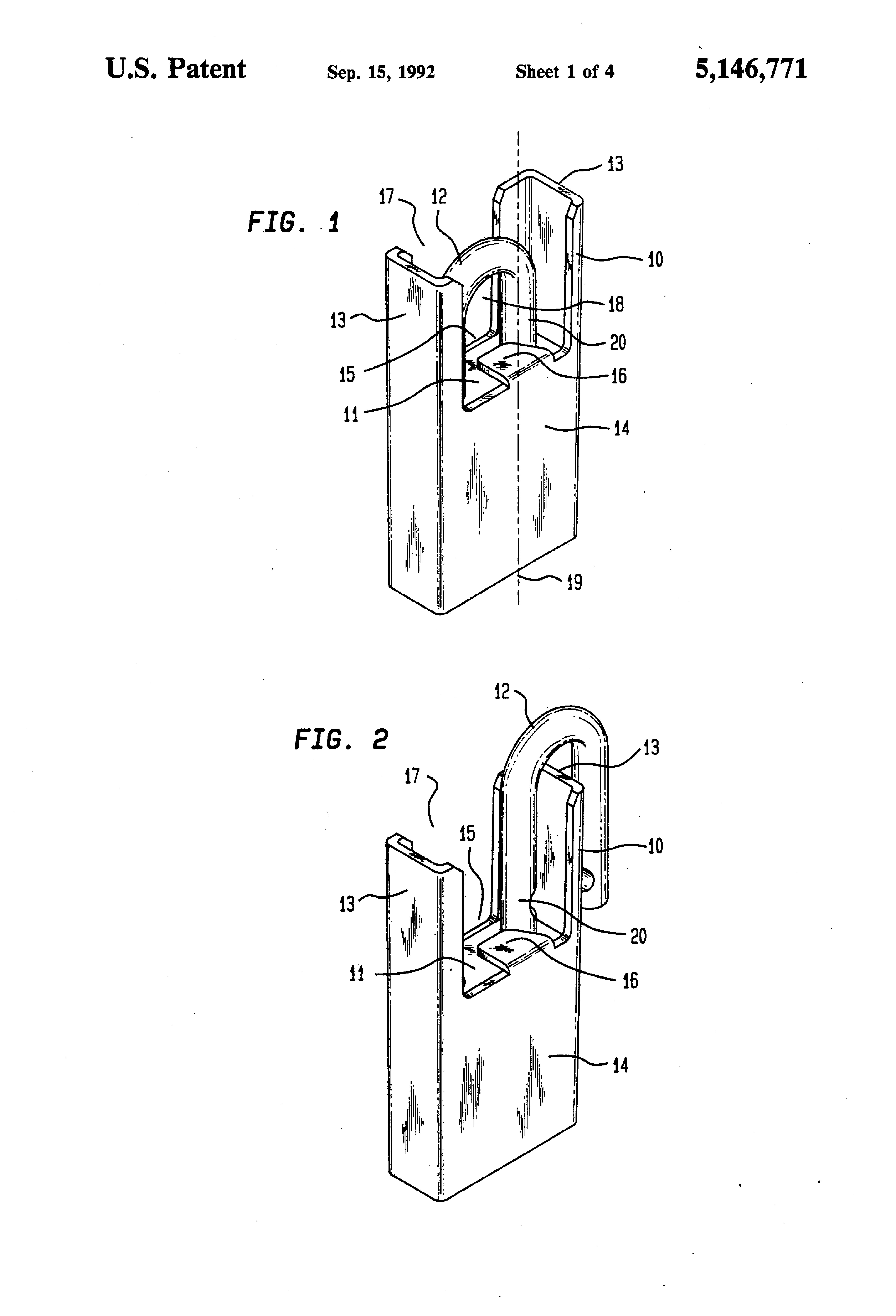
Patent 5146771
Padlock Patent — Keyed
Patent 5146771
Inventor:
Robert W. Loughlin
View on USPTO / Google Patents ↗
Patent #
5146771
Issue Date
1991-06-03
Inventor
Robert W. Loughlin
Type
Keyed
Patent Drawings
Drawing 1
Drawing 2
Drawing 3
Patent Details
Patent Number
5146771
Issue Date
1991-06-03
Inventor
Robert W. Loughlin
Patent Type
Keyed
External Link
https://patents.google.com/patent/US5146771/en ↗
← 5148690
↑ Back to Patent Database
5148690 →