Est. March 2001 ·
10,247
Listings on File
Antique Padlocks
A Virtual Repository · James Brady
Home
›
Patent Database
›
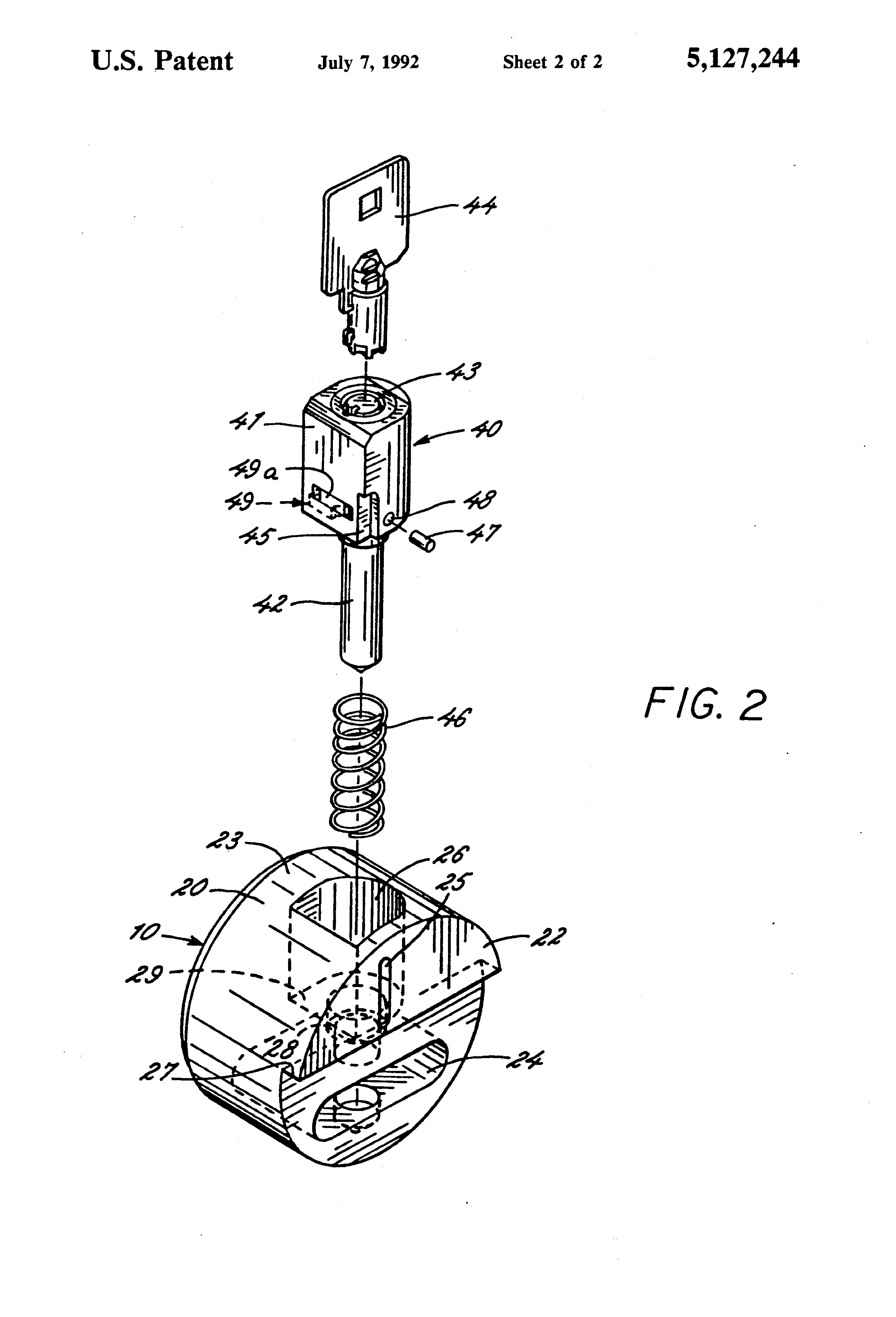
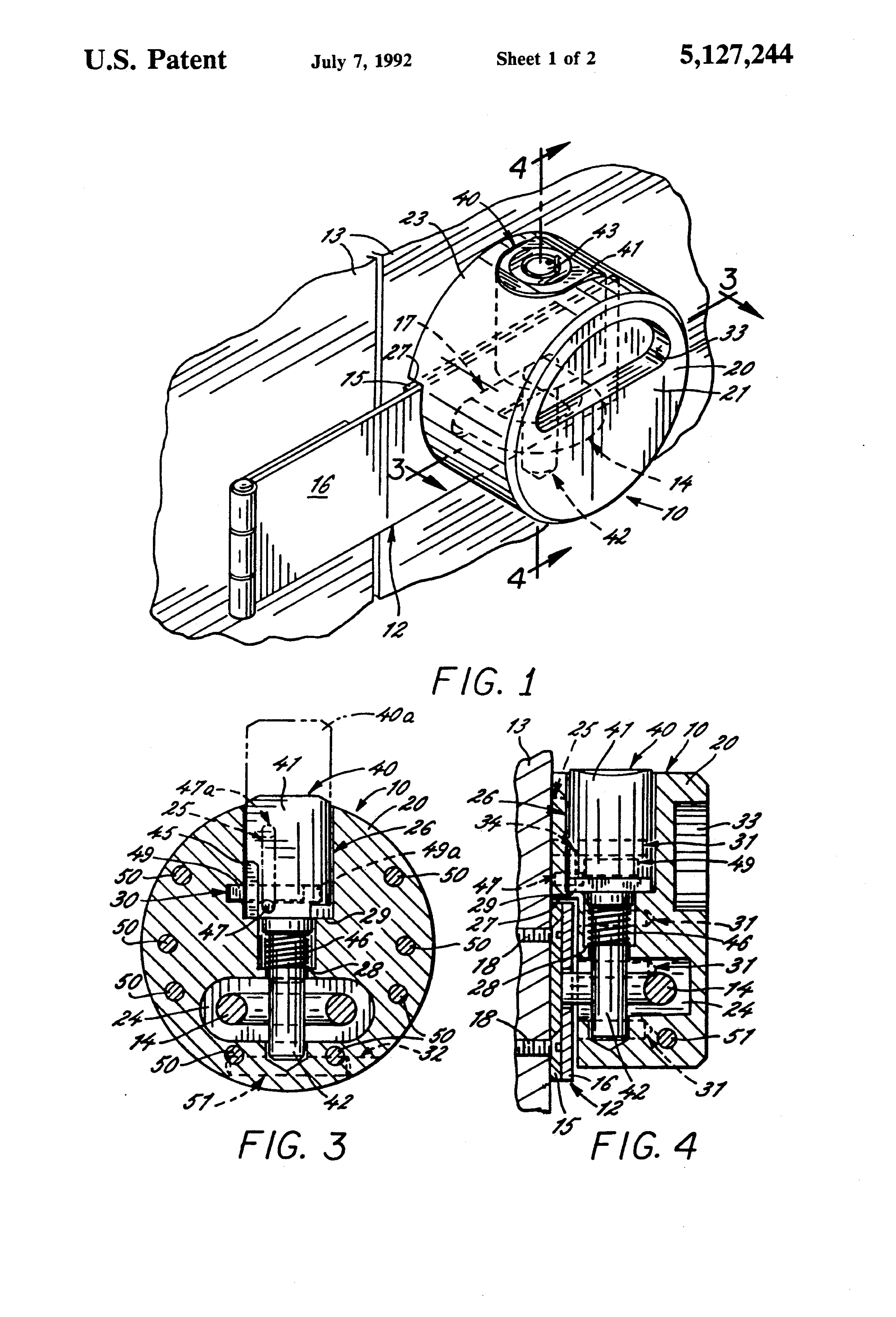
Patent 5127244
Padlock Patent — Keyed
Patent 5127244
Inventor:
Gary L. Myers
View on USPTO / Google Patents ↗
Patent #
5127244
Issue Date
1991-08-19
Inventor
Gary L. Myers
Assigned To
HOYA LOCK Co D/B/A HOYLE INDUSTRIES Inc - AN IOWA Corp
Type
Keyed
Patent Drawings
Drawing 1
Drawing 2
Drawing 3
Patent Details
Patent Number
5127244
Issue Date
1991-08-19
Inventor
Gary L. Myers
Assigned To
HOYA LOCK Co D/B/A HOYLE INDUSTRIES Inc - AN IOWA Corp
Patent Type
Keyed
External Link
https://patents.google.com/patent/US5127244/en ↗
← 5142888
↑ Back to Patent Database
5142888 →