Est. March 2001 ·
10,247
Listings on File
Antique Padlocks
A Virtual Repository · James Brady
Home
›
Patent Database
›
Patent 5095722
Padlock Patent — Combo
Patent 5095722
Inventor:
Stanley T. Chapmond
View on USPTO / Google Patents ↗
Patent #
5095722
Issue Date
1991-01-18
Inventor
Stanley T. Chapmond
Type
Combo
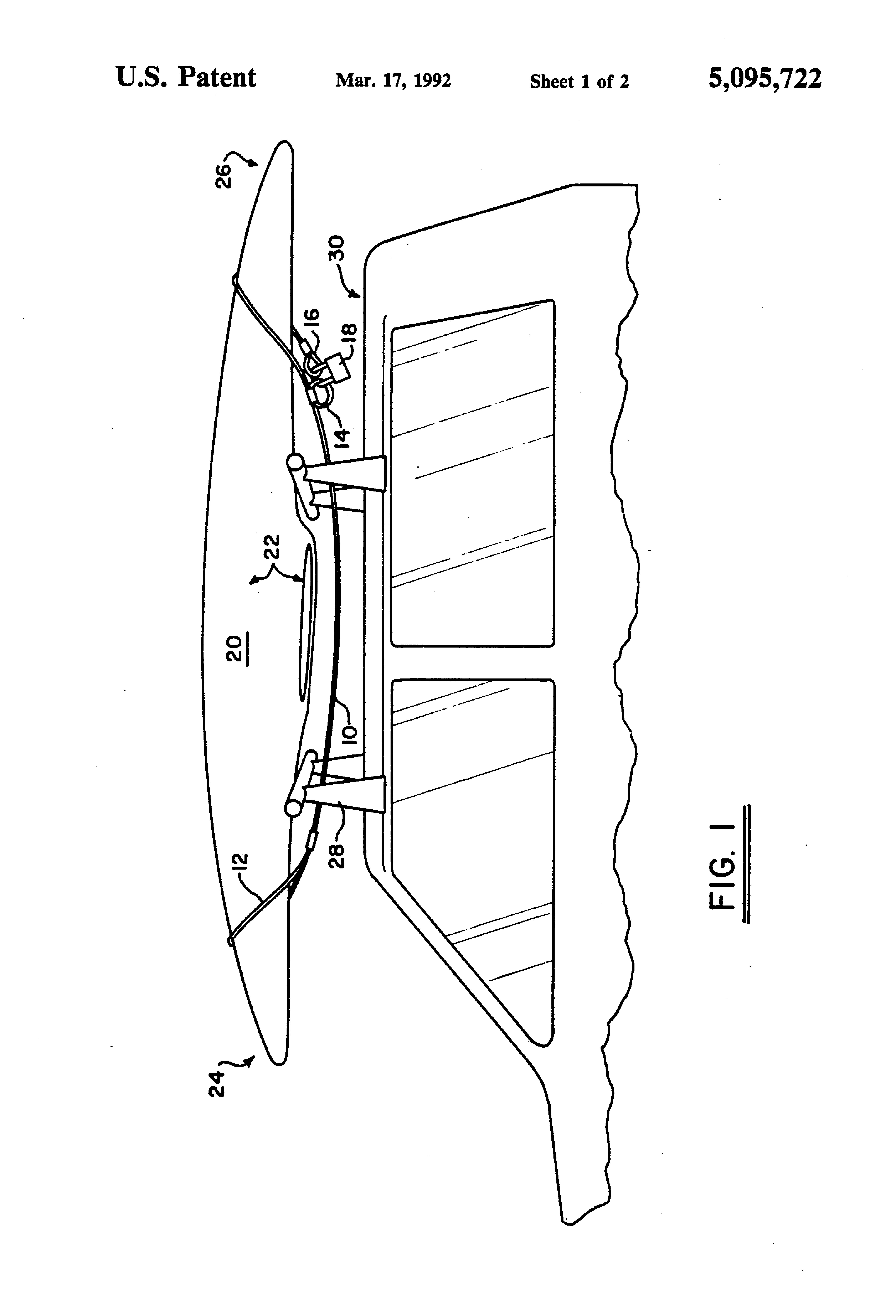
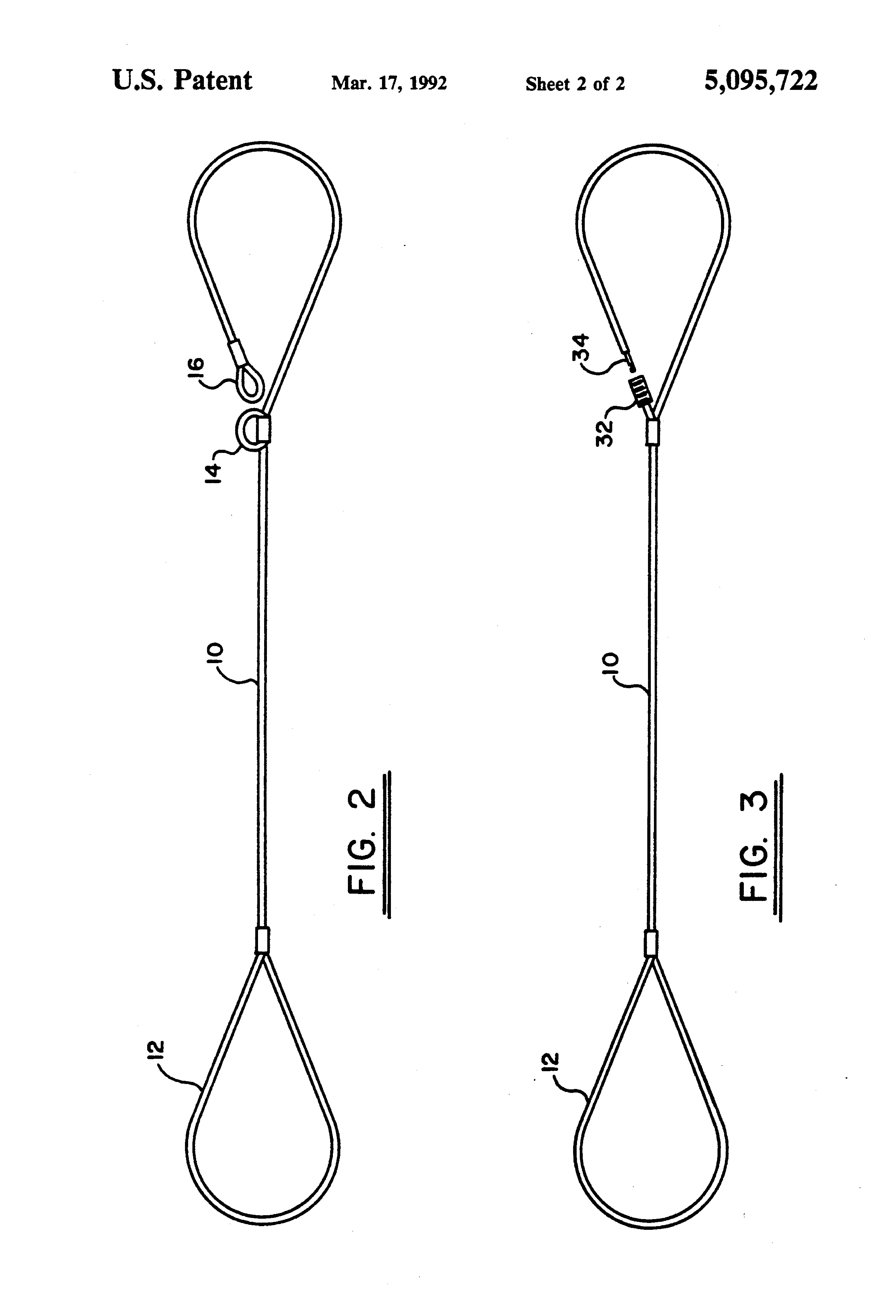
Patent Drawings
Drawing 1
Drawing 2
Drawing 3
Patent Details
Patent Number
5095722
Issue Date
1991-01-18
Inventor
Stanley T. Chapmond
Patent Type
Combo
External Link
https://patents.google.com/patent/US5095722/en ↗
← 5095724
↑ Back to Patent Database
5095724 →