Est. March 2001 ·
10,247
Listings on File
Antique Padlocks
A Virtual Repository · James Brady
Home
›
Patent Database
›
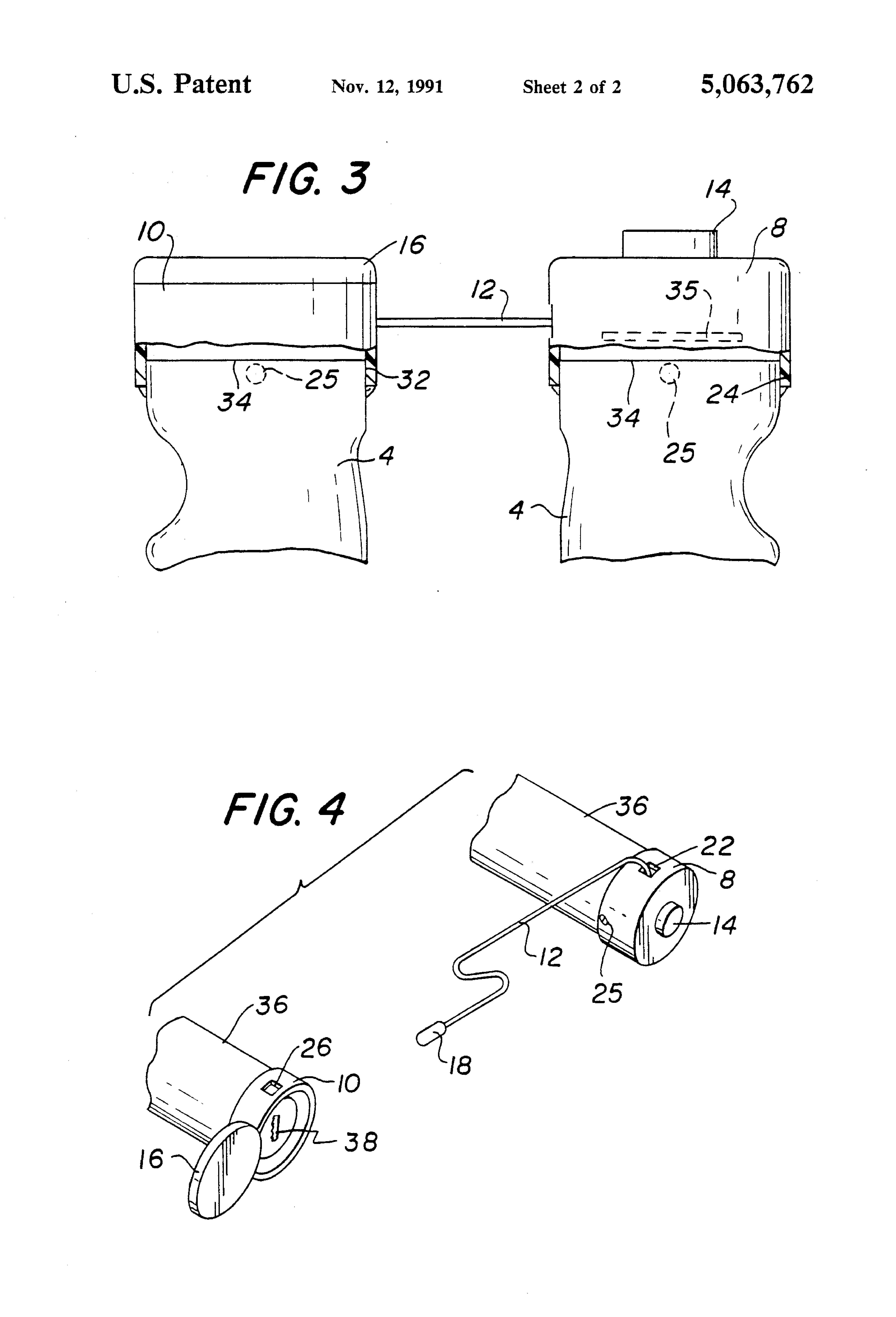
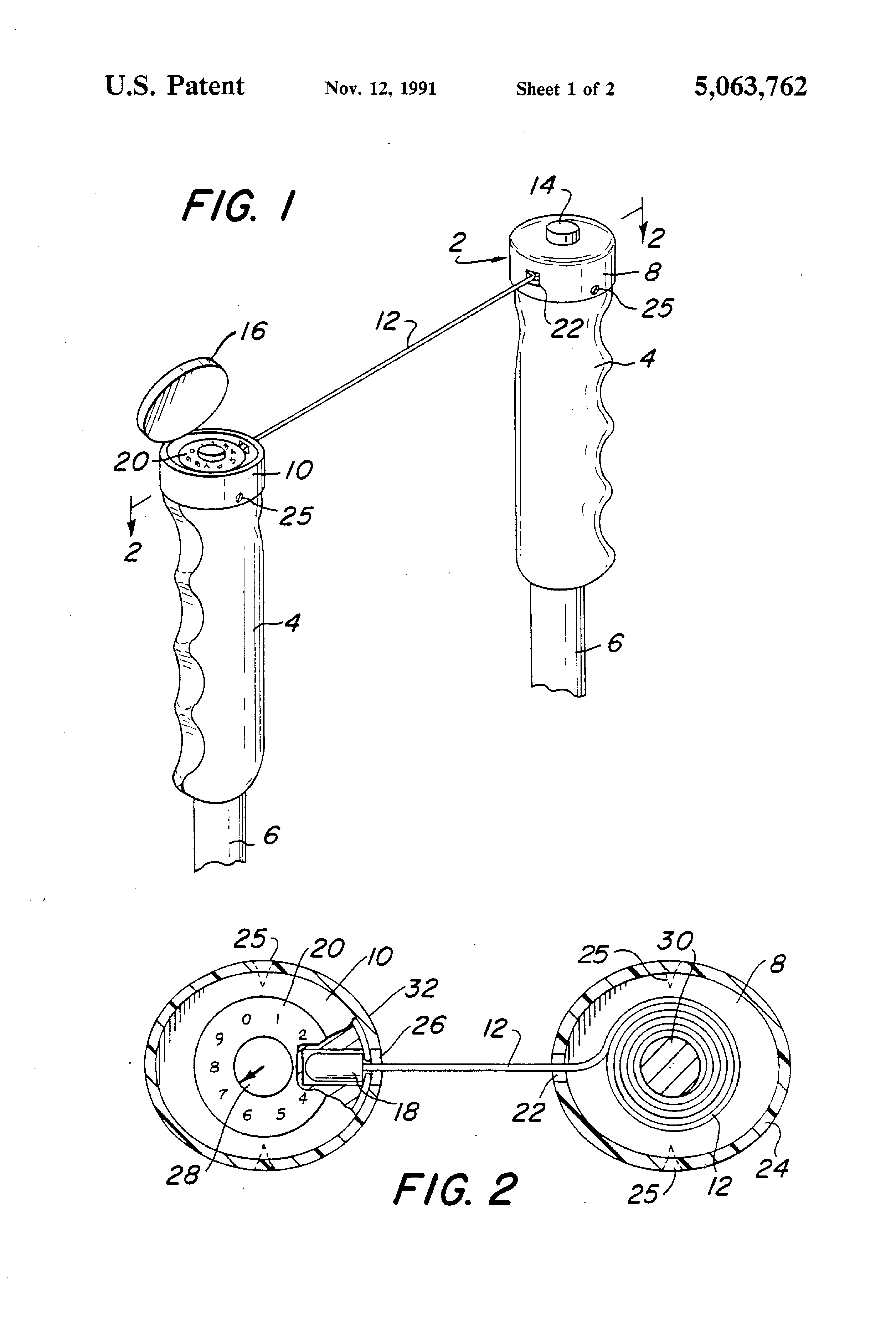
Patent 5063762
Padlock Patent — Combo
Patent 5063762
Inventor:
Catherine M. Vandeweghe
View on USPTO / Google Patents ↗
Patent #
5063762
Issue Date
1990-06-27
Inventor
Catherine M. Vandeweghe
Type
Combo
Patent Drawings
Drawing 1
Drawing 2
Drawing 3
Patent Details
Patent Number
5063762
Issue Date
1990-06-27
Inventor
Catherine M. Vandeweghe
Patent Type
Combo
External Link
https://patents.google.com/patent/US5063762/en ↗
← 5070713
↑ Back to Patent Database
5070713 →