Est. March 2001 ·
10,247
Listings on File
Antique Padlocks
A Virtual Repository · James Brady
Home
›
Patent Database
›
Patent 5009087
Padlock Patent — Keyed
Patent 5009087
Inventor:
Royal B. Long
View on USPTO / Google Patents ↗
Patent #
5009087
Issue Date
1990-08-20
Inventor
Royal B. Long
Type
Keyed
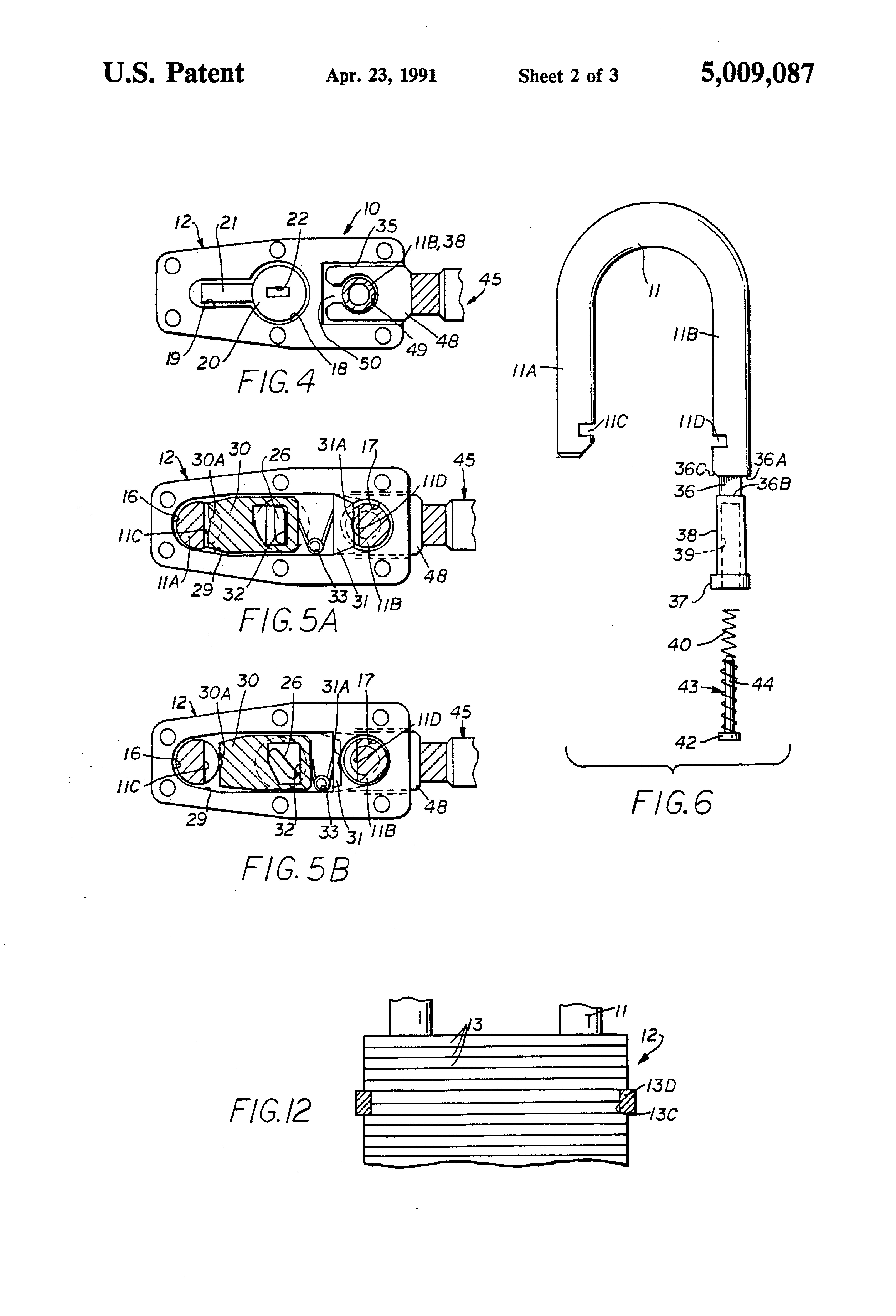
Patent Drawings
Drawing 1
Drawing 2
Drawing 3
Patent Details
Patent Number
5009087
Issue Date
1990-08-20
Inventor
Royal B. Long
Patent Type
Keyed
External Link
https://patents.google.com/patent/US5009087/en ↗
← 5027623
↑ Back to Patent Database
5027623 →