Est. March 2001 ·
10,247
Listings on File
Antique Padlocks
A Virtual Repository · James Brady
Home
›
Patent Database
›
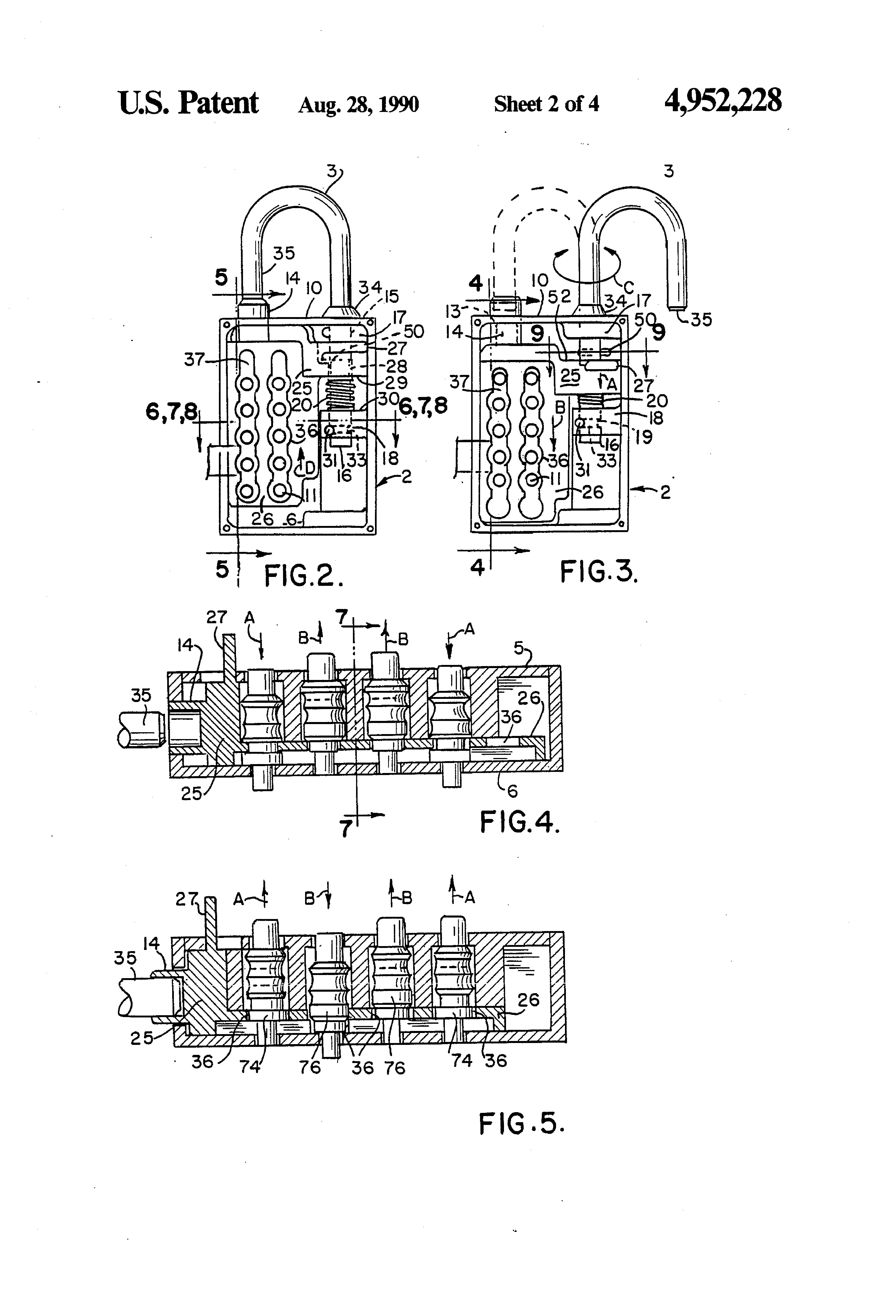
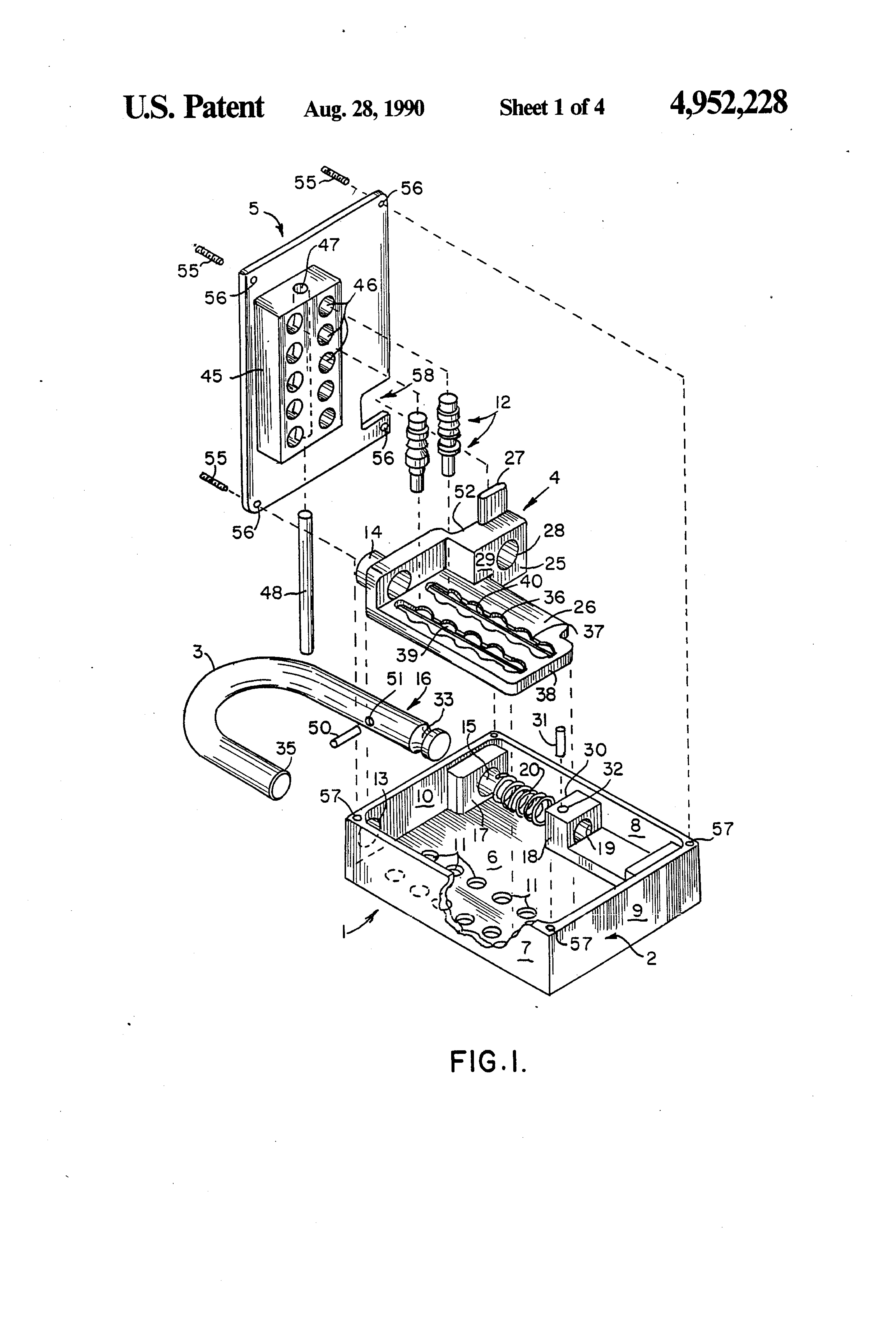
Patent 4952228
Padlock Patent — Combo
Patent 4952228
Inventor:
Jewell A. Taylor
View on USPTO / Google Patents ↗
Patent #
4952228
Issue Date
1989-07-20
Inventor
Jewell A. Taylor
Assigned To
Stop Lock Inc
Type
Combo
Patent Drawings
Drawing 1
Drawing 2
Drawing 3
Patent Details
Patent Number
4952228
Issue Date
1989-07-20
Inventor
Jewell A. Taylor
Assigned To
Stop Lock Inc
Patent Type
Combo
External Link
https://patents.google.com/patent/US4952228/en ↗
← 4953371
↑ Back to Patent Database
4953371 →