Est. March 2001  ·  10,247 Listings on File

Padlock Patent — Keyed

Patent 4885919

Inventor: Robert W. Loughlin

View on USPTO / Google Patents ↗
Patent # 4885919
Issue Date 1988-09-20
Inventor Robert W. Loughlin
Type Keyed

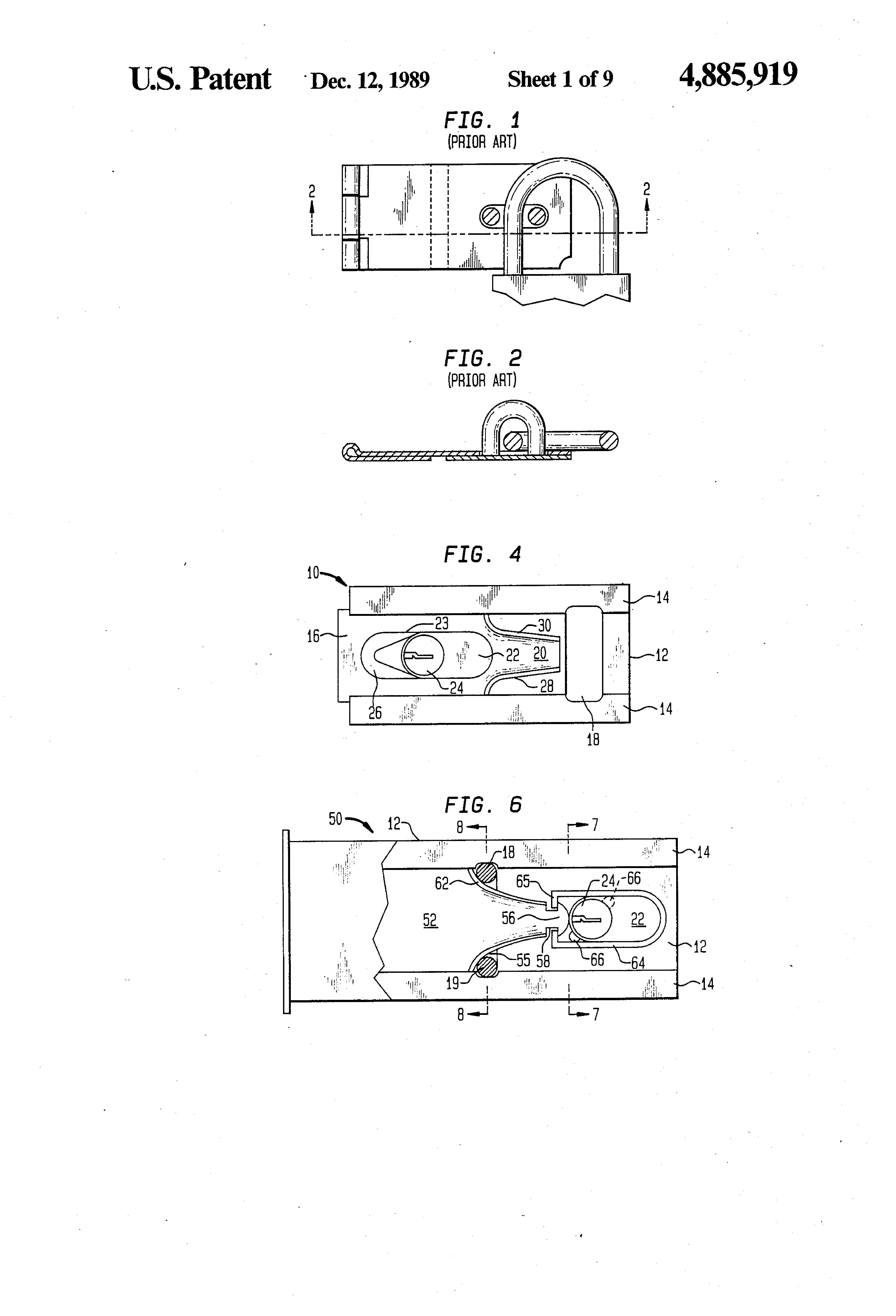
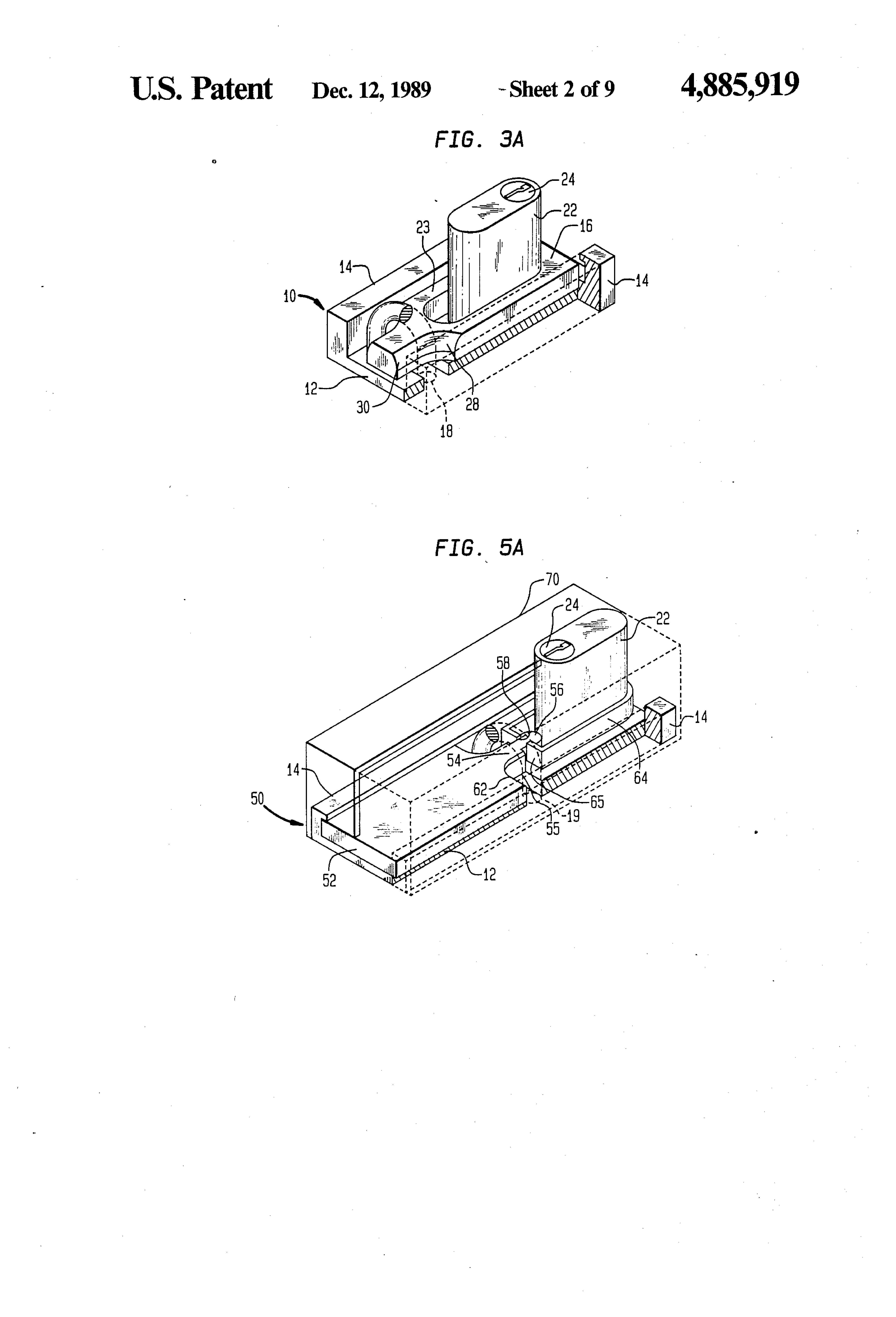
Patent Drawings

Patent Details

Patent Number 4885919
Issue Date 1988-09-20
Inventor Robert W. Loughlin
Patent Type Keyed
External Link https://patents.google.com/patent/US4885919/en ↗
↑ Back to Patent Database