Est. March 2001  ·  10,247 Listings on File

Padlock Patent — Keyed

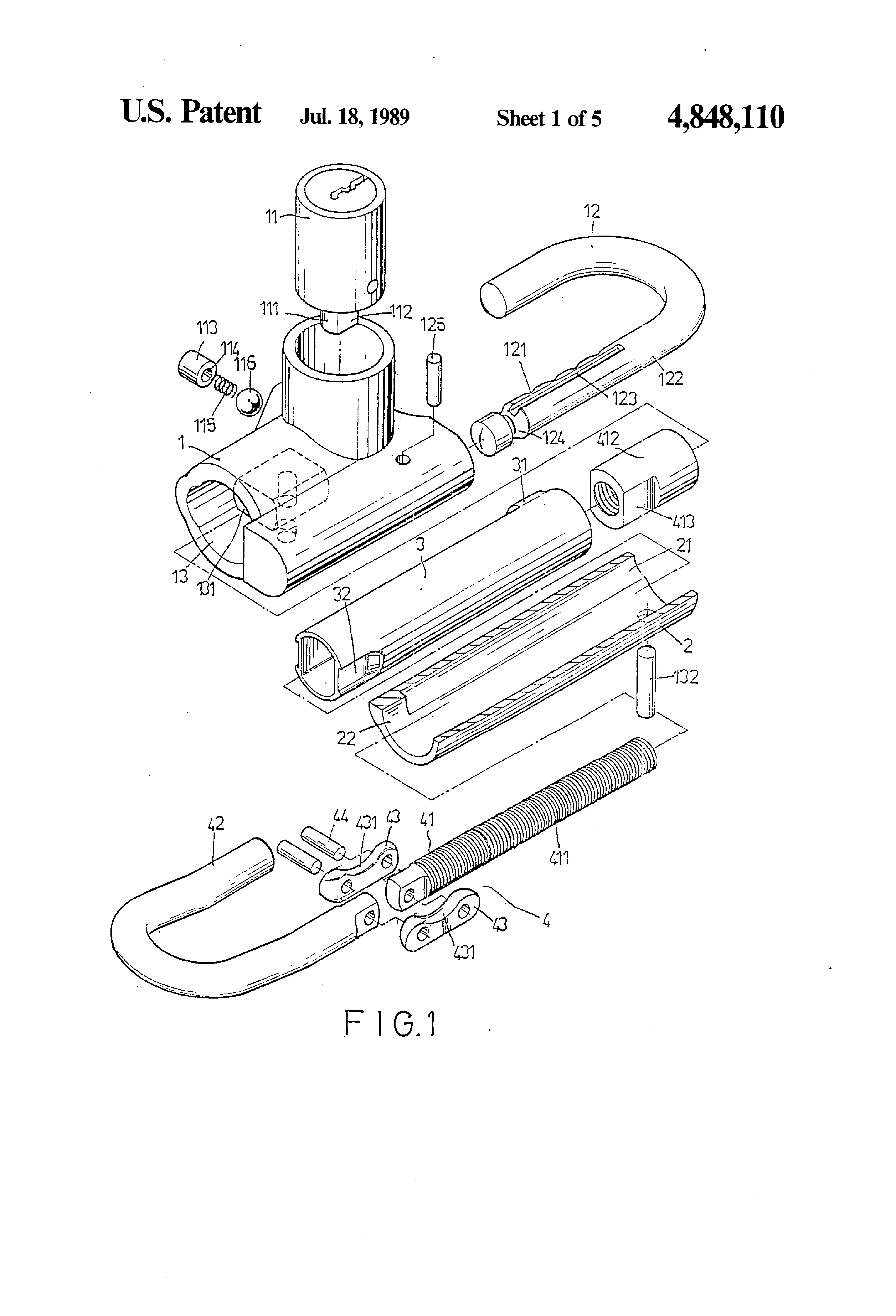
Patent 4848110

Inventor: Li T. Kuo

View on USPTO / Google Patents ↗
Patent # 4848110
Issue Date 1988-08-11
Inventor Li T. Kuo
Type Keyed

Patent Drawings

Patent Details

Patent Number 4848110
Issue Date 1988-08-11
Inventor Li T. Kuo
Patent Type Keyed
External Link https://patents.google.com/patent/US4848110/en ↗
↑ Back to Patent Database