Est. March 2001  ·  10,247 Listings on File

Padlock Patent — Keyed

Patent 4838051

Inventor: Yaw-Mein Yang

View on USPTO / Google Patents ↗
Patent # 4838051
Issue Date 1988-04-27
Inventor Yaw-Mein Yang
Type Keyed

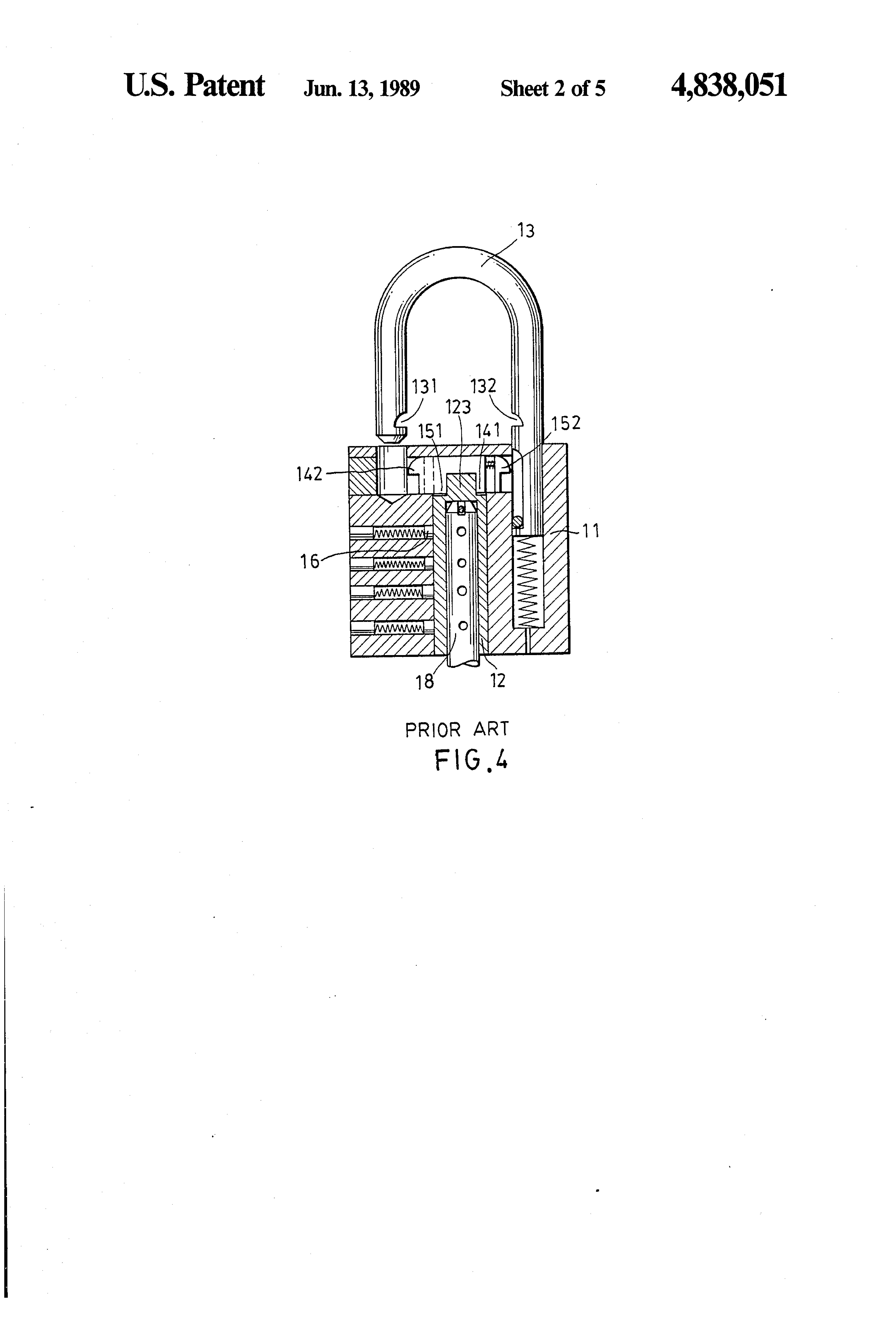
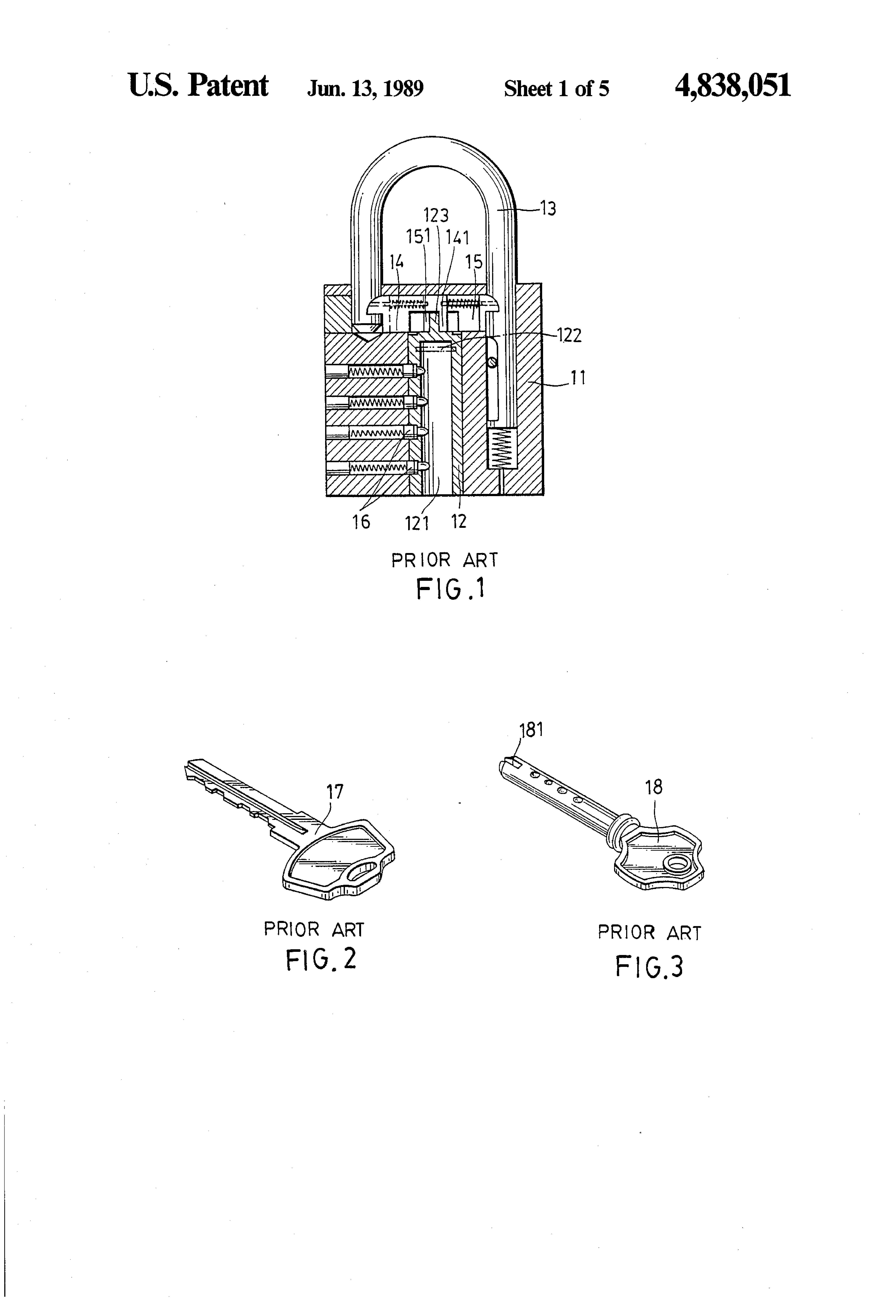
Patent Drawings

Patent Details

Patent Number 4838051
Issue Date 1988-04-27
Inventor Yaw-Mein Yang
Patent Type Keyed
External Link https://patents.google.com/patent/US4838051/en ↗
↑ Back to Patent Database