Est. March 2001 ·
10,247
Listings on File
Antique Padlocks
A Virtual Repository · James Brady
Home
›
Patent Database
›
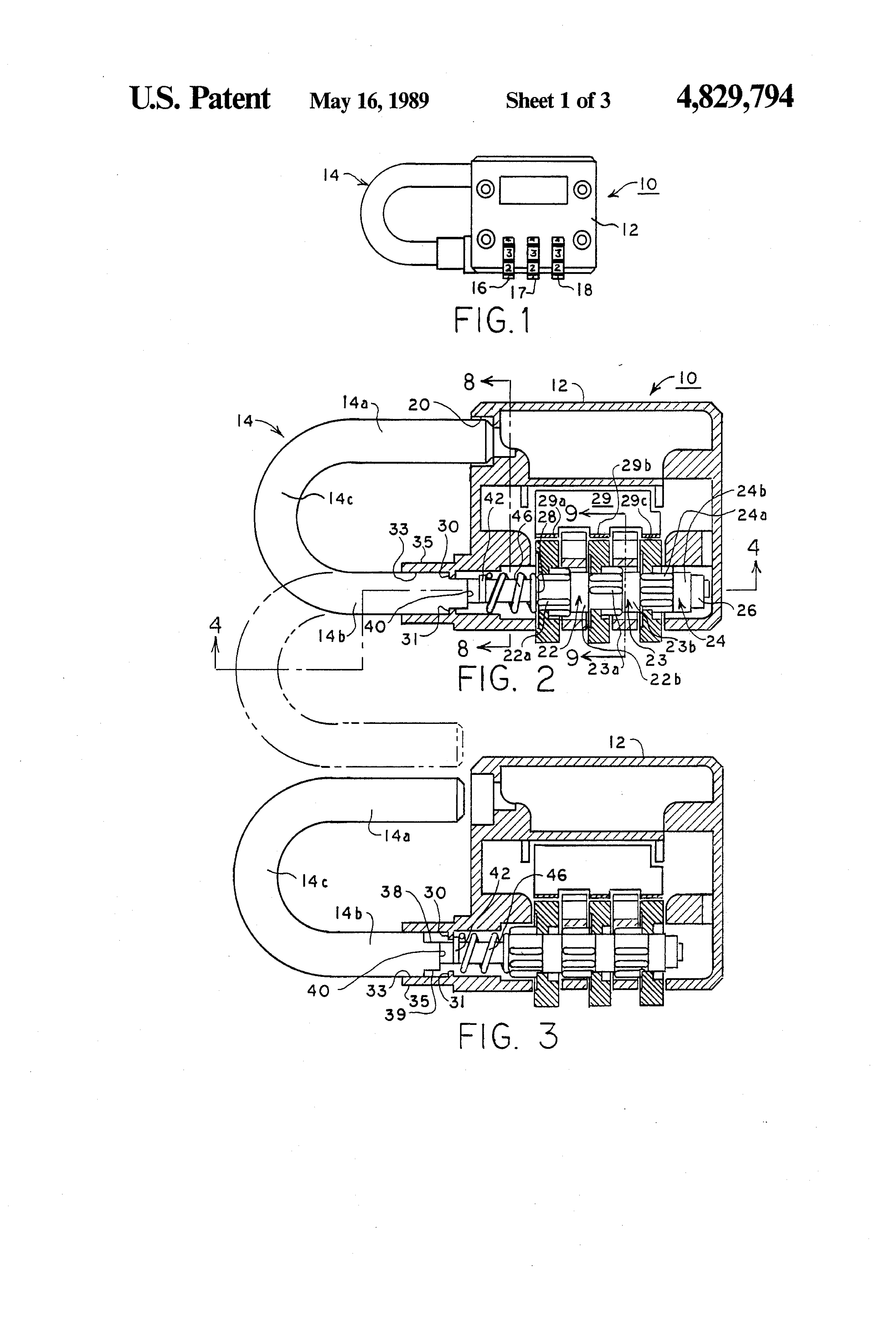
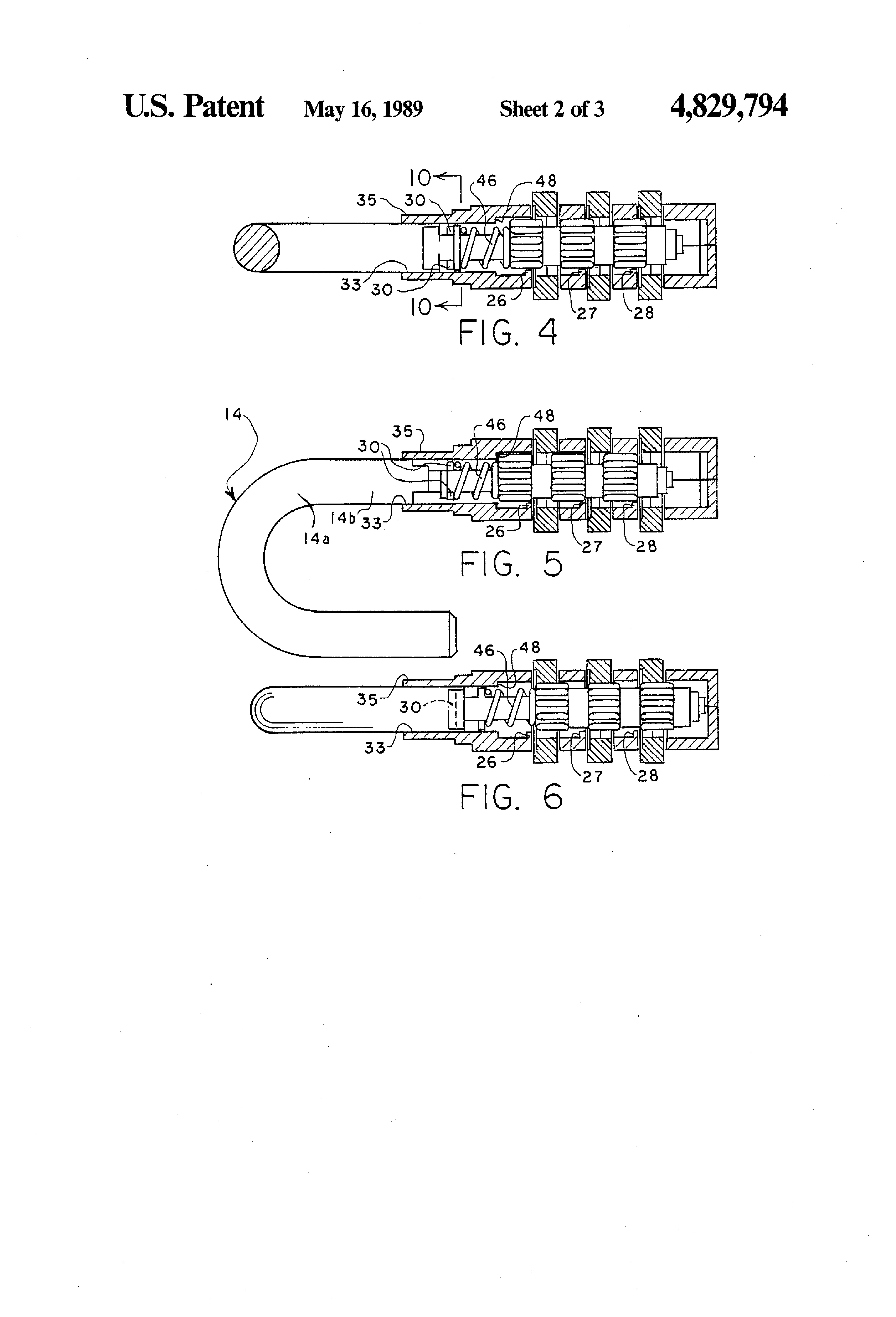
Patent 4829794
Padlock Patent — Combo
Patent 4829794
Inventor:
Marlin D. Crown
View on USPTO / Google Patents ↗
Patent #
4829794
Issue Date
1988-05-09
Inventor
Marlin D. Crown
Assigned To
National Manufacturing Co
Type
Combo
Patent Drawings
Drawing 1
Drawing 2
Drawing 3
Patent Details
Patent Number
4829794
Issue Date
1988-05-09
Inventor
Marlin D. Crown
Assigned To
National Manufacturing Co
Patent Type
Combo
External Link
https://patents.google.com/patent/US4829794/en ↗
← 4829795
↑ Back to Patent Database
4829795 →