Est. March 2001 ·
10,247
Listings on File
Antique Padlocks
A Virtual Repository · James Brady
Home
›
Patent Database
›
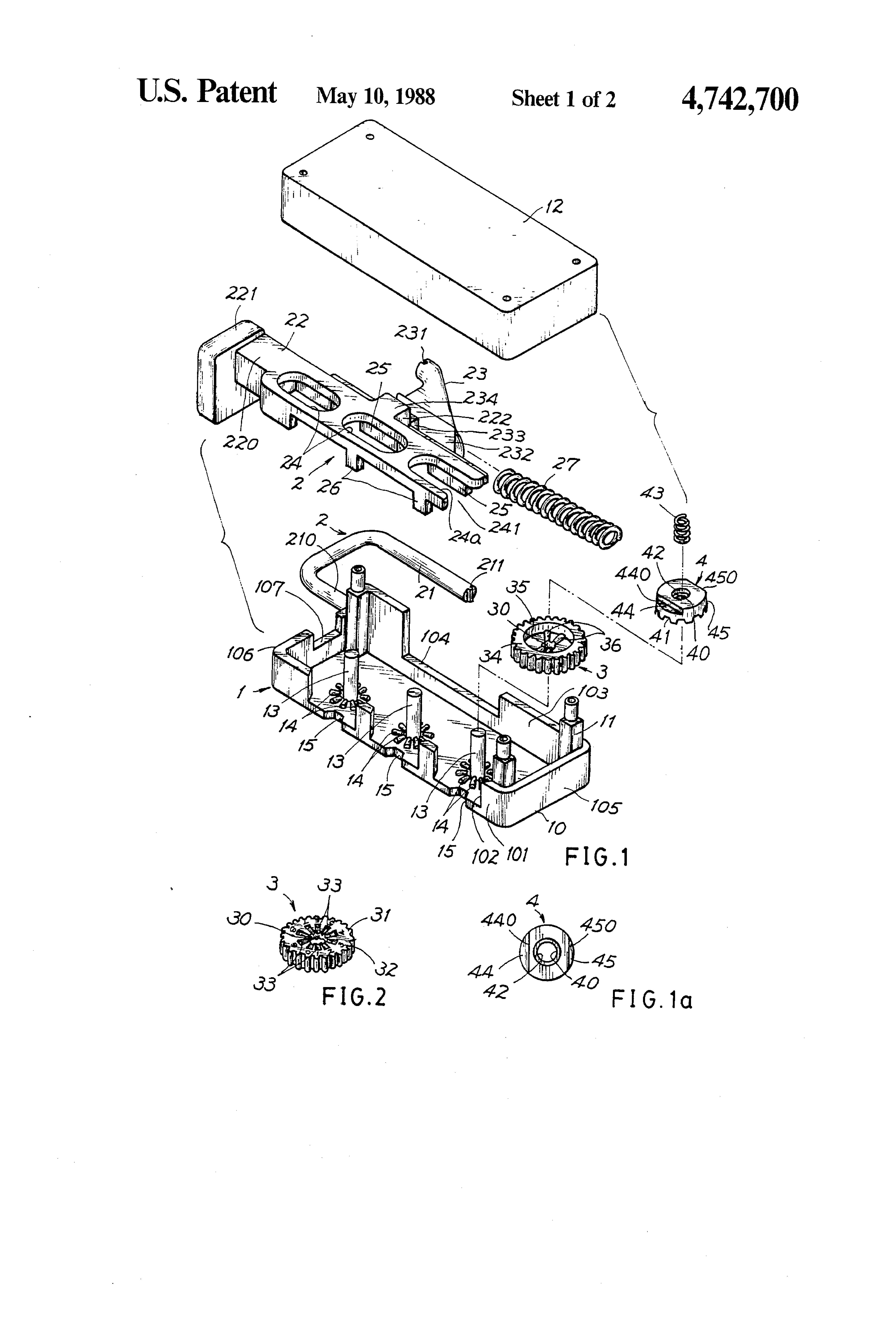
Patent 4742700
Padlock Patent — Combo
Patent 4742700
Inventor:
Chong-Kuan Ling
View on USPTO / Google Patents ↗
Patent #
4742700
Issue Date
1987-08-24
Inventor
Chong-Kuan Ling
Assigned To
Ling Chong Kuan
Type
Combo
Patent Drawings
Drawing 1
Drawing 2
Drawing 3
Patent Details
Patent Number
4742700
Issue Date
1987-08-24
Inventor
Chong-Kuan Ling
Assigned To
Ling Chong Kuan
Patent Type
Combo
External Link
https://patents.google.com/patent/US4742700/en ↗
← 4747281
↑ Back to Patent Database
4747281 →