Est. March 2001 ·
10,247
Listings on File
Antique Padlocks
A Virtual Repository · James Brady
Home
›
Patent Database
›
Patent 4689975
Padlock Patent — Keyed
Patent 4689975
Inventor:
Gerald F. Dunphy
View on USPTO / Google Patents ↗
Patent #
4689975
Issue Date
1986-08-05
Inventor
Gerald F. Dunphy
Assigned To
Ogden Industries Pty Ltd
Type
Keyed
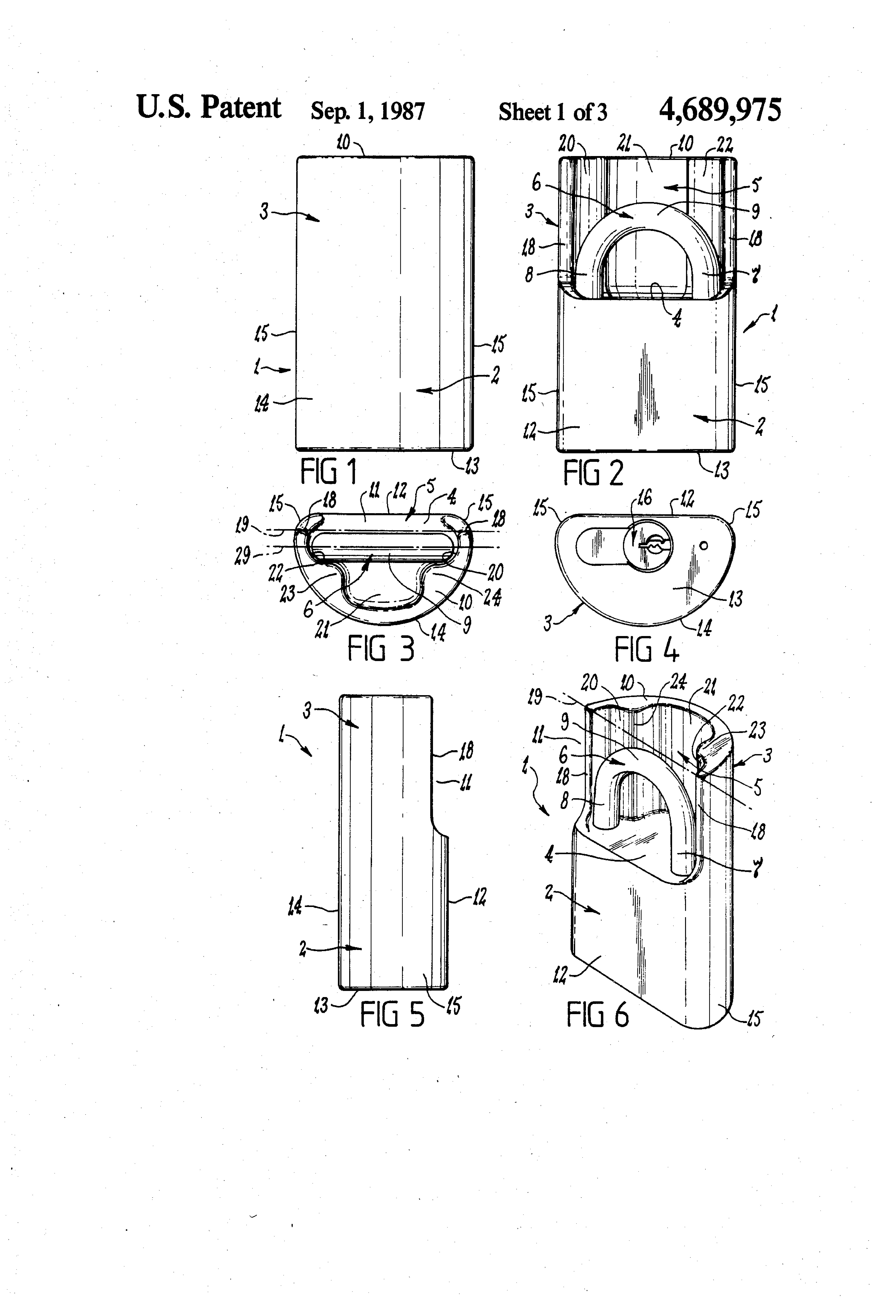
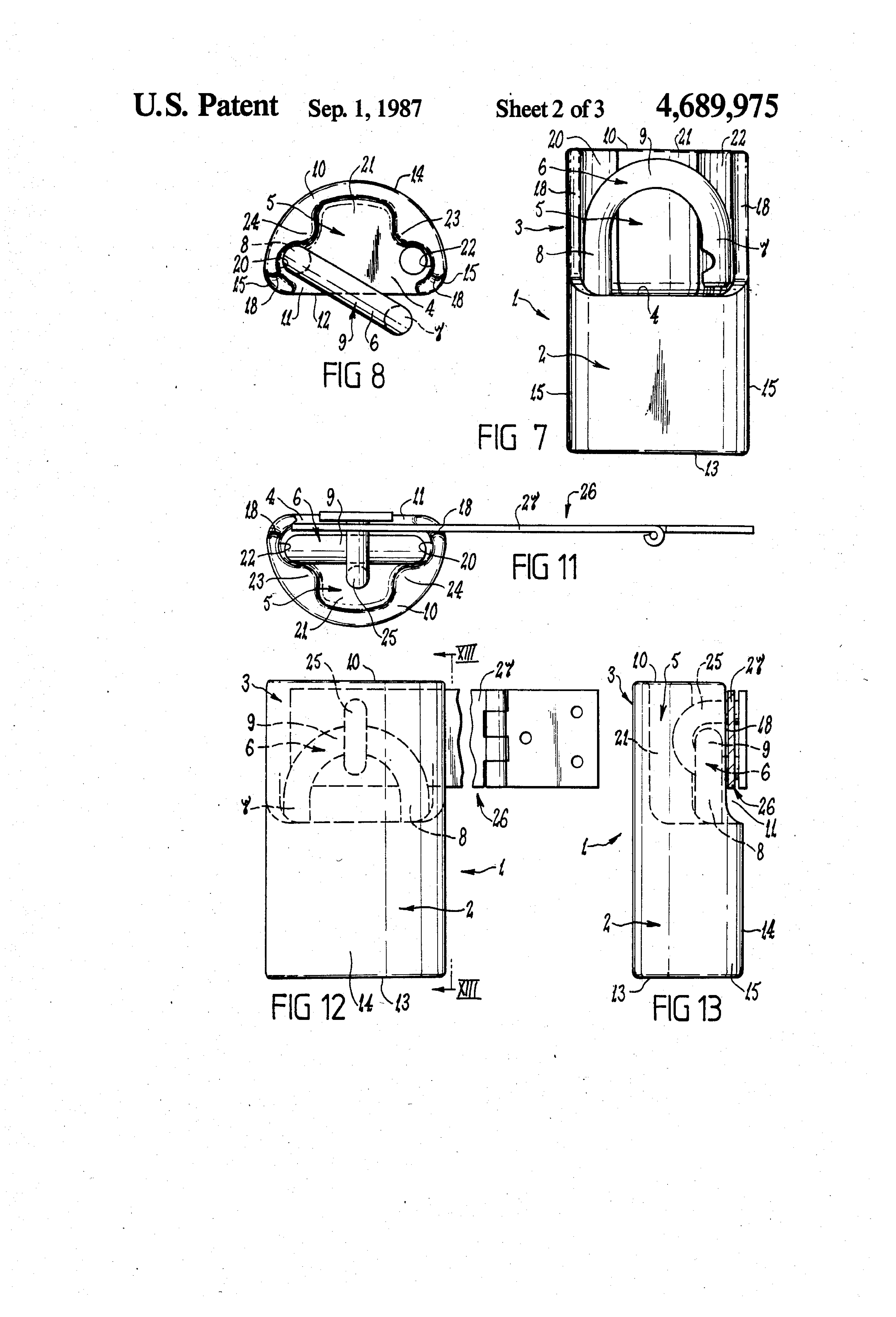
Patent Drawings
Drawing 1
Drawing 2
Drawing 3
Patent Details
Patent Number
4689975
Issue Date
1986-08-05
Inventor
Gerald F. Dunphy
Assigned To
Ogden Industries Pty Ltd
Patent Type
Keyed
External Link
https://patents.google.com/patent/US4689975/en ↗
← 469950
↑ Back to Patent Database
469950 →