Est. March 2001  ·  10,247 Listings on File

Padlock Patent — Combo

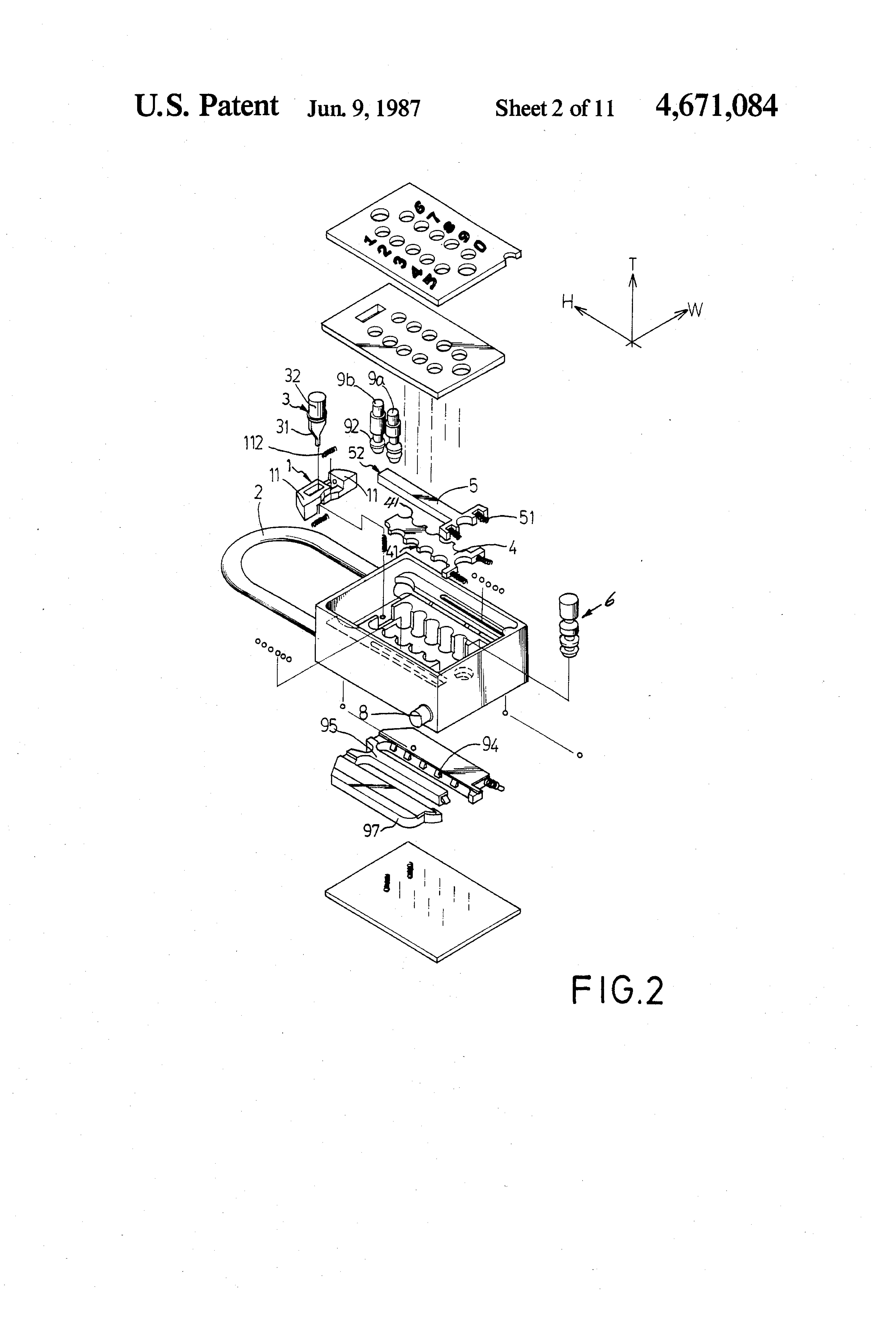
Patent 4671084

Inventor: Yung S. Lin

View on USPTO / Google Patents ↗
Patent # 4671084
Issue Date 1985-06-26
Inventor Yung S. Lin
Type Combo

Patent Drawings

Patent Details

Patent Number 4671084
Issue Date 1985-06-26
Inventor Yung S. Lin
Patent Type Combo
External Link https://patents.google.com/patent/US4671084/en ↗
↑ Back to Patent Database