Est. March 2001 ·
10,247
Listings on File
Antique Padlocks
A Virtual Repository · James Brady
Home
›
Patent Database
›
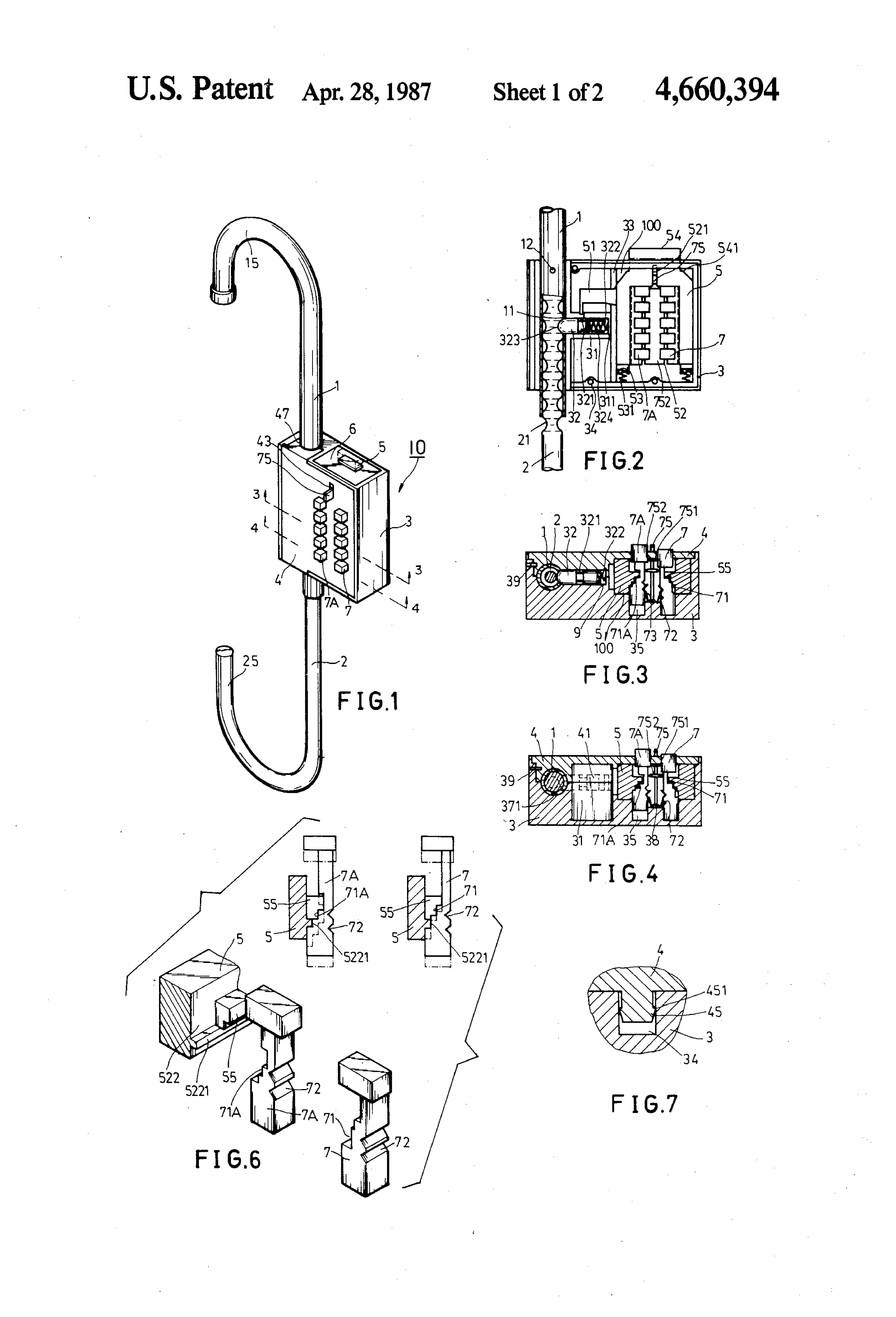
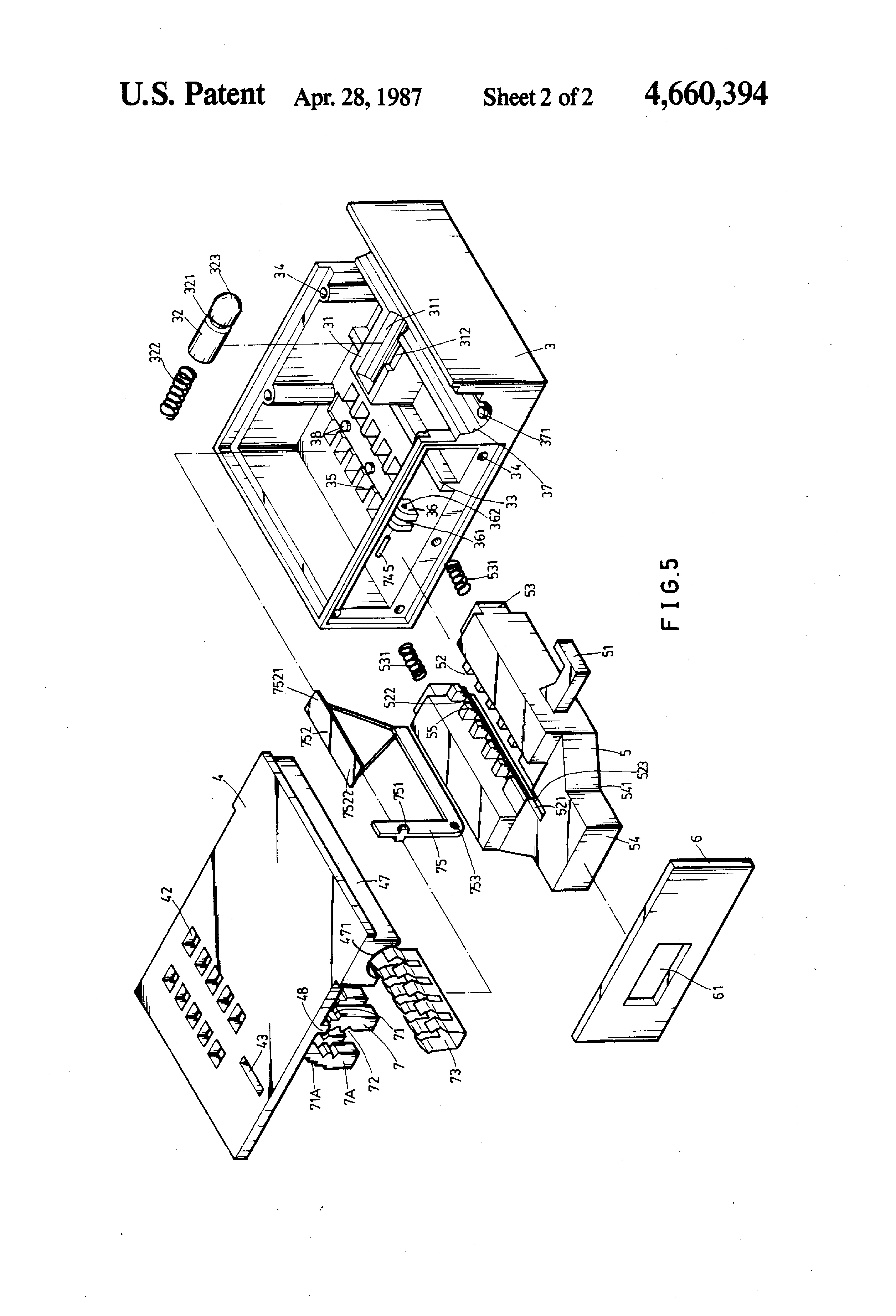
Patent 4660394
Padlock Patent — Combo
Patent 4660394
Inventor:
Jan Y. Wu
View on USPTO / Google Patents ↗
Patent #
4660394
Issue Date
1985-02-22
Inventor
Jan Y. Wu
Type
Combo
Patent Drawings
Drawing 1
Drawing 2
Drawing 3
Patent Details
Patent Number
4660394
Issue Date
1985-02-22
Inventor
Jan Y. Wu
Patent Type
Combo
External Link
https://patents.google.com/patent/US4660394/en ↗
← 4665724
↑ Back to Patent Database
4665724 →