Est. March 2001 ·
10,246
Listings on File
Antique Padlocks
A Virtual Repository · James Brady
Home
›
Patent Database
›
Patent 4641505
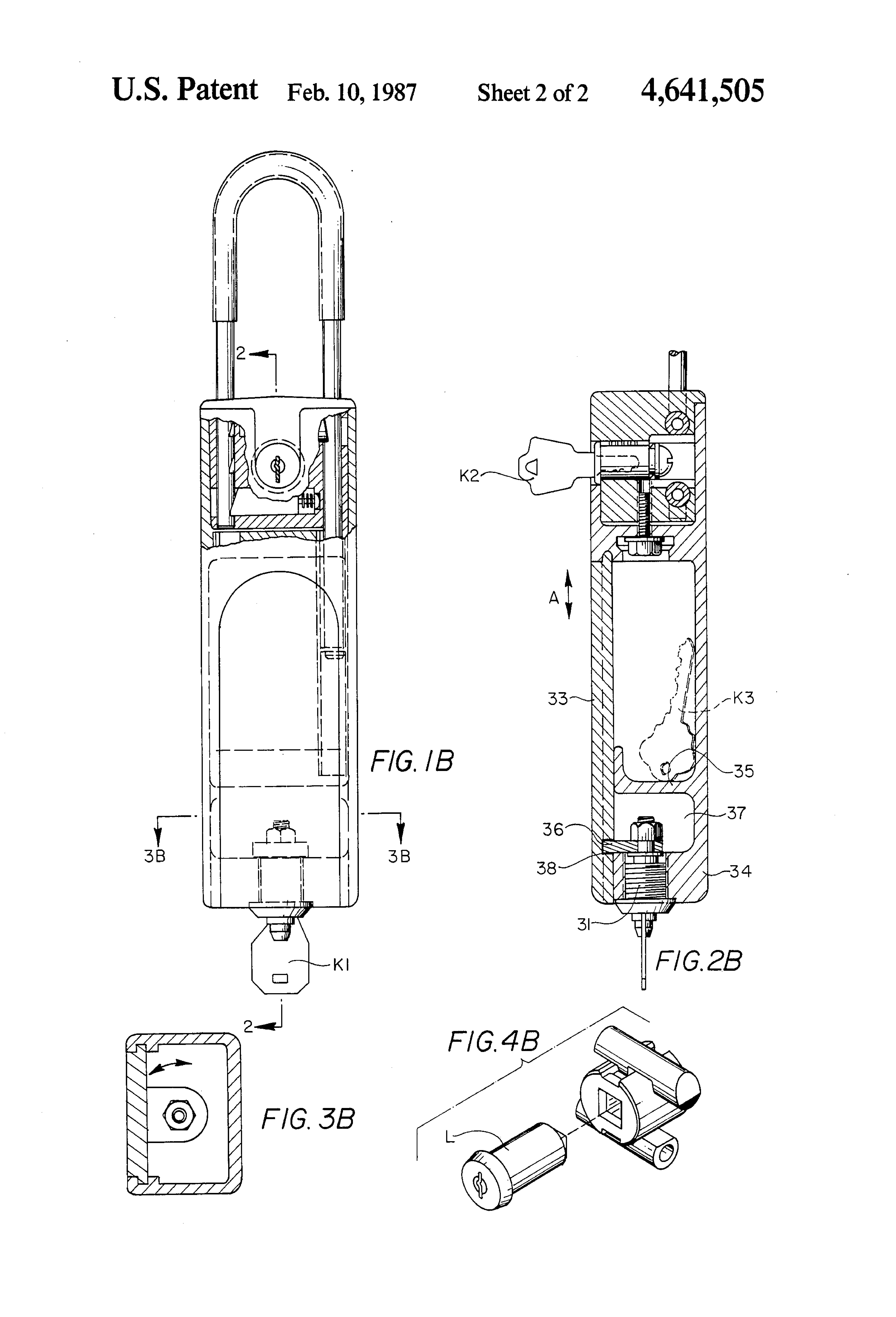
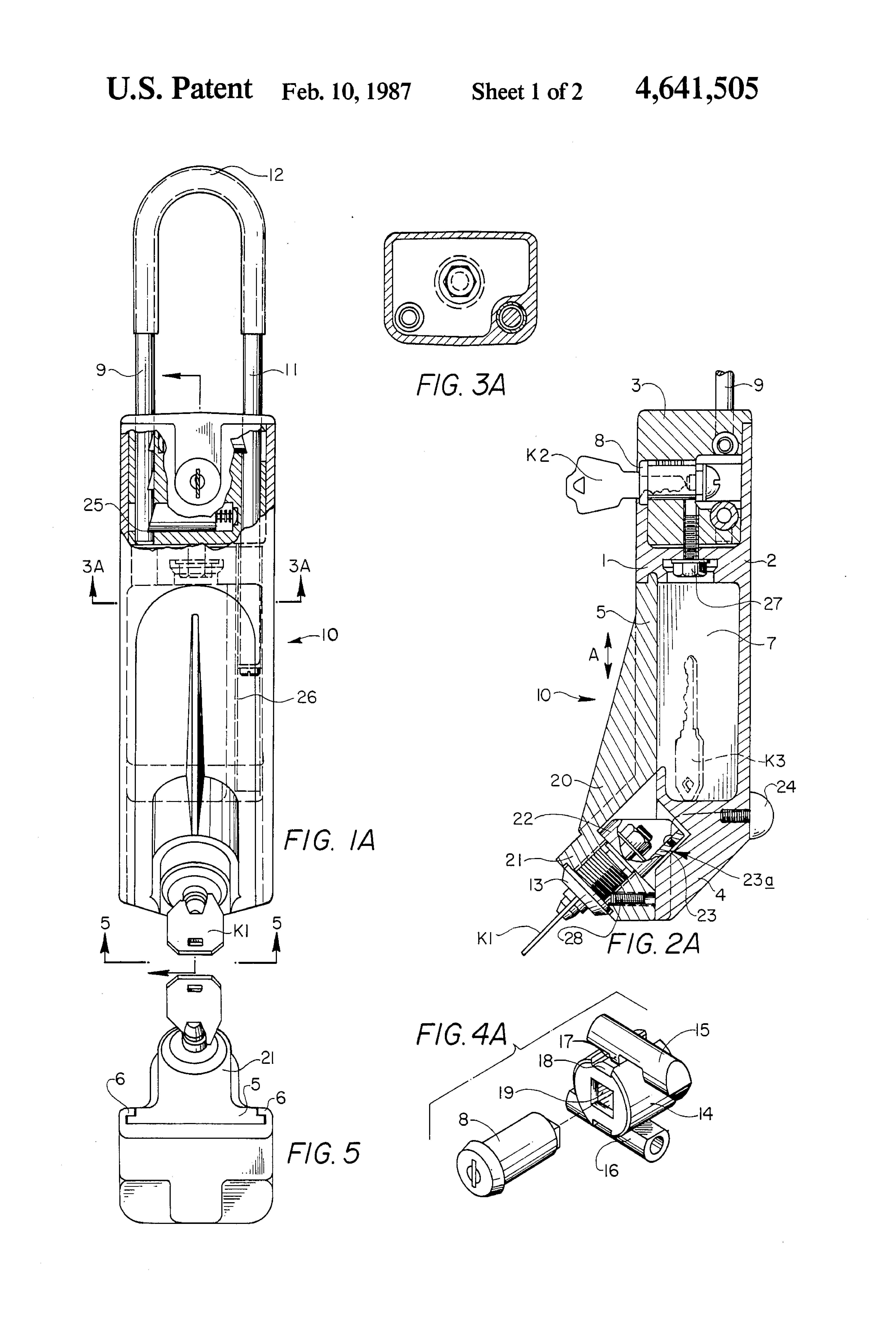
Padlock Patent — Keyed
Patent 4641505
Inventor:
Thomas A. Maurice
View on USPTO / Google Patents ↗
Patent #
4641505
Issue Date
1985-03-01
Inventor
Thomas A. Maurice
Type
Keyed
Patent Drawings
Drawing 1
Drawing 2
Drawing 3
Patent Details
Patent Number
4641505
Issue Date
1985-03-01
Inventor
Thomas A. Maurice
Patent Type
Keyed
External Link
https://patents.google.com/patent/US4641505/en ↗
← 464765
↑ Back to Patent Database
464765 →