Est. March 2001 ·
10,246
Listings on File
Antique Padlocks
A Virtual Repository · James Brady
Home
›
Patent Database
›
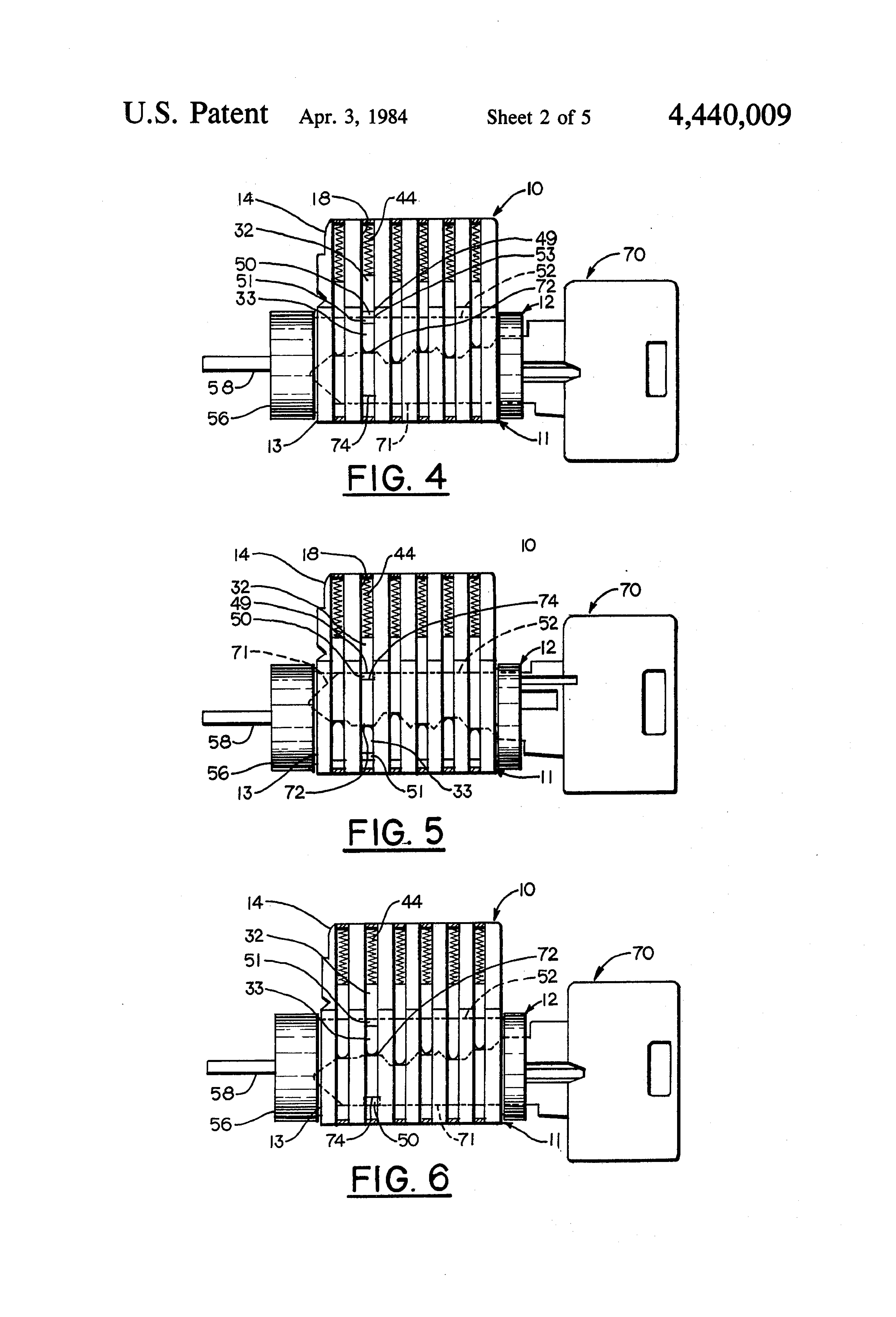
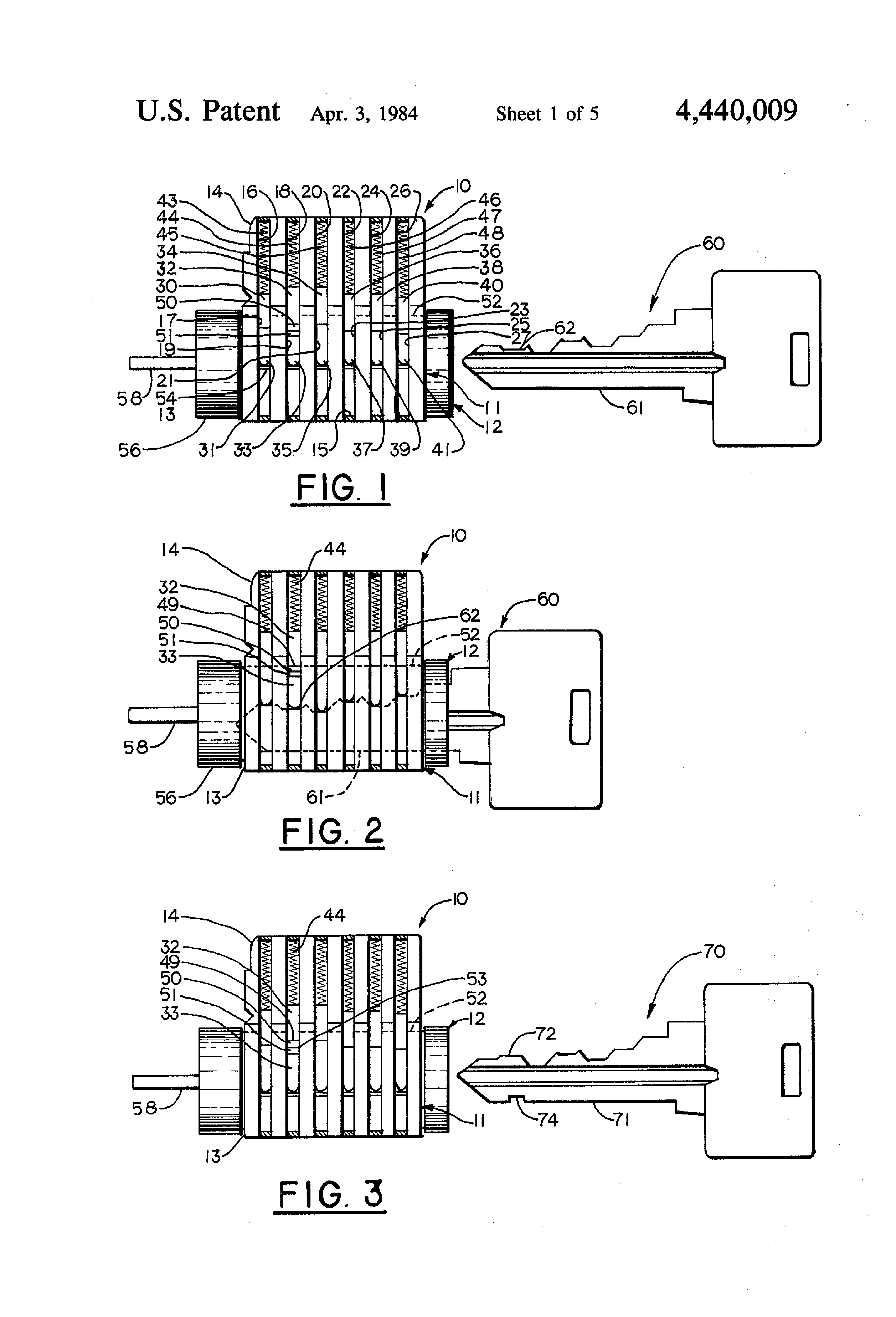
Patent 4440009
Padlock Patent — Keyed
Patent 4440009
Inventor:
Jerry R. Smith
View on USPTO / Google Patents ↗
Patent #
4440009
Issue Date
1981-12-07
Inventor
Jerry R. Smith
Assigned To
INNOVATIVE RESEARCH Corp A CORP OF CO
Type
Keyed
Patent Drawings
Drawing 1
Drawing 2
Drawing 3
Patent Details
Patent Number
4440009
Issue Date
1981-12-07
Inventor
Jerry R. Smith
Assigned To
INNOVATIVE RESEARCH Corp A CORP OF CO
Patent Type
Keyed
External Link
https://patents.google.com/patent/US4440009/en ↗
← 4444029
↑ Back to Patent Database
4444029 →