Est. March 2001 ·
10,246
Listings on File
Antique Padlocks
A Virtual Repository · James Brady
Home
›
Patent Database
›
Patent 4354365
Padlock Patent — Combo
Patent 4354365
Inventor:
Siegfried Mayer
View on USPTO / Google Patents ↗
Patent #
4354365
Issue Date
1981-02-19
Inventor
Siegfried Mayer
Assigned To
Aug Winkhaus GmbH and Co KG
Type
Combo
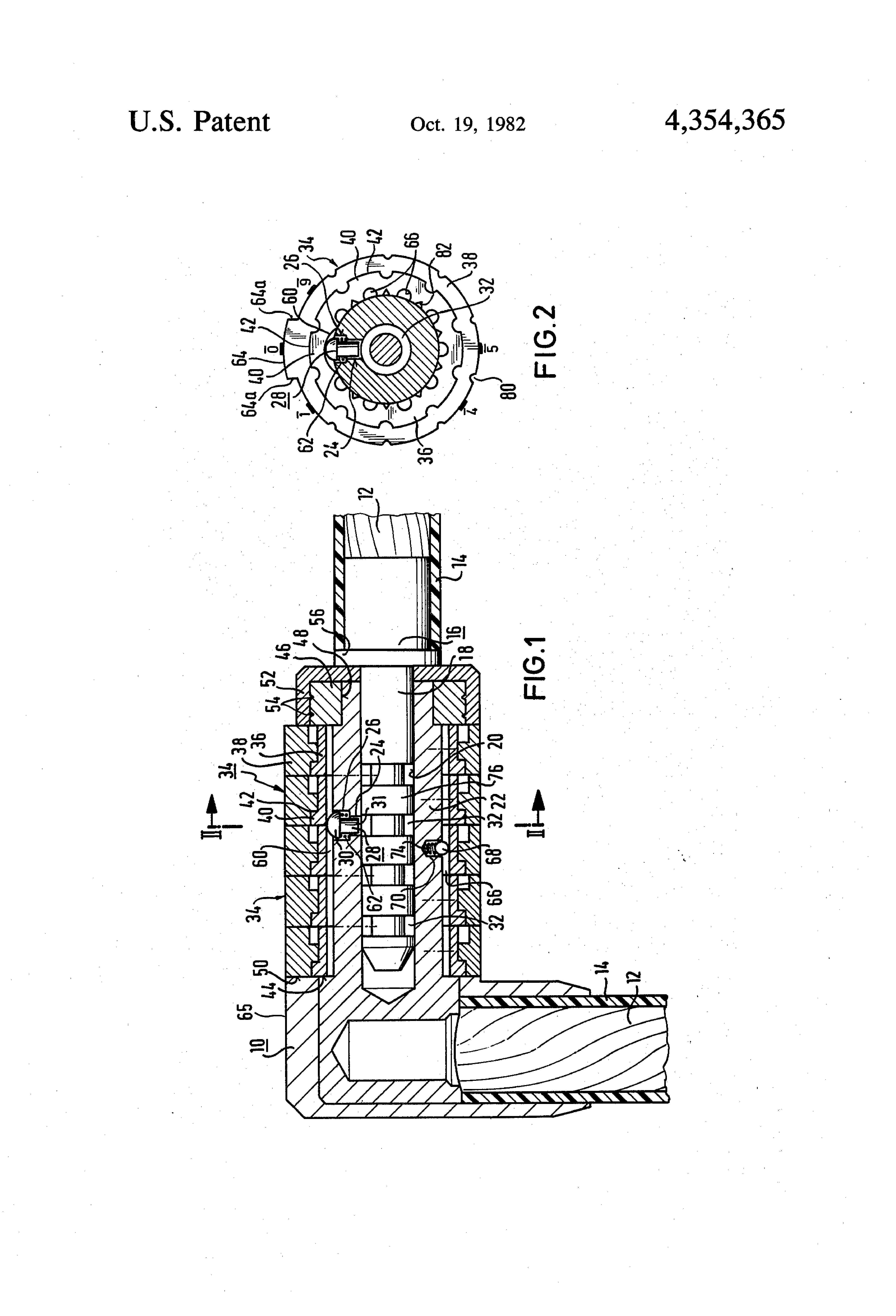
Patent Drawings
Drawing 1
Drawing 2
Drawing 3
Patent Details
Patent Number
4354365
Issue Date
1981-02-19
Inventor
Siegfried Mayer
Assigned To
Aug Winkhaus GmbH and Co KG
Patent Type
Combo
External Link
https://patents.google.com/patent/US4354365/en ↗
← 4372138
↑ Back to Patent Database
4372138 →