Est. March 2001 ·
10,247
Listings on File
Antique Padlocks
A Virtual Repository · James Brady
Home
›
Patent Database
›
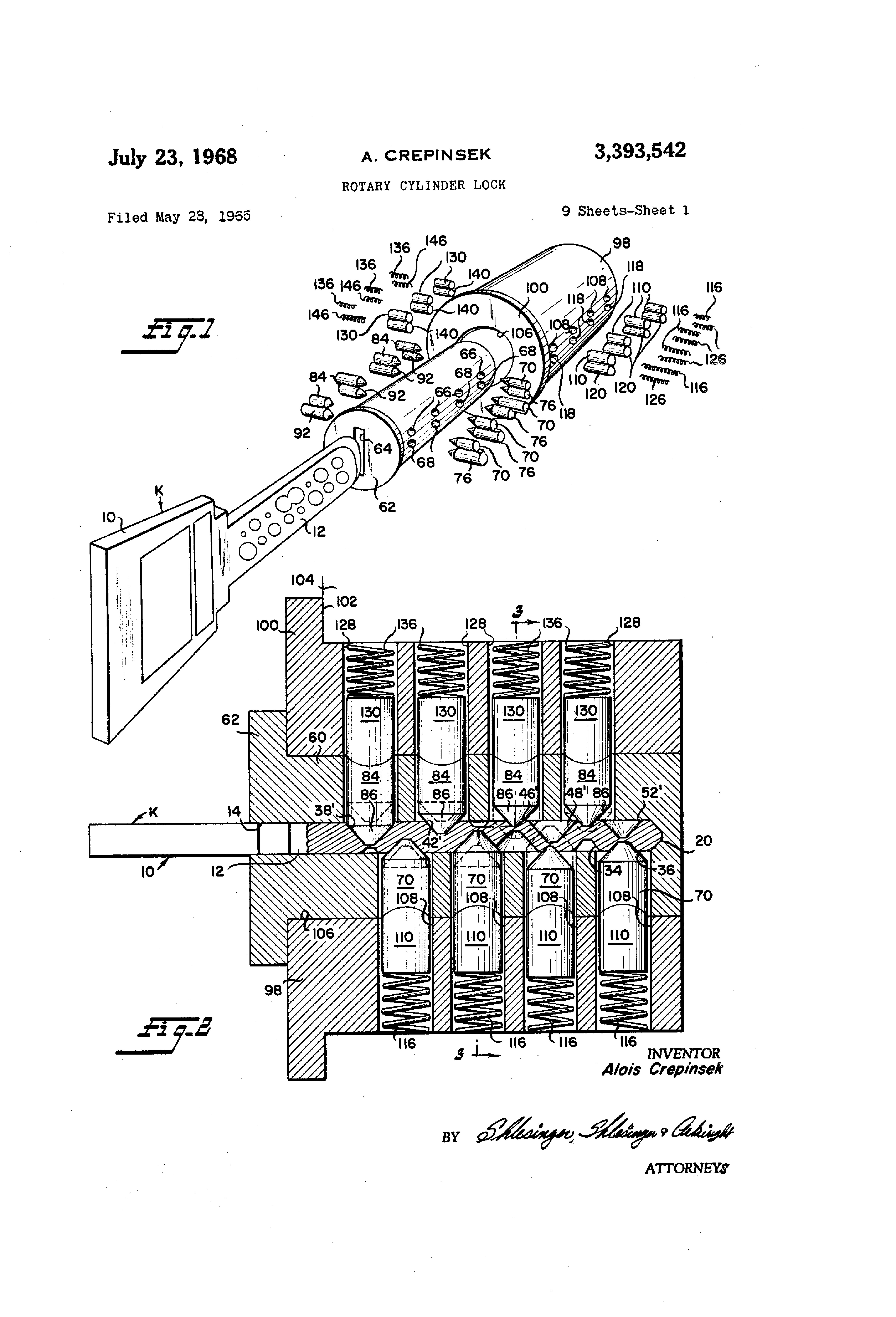
Patent 3393542
Padlock Patent — Keyed
Patent 3393542
Inventor:
Crepinsek Alois
View on USPTO / Google Patents ↗
Patent #
3393542
Issue Date
1965-05-28
Inventor
Crepinsek Alois
Assigned To
777 Lock & Engineering Corp
Type
Keyed
Patent Drawings
Drawing 1
Drawing 2
Drawing 3
Patent Details
Patent Number
3393542
Issue Date
1965-05-28
Inventor
Crepinsek Alois
Assigned To
777 Lock & Engineering Corp
Patent Type
Keyed
External Link
https://patents.google.com/patent/US3393542/en ↗
← 3404549
↑ Back to Patent Database
3404549 →