Est. March 2001  ·  10,247 Listings on File

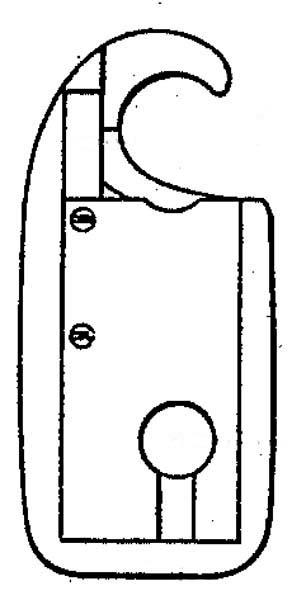
Padlock Patent — Lever

Patent 294058

Inventor: Martens, August Friedrich

View on USPTO / Google Patents ↗
Patent # 294058
Issue Date February 26, 1884
Inventor Martens, August Friedrich
Type Lever

Patent Drawings

Patent Notes

Classification: 70/19

Patent Details

Patent Number 294058
Issue Date February 26, 1884
Inventor Martens, August Friedrich
Patent Type Lever
External Link https://patents.google.com/patent/US294058 ↗
↑ Back to Patent Database