Est. March 2001 ·
10,247
Listings on File
Antique Padlocks
A Virtual Repository · James Brady
Home
›
Patent Database
›
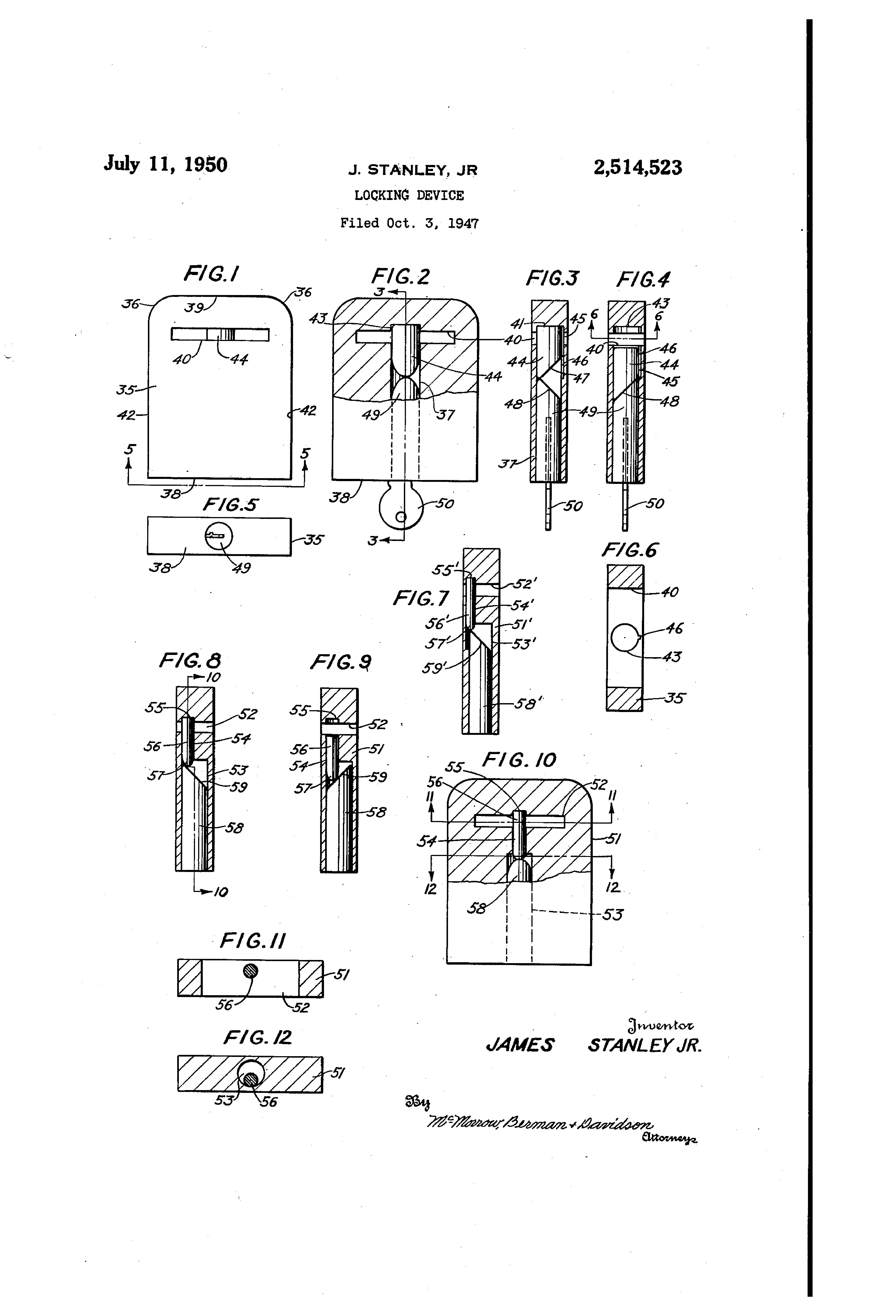
Patent 2514523
Padlock Patent — Keyed
Patent 2514523
Inventor:
Jr James Stanley
View on USPTO / Google Patents ↗
Patent #
2514523
Issue Date
1947-10-03
Inventor
Jr James Stanley
Type
Keyed
Patent Drawings
Drawing 1
Drawing 2
Drawing 3
Patent Details
Patent Number
2514523
Issue Date
1947-10-03
Inventor
Jr James Stanley
Patent Type
Keyed
External Link
https://patents.google.com/patent/US2514523/en ↗
← 2629247
↑ Back to Patent Database
2629247 →