Est. March 2001 ·
10,247
Listings on File
Antique Padlocks
A Virtual Repository · James Brady
Home
›
Patent Database
›
Patent 20090158792
Padlock Patent — Keyed
Patent 20090158792
Inventor:
Jukka Lasaroff
View on USPTO / Google Patents ↗
Patent #
20090158792
Issue Date
2007-12-21
Inventor
Jukka Lasaroff
Assigned To
Abloy Oy
Type
Keyed
Patent Drawings
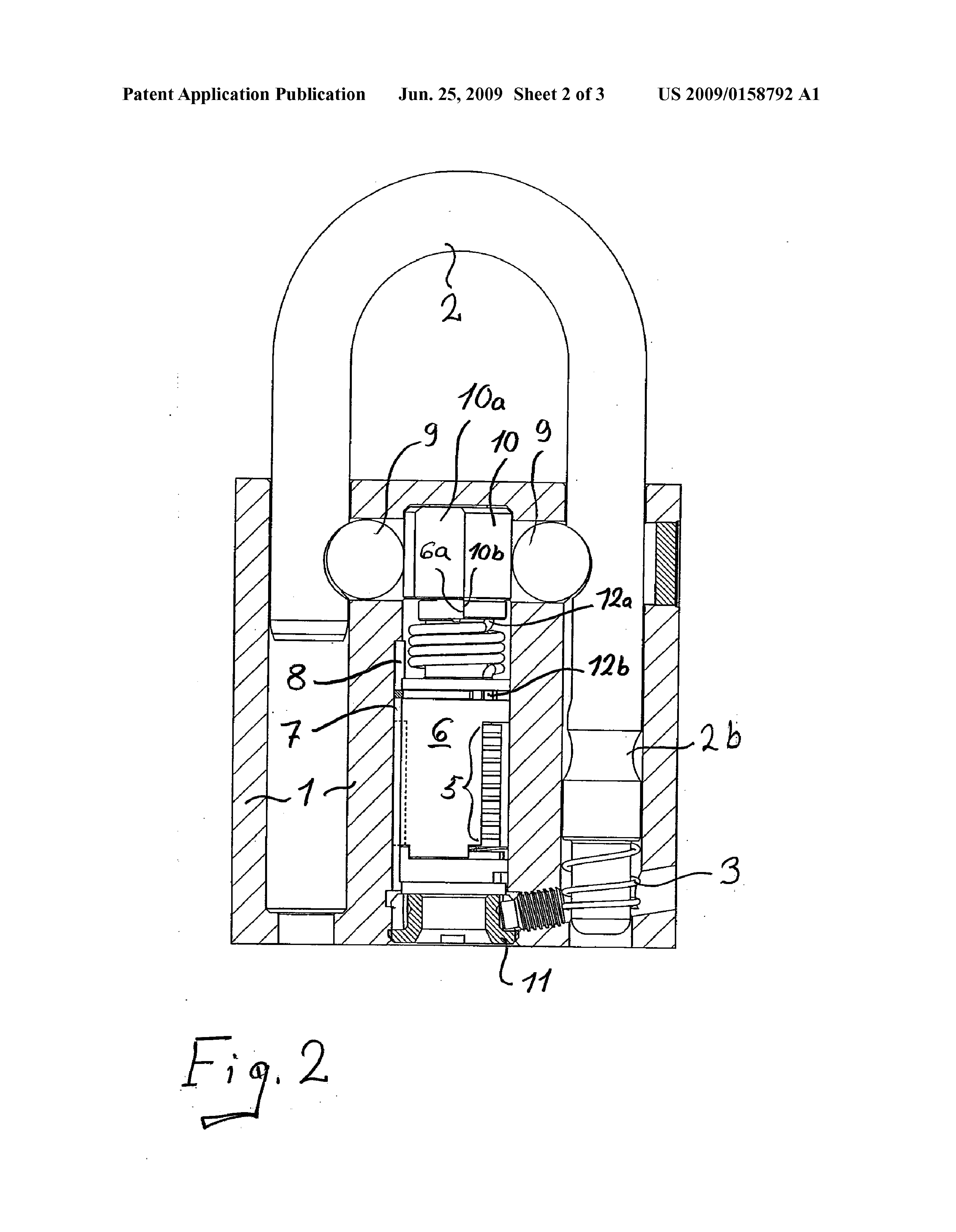
Drawing 1
Drawing 2
Drawing 3
Patent Details
Patent Number
20090158792
Issue Date
2007-12-21
Inventor
Jukka Lasaroff
Assigned To
Abloy Oy
Patent Type
Keyed
External Link
https://patents.google.com/patent/US20090158792/en ↗
← 20090188282
↑ Back to Patent Database
20090188282 →