Est. March 2001  ·  10,247 Listings on File

Padlock Patent — Keyed

Patent 20080282753

Inventor: Rosemarie Hecht

View on USPTO / Google Patents ↗
Patent # 20080282753
Issue Date 2005-09-16
Inventor Rosemarie Hecht
Assigned To SCHLOSSSICHERUNGEN GERA GmbH
Type Keyed

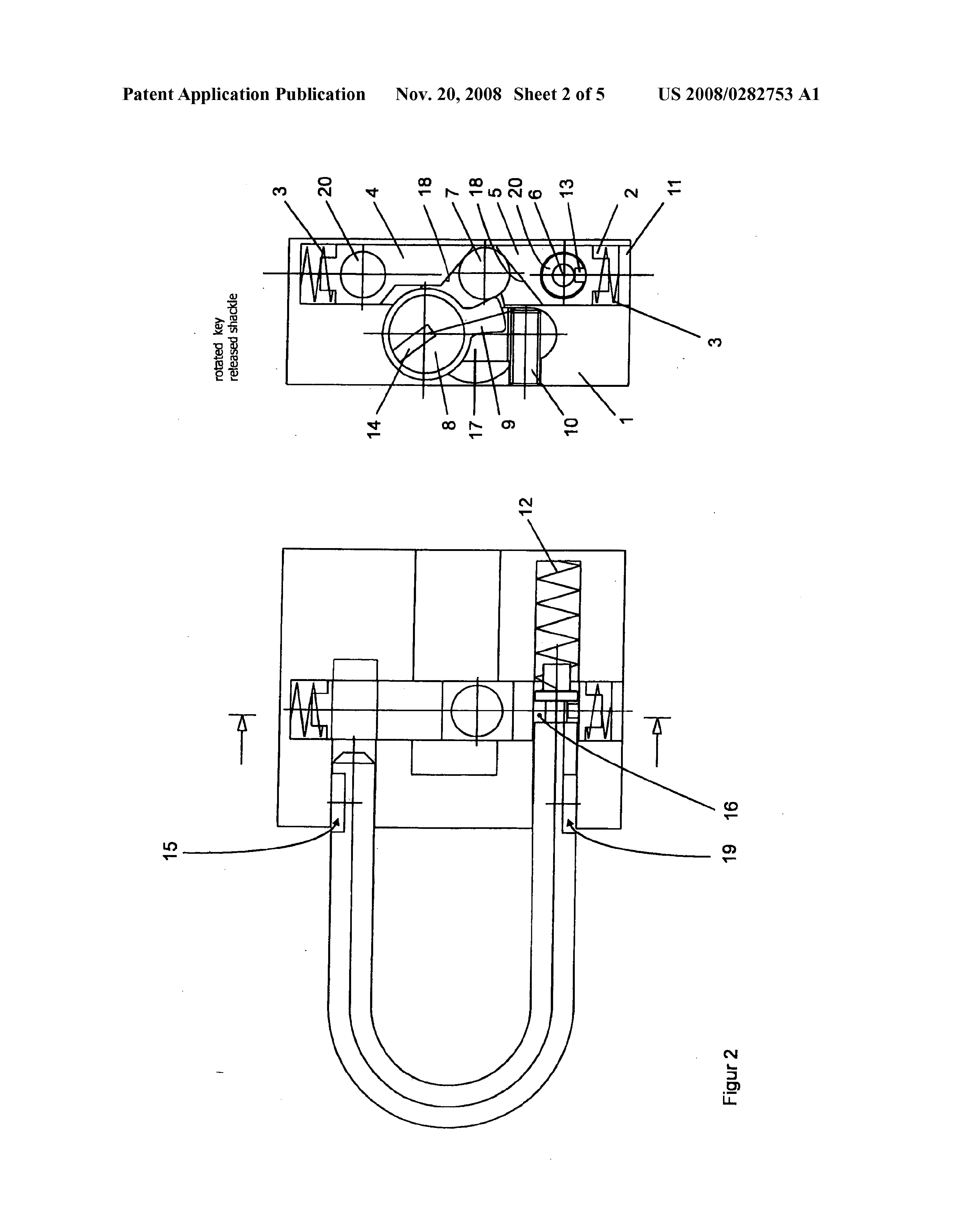
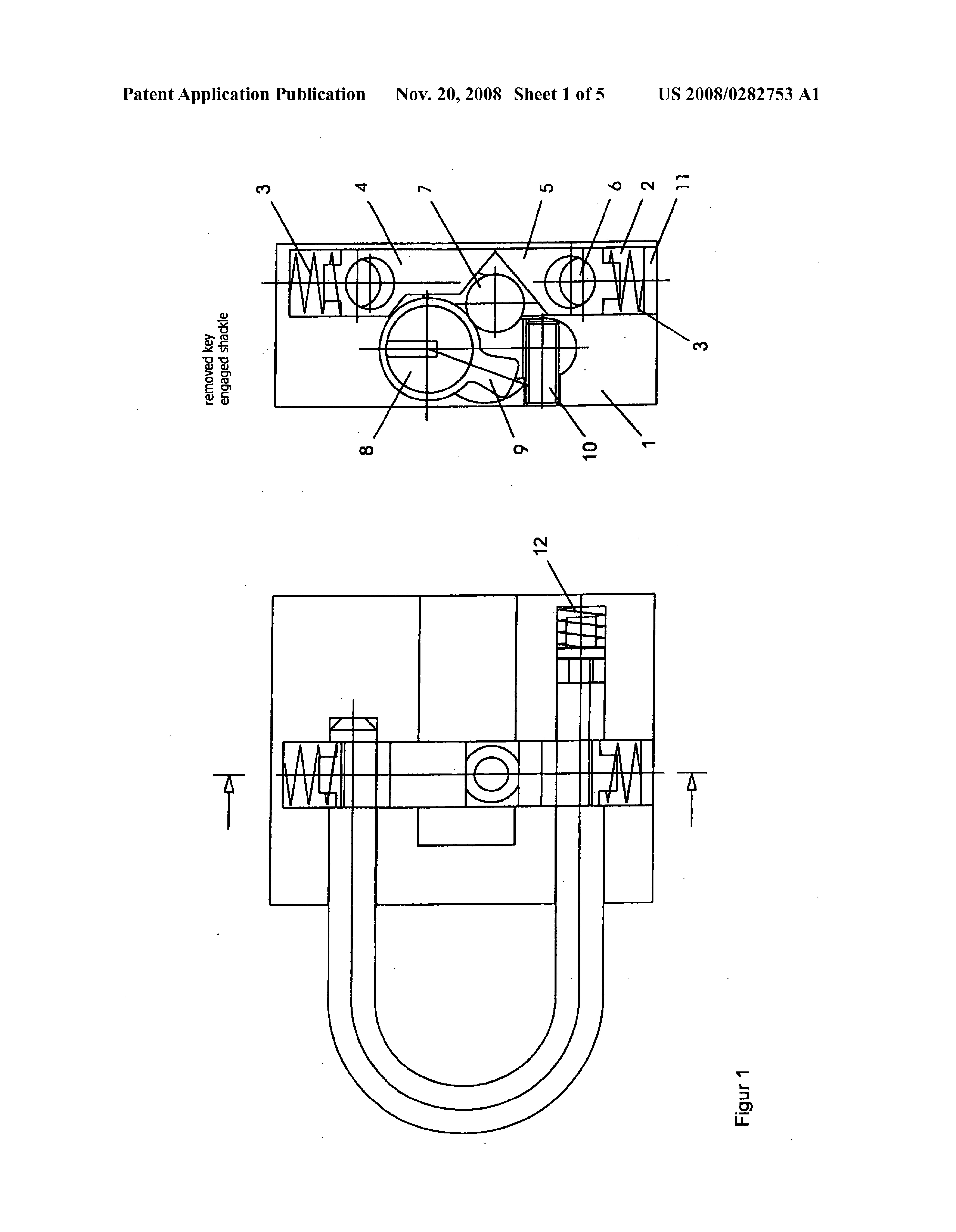
Patent Drawings

Patent Details

Patent Number 20080282753
Issue Date 2005-09-16
Inventor Rosemarie Hecht
Assigned To SCHLOSSSICHERUNGEN GERA GmbH
Patent Type Keyed
External Link https://patents.google.com/patent/US20080282753/en ↗
↑ Back to Patent Database