Est. March 2001  ·  10,247 Listings on File

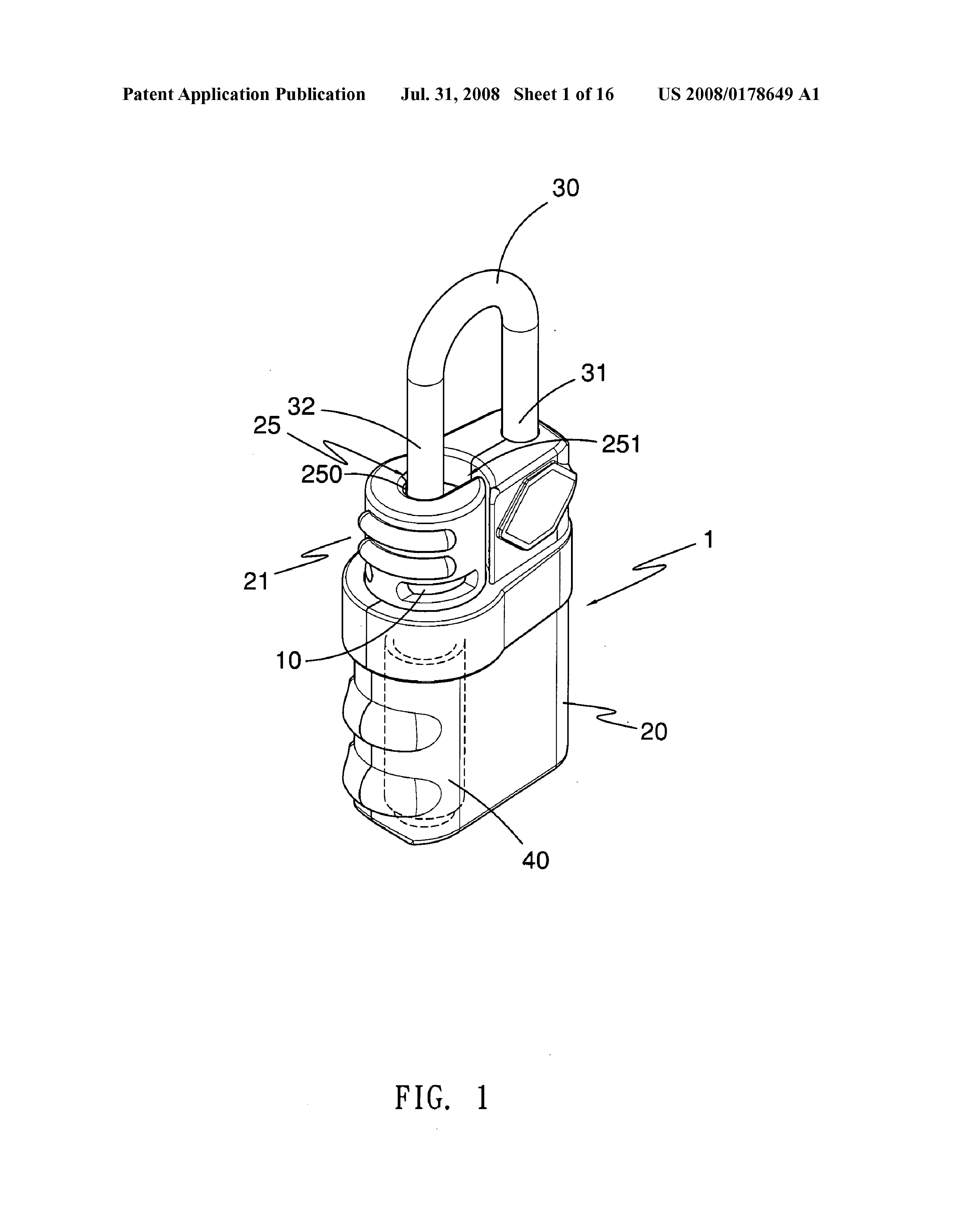
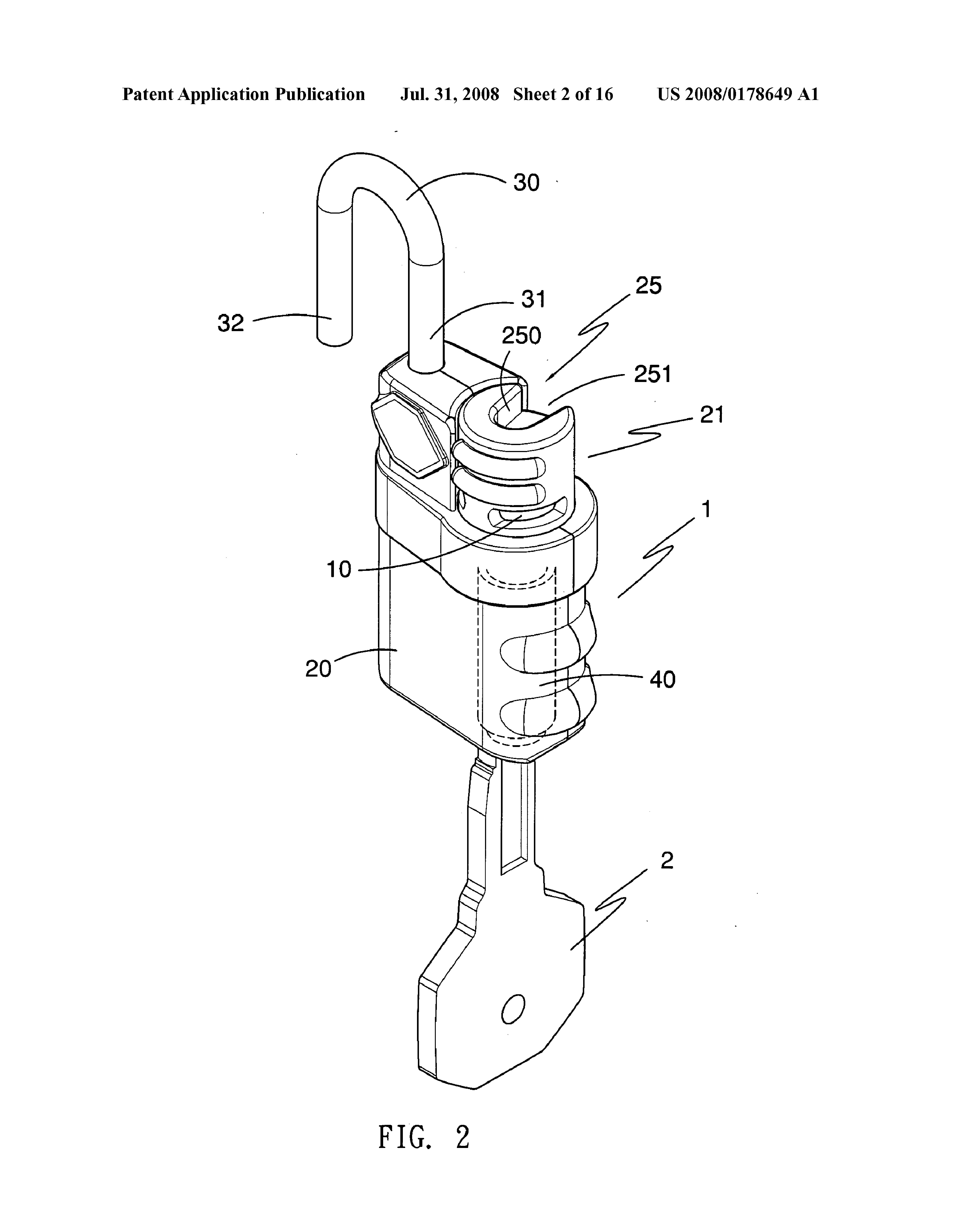
Padlock Patent — Keyed

Patent 20080178649

Inventor: Chun Te Yu

View on USPTO / Google Patents ↗
Patent # 20080178649
Issue Date 2008-03-26
Inventor Chun Te Yu
Type Keyed

Patent Drawings

Patent Details

Patent Number 20080178649
Issue Date 2008-03-26
Inventor Chun Te Yu
Patent Type Keyed
External Link https://patents.google.com/patent/US20080178649/en ↗
↑ Back to Patent Database