Est. March 2001 ·
10,247
Listings on File
Antique Padlocks
A Virtual Repository · James Brady
Home
›
Patent Database
›
Patent 20080000274
Padlock Patent — Keyed
Patent 20080000274
Inventor:
Chun Te Yu
View on USPTO / Google Patents ↗
Patent #
20080000274
Issue Date
2006-08-15
Inventor
Chun Te Yu
Type
Keyed
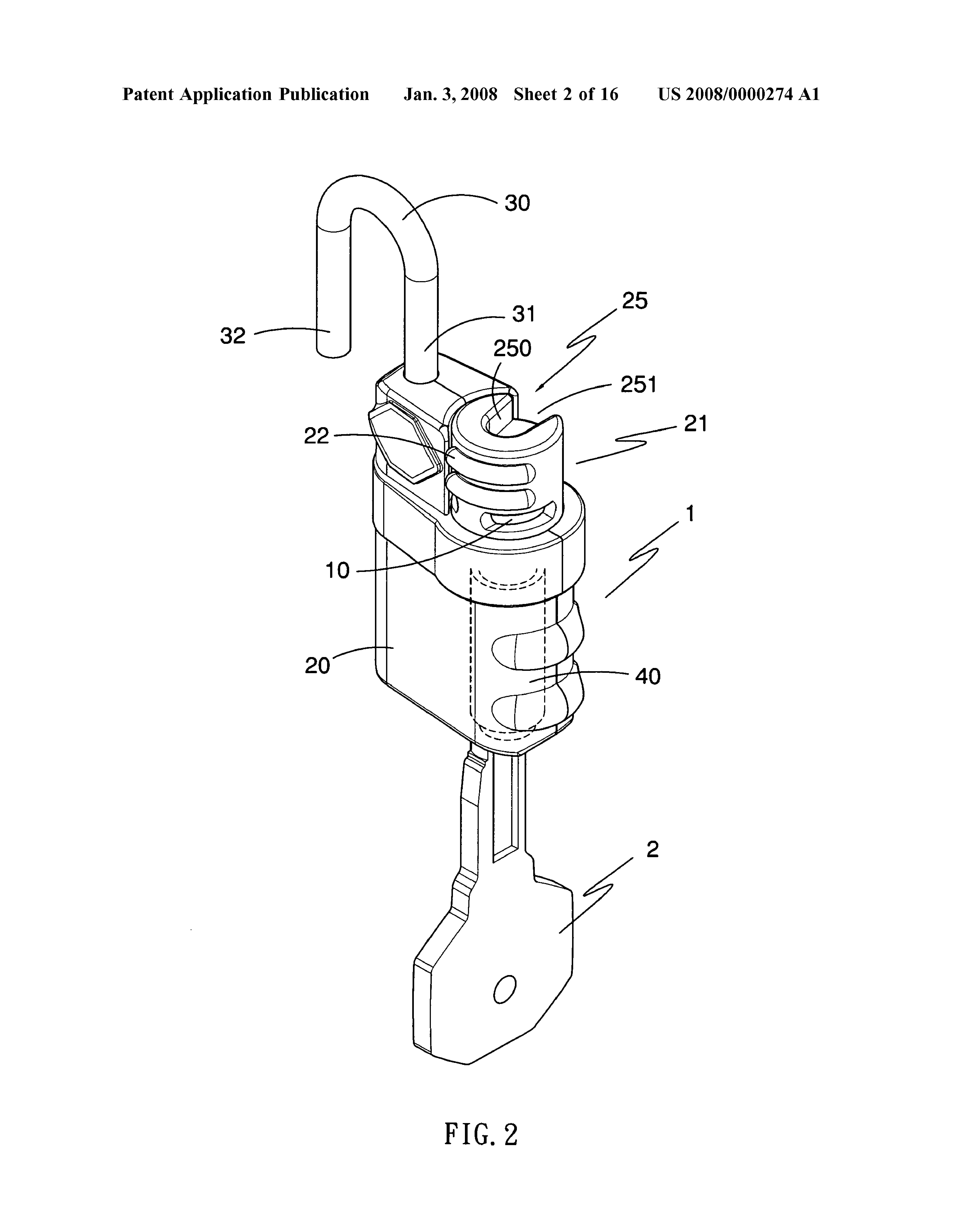
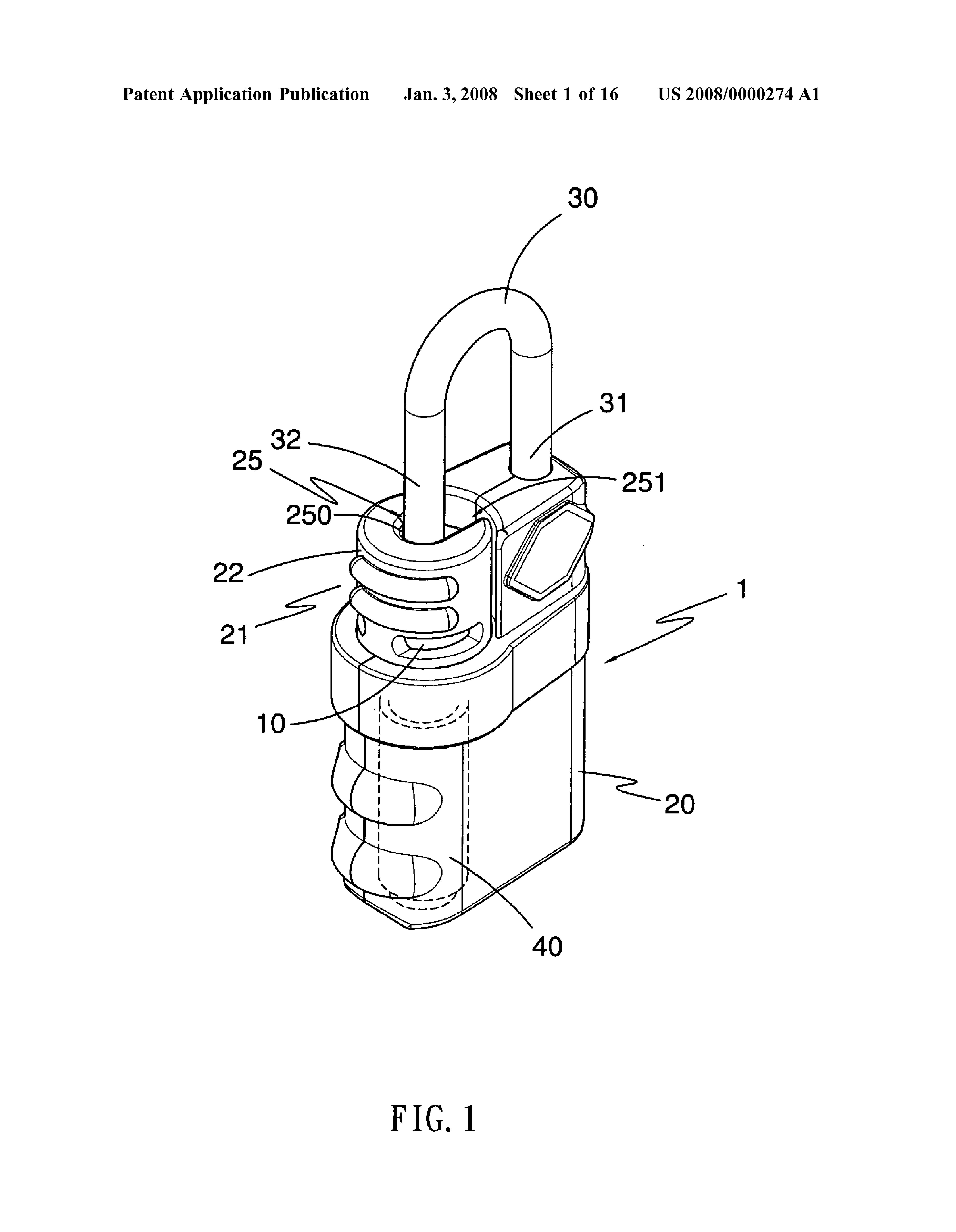
Patent Drawings
Drawing 1
Drawing 2
Drawing 3
Patent Details
Patent Number
20080000274
Issue Date
2006-08-15
Inventor
Chun Te Yu
Patent Type
Keyed
External Link
https://patents.google.com/patent/US20080000274/en ↗
← 20080006066
↑ Back to Patent Database
20080006066 →