Est. March 2001 ·
10,247
Listings on File
Antique Padlocks
A Virtual Repository · James Brady
Home
›
Patent Database
›
Patent 20070157679
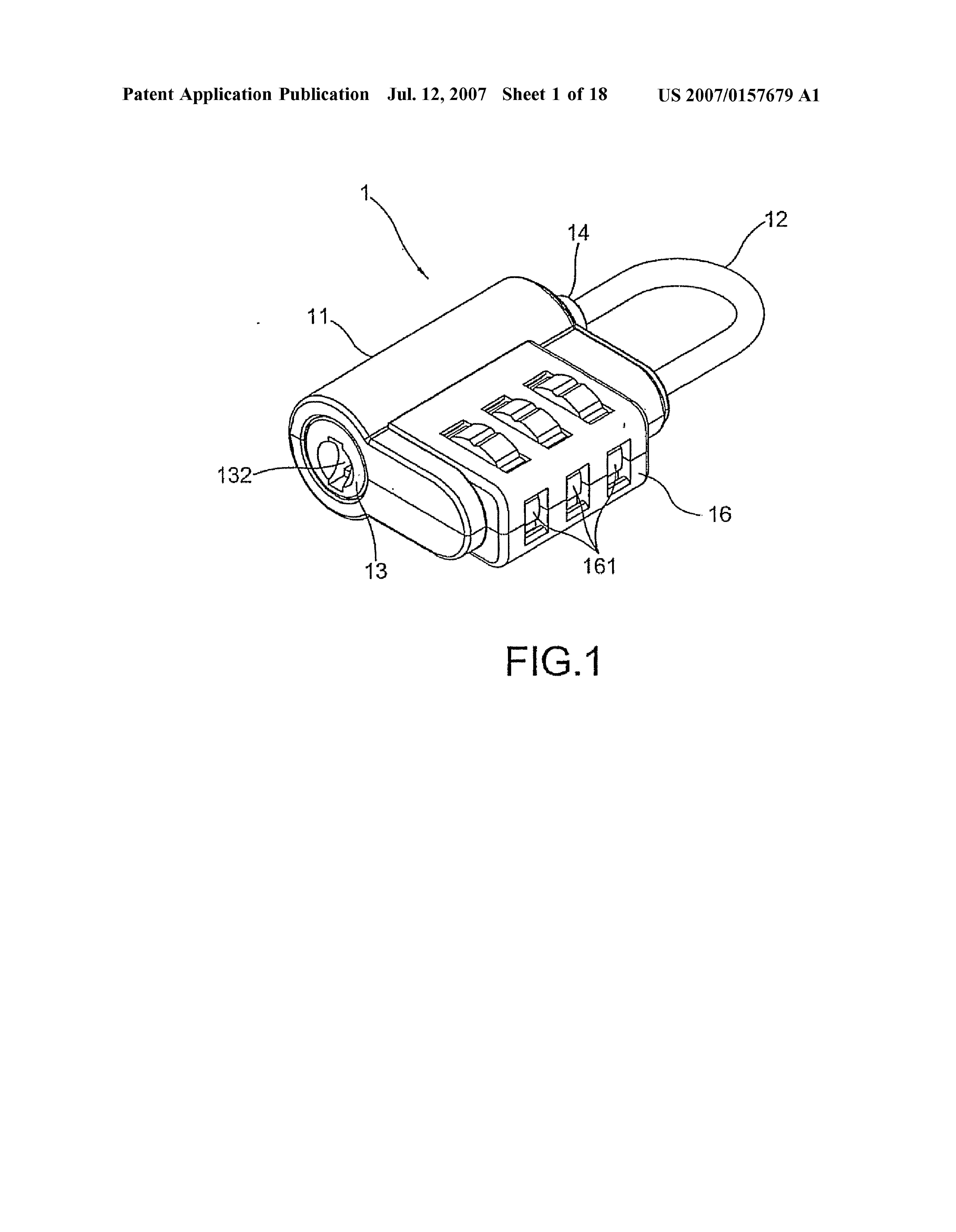
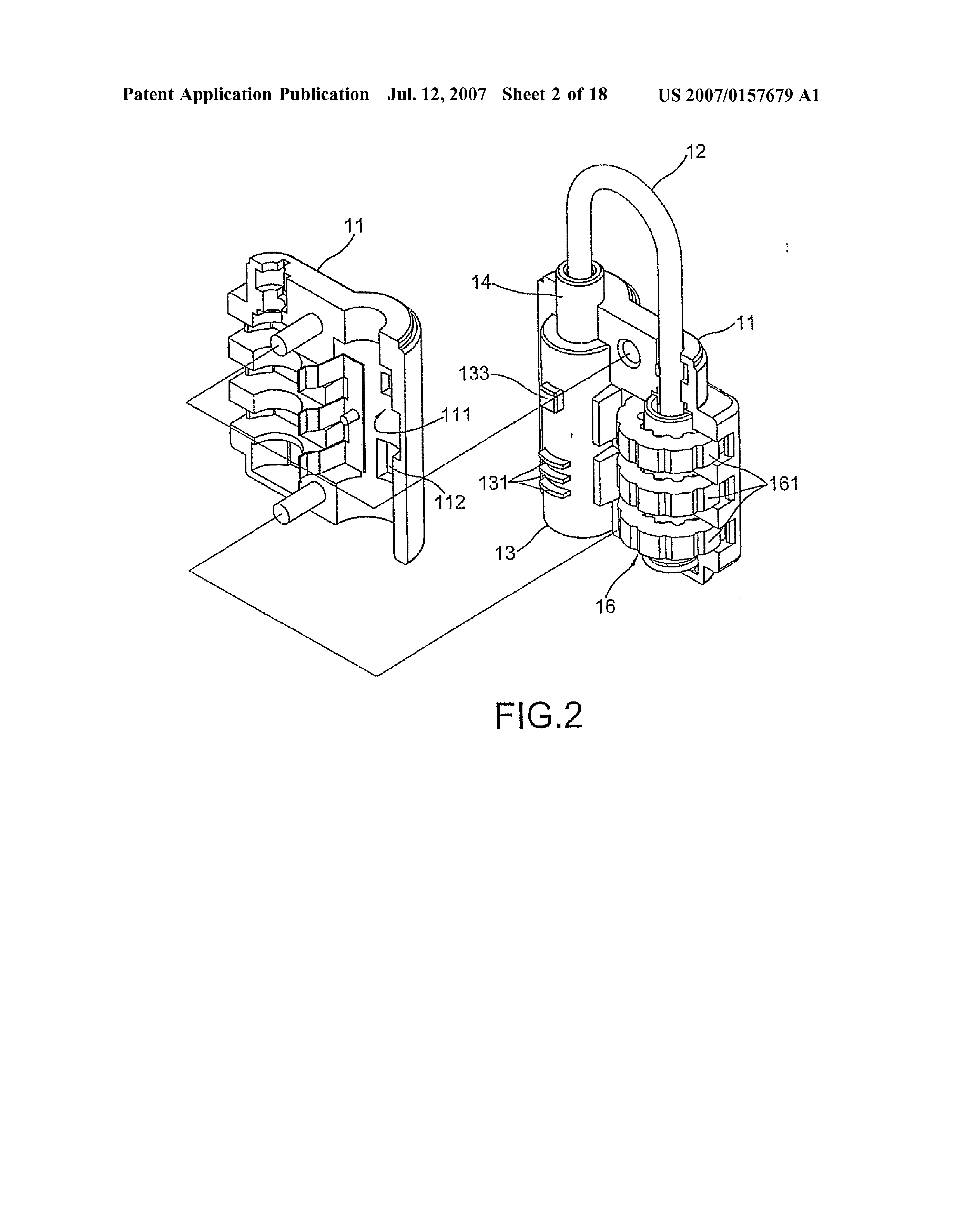
Padlock Patent — Keyed
Patent 20070157679
Inventor:
Renny Ling
View on USPTO / Google Patents ↗
Patent #
20070157679
Issue Date
2007-03-19
Inventor
Renny Ling
Assigned To
Sinox Co Ltd
Type
Keyed
Patent Drawings
Drawing 1
Drawing 2
Drawing 3
Patent Details
Patent Number
20070157679
Issue Date
2007-03-19
Inventor
Renny Ling
Assigned To
Sinox Co Ltd
Patent Type
Keyed
External Link
https://patents.google.com/patent/US20070157679/en ↗
← 20070204664
↑ Back to Patent Database
20070204664 →