Est. March 2001 ·
10,247
Listings on File
Antique Padlocks
A Virtual Repository · James Brady
Home
›
Patent Database
›
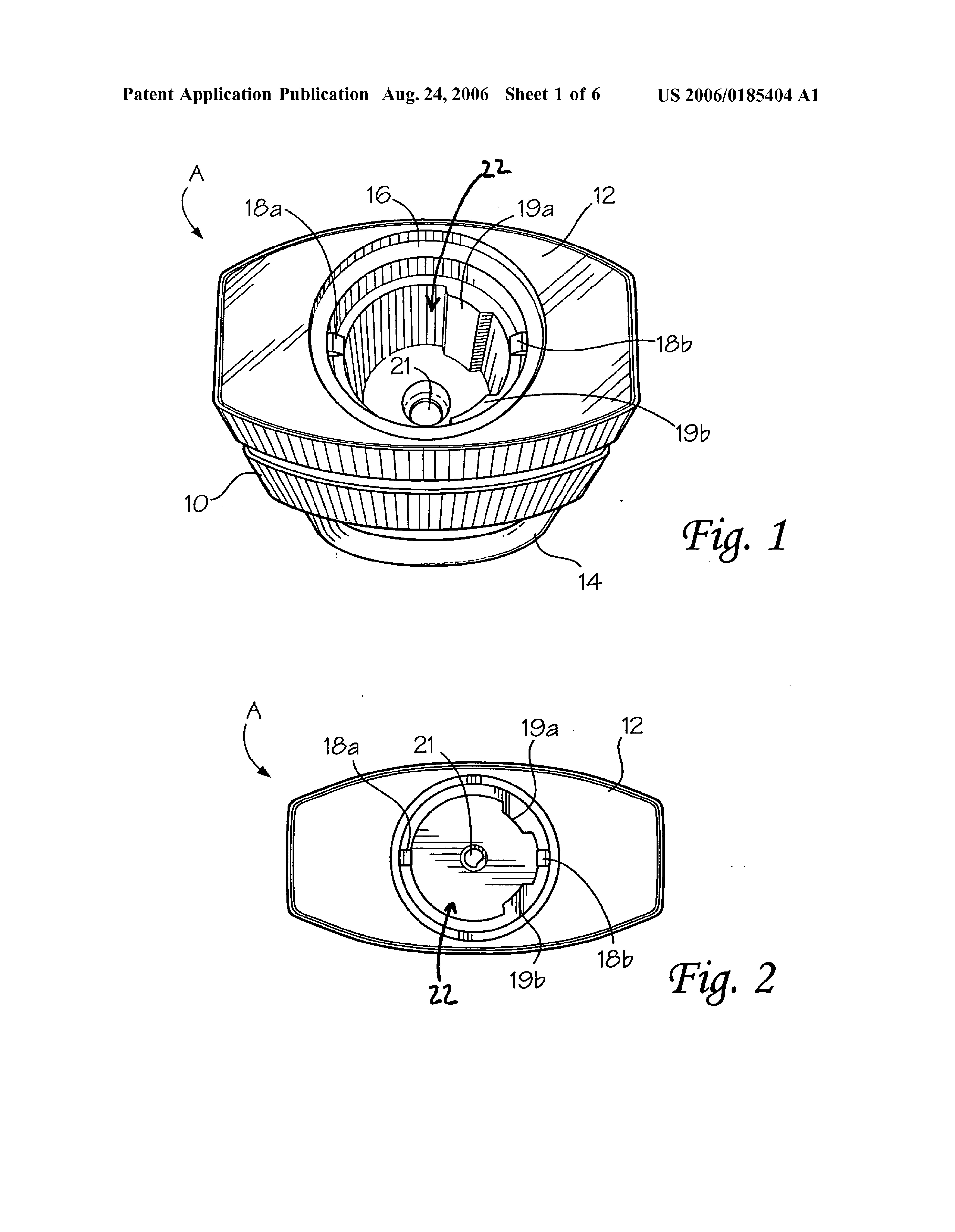
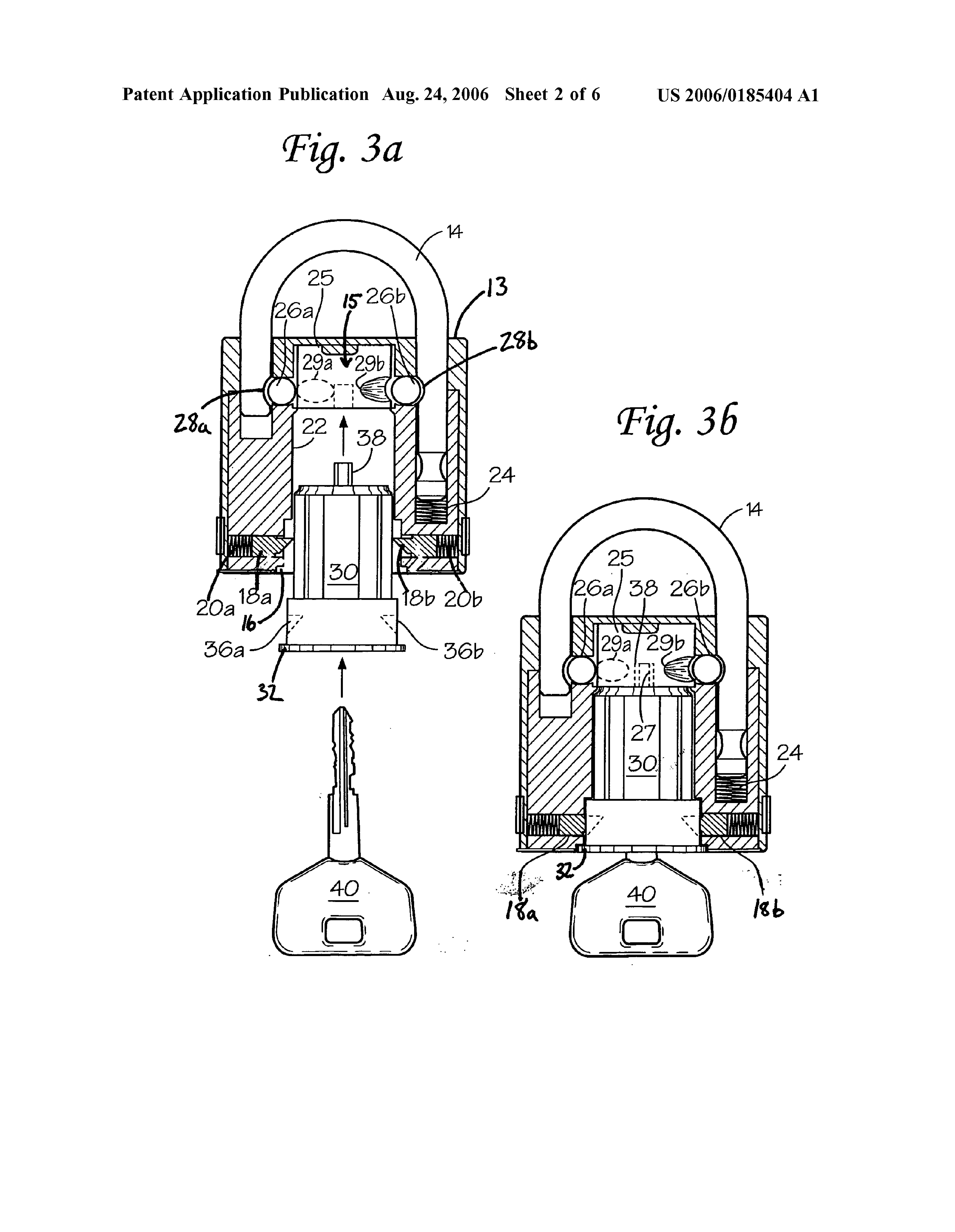
Patent 20060185404
Padlock Patent — Keyed
Patent 20060185404
Inventor:
Randall Hansen
View on USPTO / Google Patents ↗
Patent #
20060185404
Issue Date
2006-02-17
Inventor
Randall Hansen
Assigned To
HANSEN INTERNATIONAL
Type
Keyed
Patent Drawings
Drawing 1
Drawing 2
Drawing 3
Patent Details
Patent Number
20060185404
Issue Date
2006-02-17
Inventor
Randall Hansen
Assigned To
HANSEN INTERNATIONAL
Patent Type
Keyed
External Link
https://patents.google.com/patent/US20060185404/en ↗
← 20060218979
↑ Back to Patent Database
20060218979 →