Est. March 2001 ·
10,247
Listings on File
Antique Padlocks
A Virtual Repository · James Brady
Home
›
Patent Database
›
Patent 20060027000
Padlock Patent — Keyed
Patent 20060027000
Inventor:
Chun Yu
View on USPTO / Google Patents ↗
Patent #
20060027000
Issue Date
2005-10-11
Inventor
Chun Yu
Type
Keyed
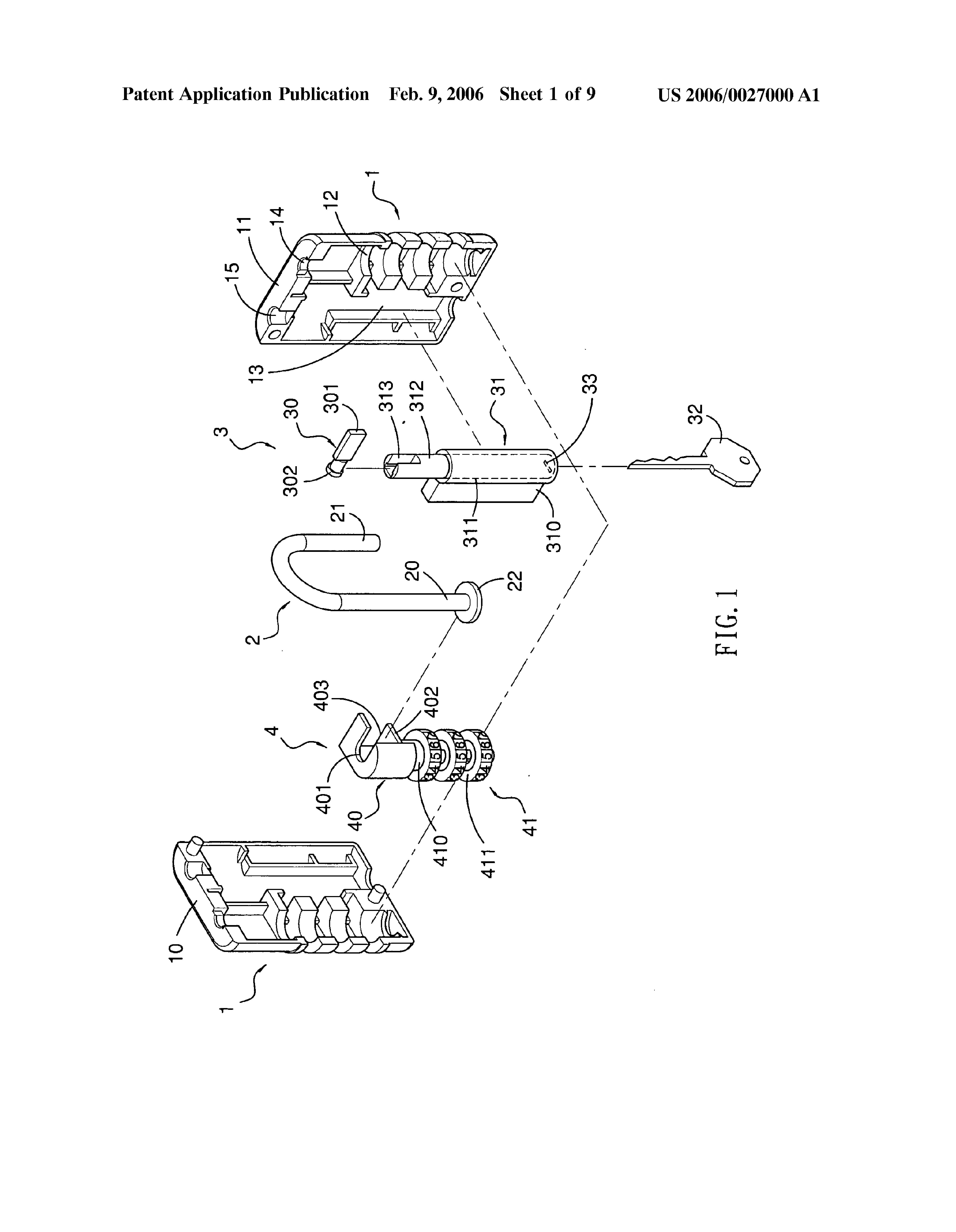
Patent Drawings
Drawing 1
Drawing 2
Drawing 3
Patent Details
Patent Number
20060027000
Issue Date
2005-10-11
Inventor
Chun Yu
Patent Type
Keyed
External Link
https://patents.google.com/patent/US20060027000/en ↗
← 20060005586
↑ Back to Patent Database
20060005586 →