Est. March 2001 ·
10,246
Listings on File
Antique Padlocks
A Virtual Repository · James Brady
Home
›
Patent Database
›
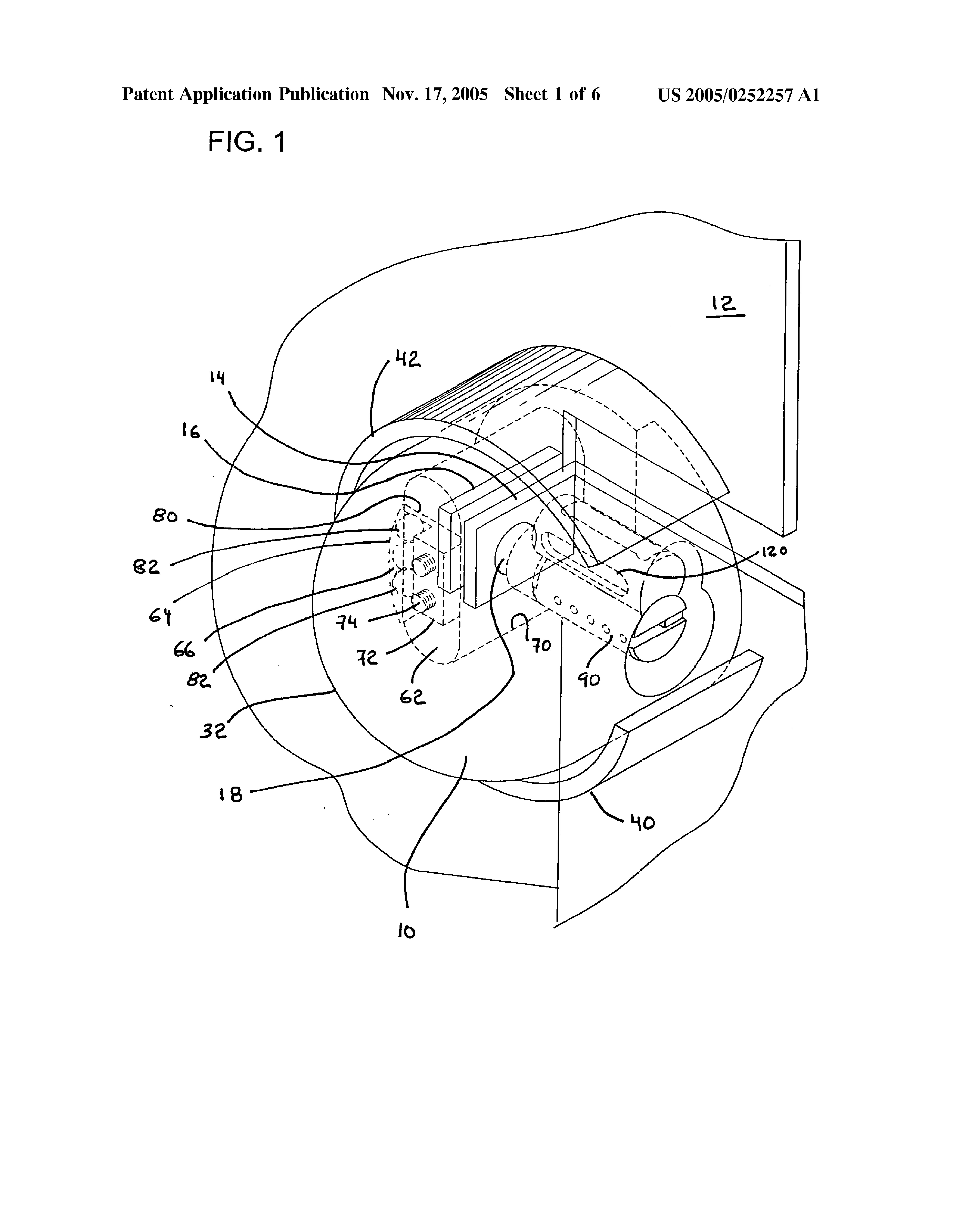
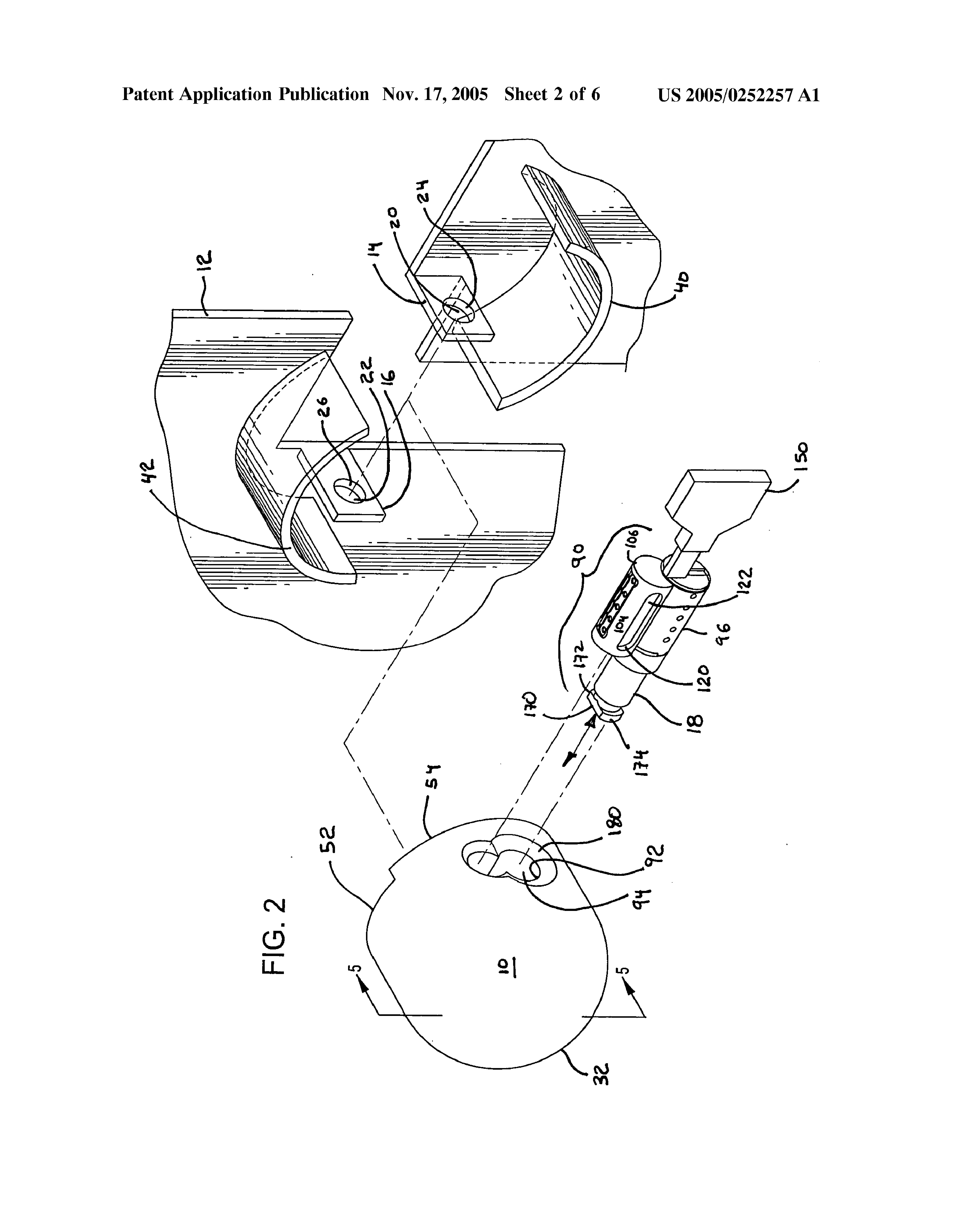
Patent 20050252257
Padlock Patent — Keyed
Patent 20050252257
Inventor:
Derek Woods
View on USPTO / Google Patents ↗
Patent #
20050252257
Issue Date
2005-05-12
Inventor
Derek Woods
Type
Keyed
Patent Drawings
Drawing 1
Drawing 2
Drawing 3
Patent Details
Patent Number
20050252257
Issue Date
2005-05-12
Inventor
Derek Woods
Patent Type
Keyed
External Link
https://patents.google.com/patent/US20050252257/en ↗
← 20050262902
↑ Back to Patent Database
20050262902 →