Est. March 2001 ·
10,246
Listings on File
Antique Padlocks
A Virtual Repository · James Brady
Home
›
Patent Database
›
Patent 20040194516
Padlock Patent — Keyed
Patent 20040194516
Inventor:
Waterson Chen
View on USPTO / Google Patents ↗
Patent #
20040194516
Issue Date
2003-06-27
Inventor
Waterson Chen
Assigned To
Waterson Corp
Type
Keyed
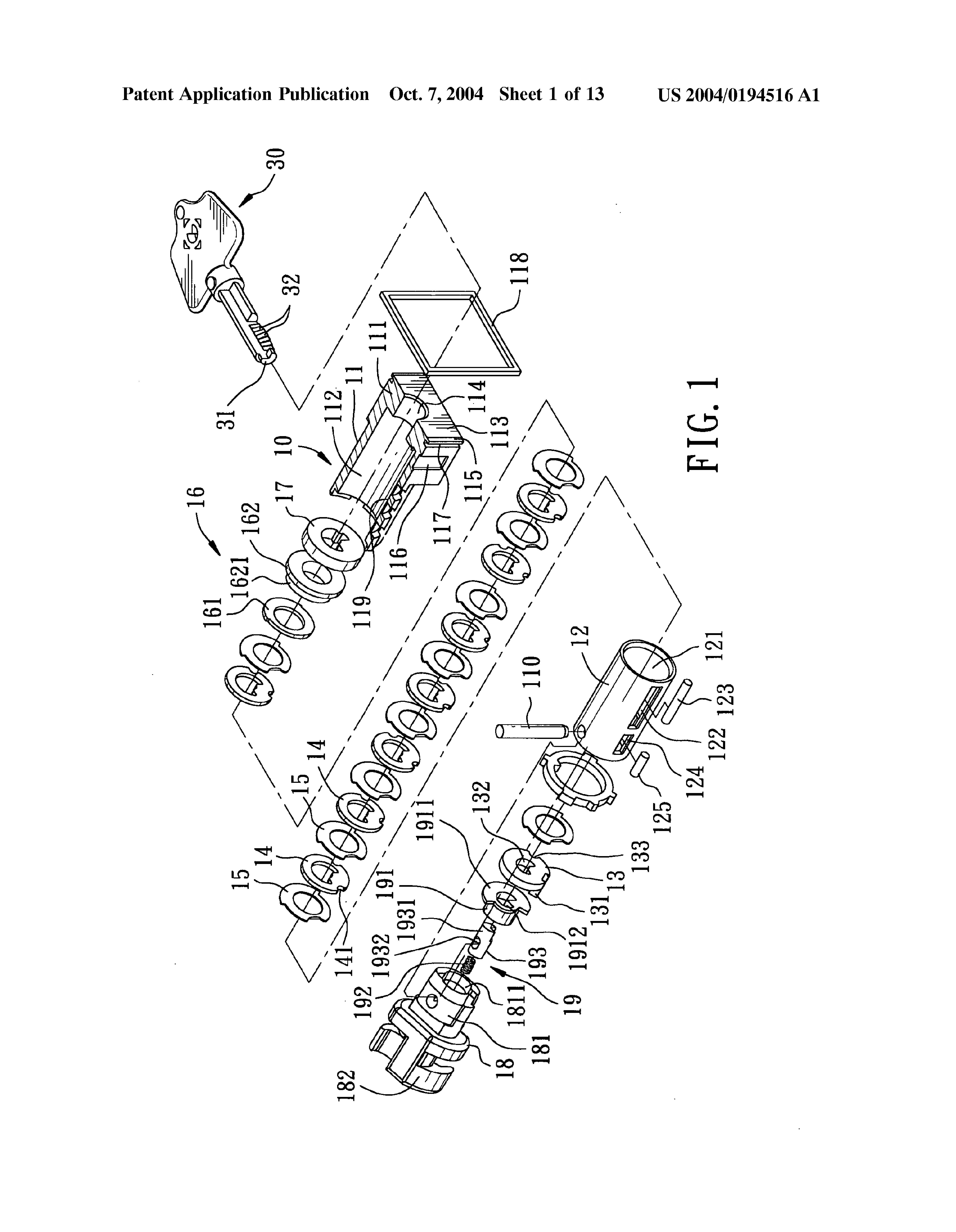
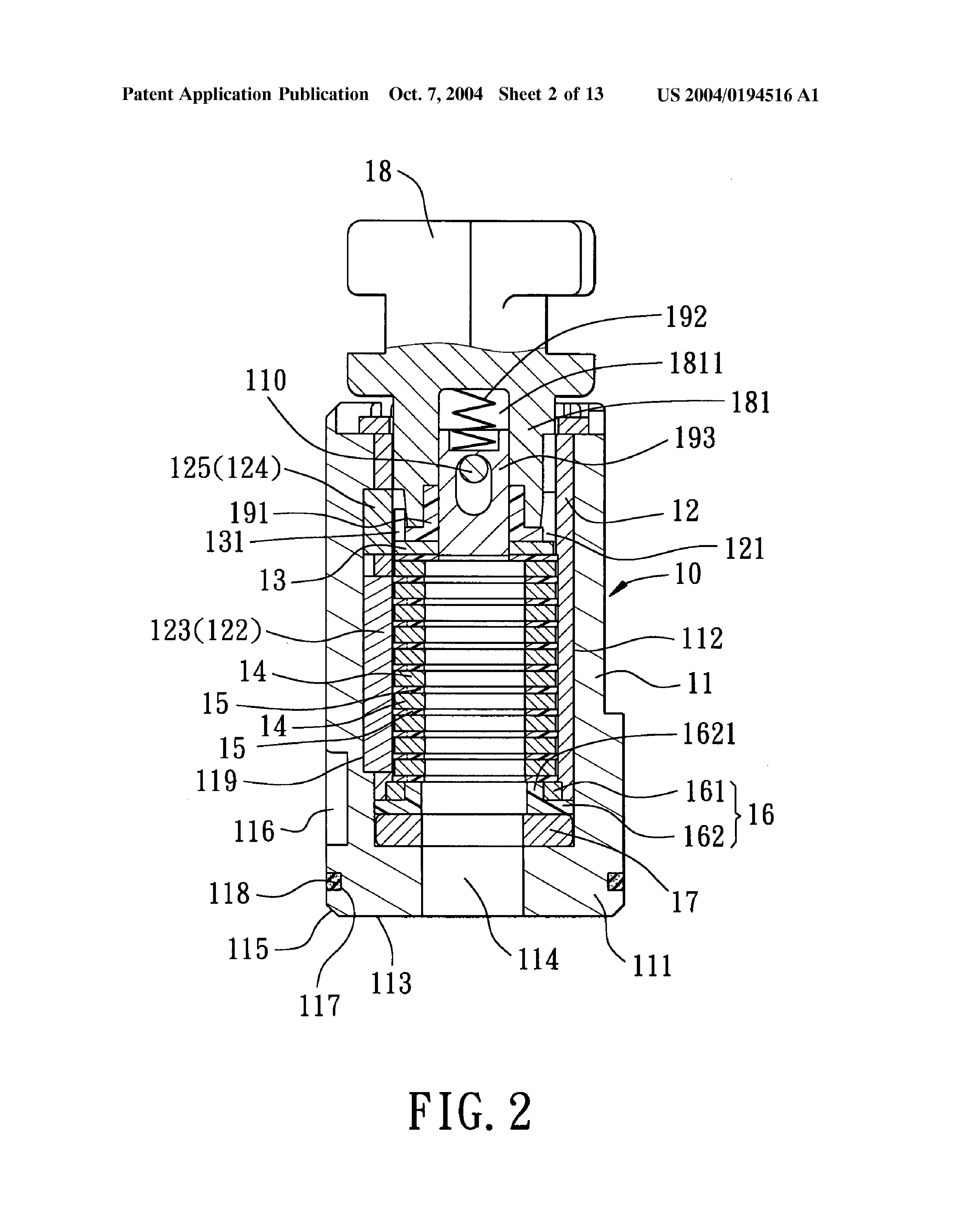
Patent Drawings
Drawing 1
Drawing 2
Drawing 3
Patent Details
Patent Number
20040194516
Issue Date
2003-06-27
Inventor
Waterson Chen
Assigned To
Waterson Corp
Patent Type
Keyed
External Link
https://patents.google.com/patent/US20040194516/en ↗
← 20040211232
↑ Back to Patent Database
20040211232 →