Est. March 2001  ·  10,246 Listings on File

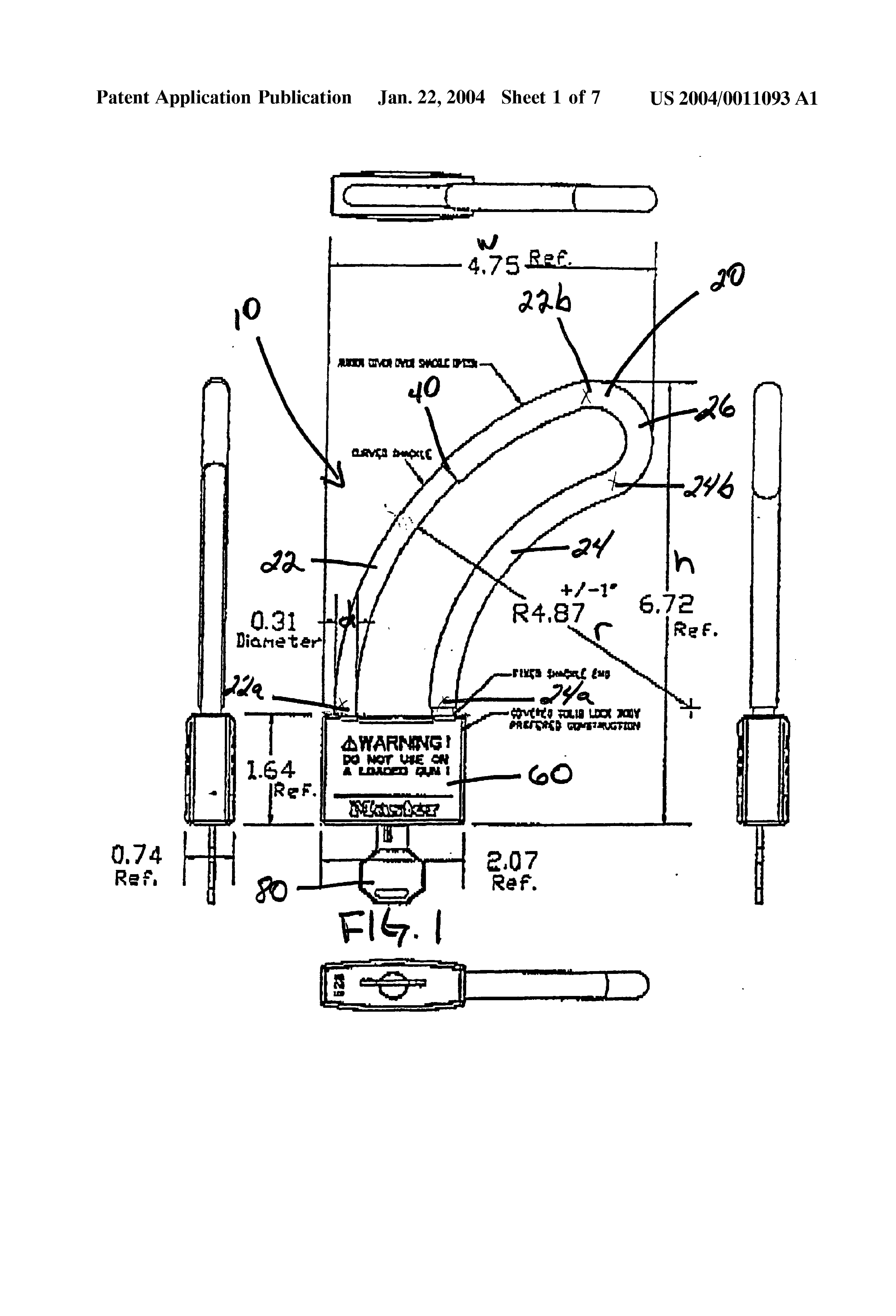
Padlock Patent — Keyed

Patent 20040011093

Inventor: Steven Fantl

View on USPTO / Google Patents ↗
Patent # 20040011093
Issue Date 2002-11-08
Inventor Steven Fantl
Assigned To Master Lock Co LLC
Type Keyed

Patent Drawings

Patent Details

Patent Number 20040011093
Issue Date 2002-11-08
Inventor Steven Fantl
Assigned To Master Lock Co LLC
Patent Type Keyed
External Link https://patents.google.com/patent/US20040011093/en ↗
↑ Back to Patent Database